GM Service Manual Online
For 1990-2009 cars only

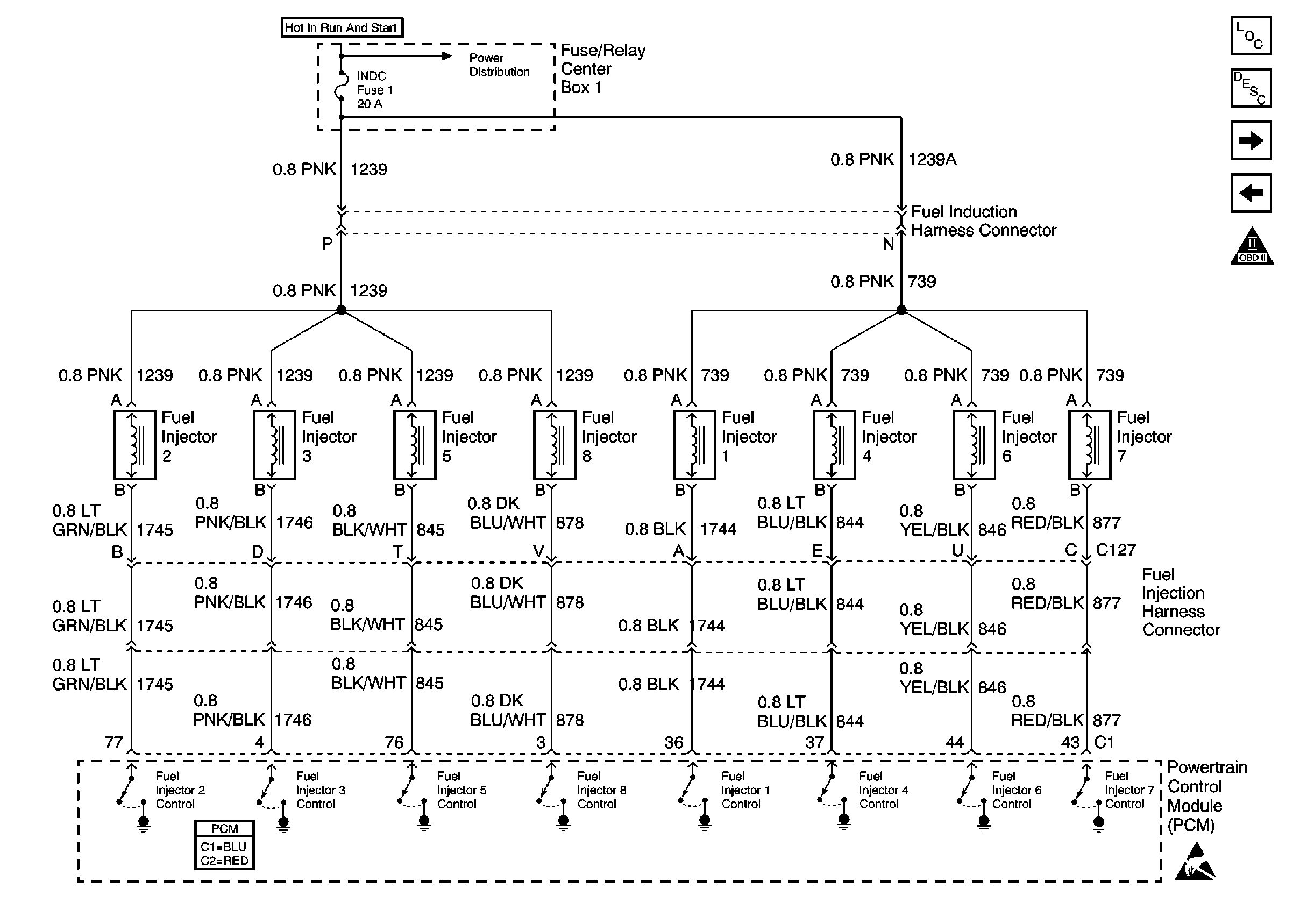
Fuel Injectors

Fuel Injectors


Object Number: 626127  Size: FS
Engine Controls Components
Fuel Metering System Component Description
Heated Oxygen Sensors
Information Sensors
OBD II Symbol Description Notice
Powertrain Control Module Connector End Views
Handling ESD Sensitive Parts Notice