GM Service Manual Online
For 1990-2009 cars only
Makes
🢒
Pontiac
🢒
2005
🢒
Aztek - FWD
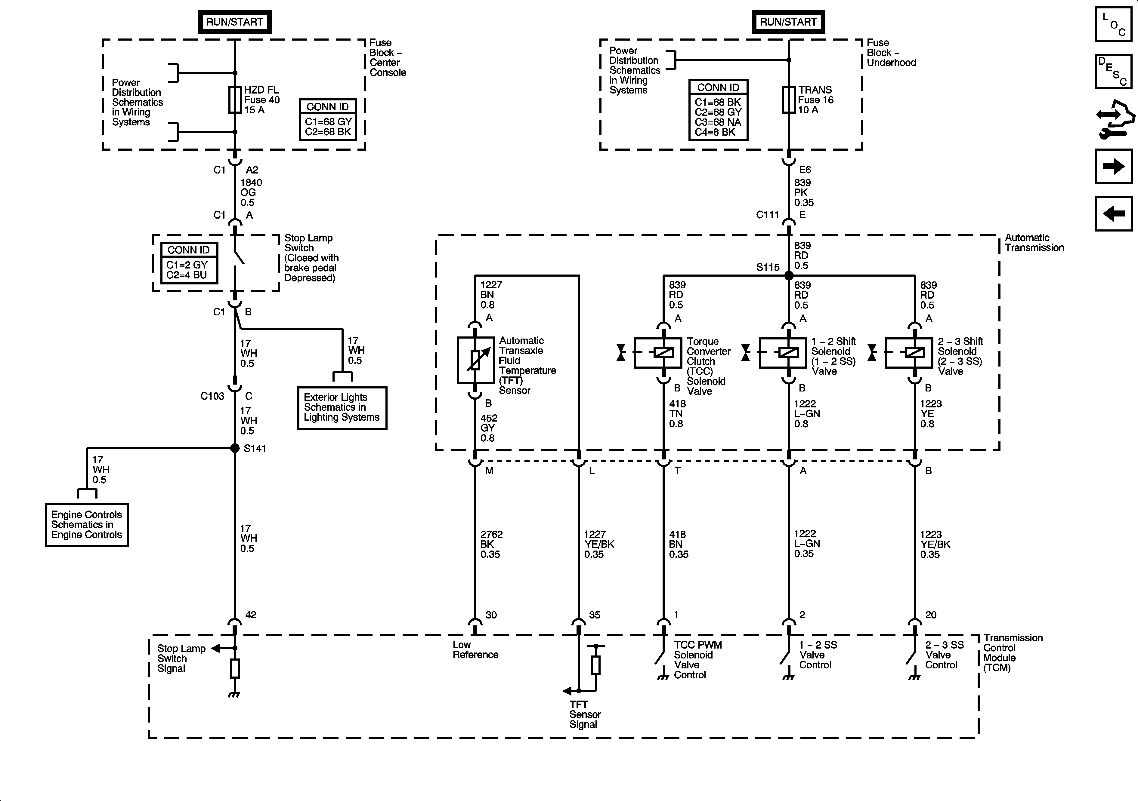
🢒 Stop Lamp Switch, TFT Sensor, TCC Valve and Shift Solenoids - 3.6L
Stop Lamp Switch, TFT Sensor, TCC Valve and Shift Solenoids - 3.6L
Stop Lamp Switch, Trans Fluid Temperature Sensor, TCC Valve and Shift Solenoids (LY7)
Master Electrical Component List
Electronic Component Description
Control Module References
Pressure Control Soleniod, TCC Release Switch, Input Shaft Speed Sensor and Vehicle Speed Sensor - 3.6L
TCM Power, Grounds and Serial Data - 3.6L
BATT 1, BCML, HUD, HZD FL, INKEY, IP MDL, RADIO, and RD AMP Fuses
ABS, AWD, ECM IGN1, TRANS Fuses and IGNITION Relay - 3.6L
Turn Signal/Hazard Control
Controlled/Monitored Subsystem References