GM Service Manual Online
For 1990-2009 cars only
Makes
🢒
Pontiac
🢒
2000
🢒
Bonneville
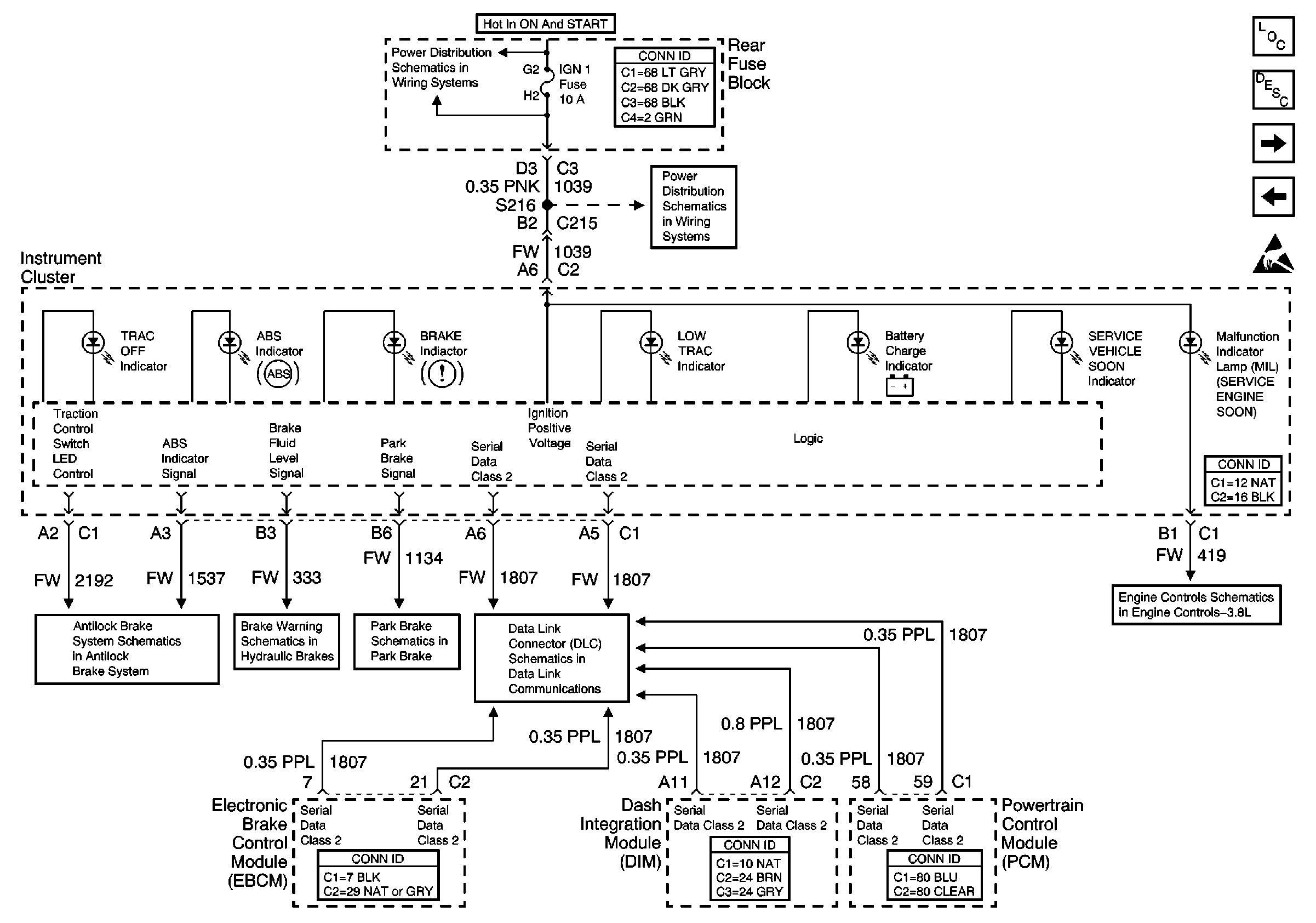
🢒 Battery, Brake, Service Vehicle Soon, and TRAC OFF Indicators
Battery, Brake, Service Vehicle Soon, and TRAC OFF Indicators
Battery, Brake, Service Vehicle Soon, and TRAC OFF Indicators
Instrument Cluster and HUD Components
Instrument Cluster Circuit Description
Air Bag, Fasten Safety Belt, Lighting, and Security Indicators
Engine Oil Pressure, Boost, and Volt Gauges
Handling ESD Sensitive Parts Notice
IGN 1, VENT SOL, and SIR Fuses (Rear Fuse Block)
IGN 1, VENT SOL, and SIR Fuses (Rear Fuse Block)
Indicators and Traction Control Switch
Park Brake Switch and Brake Fluid Level Sensor
Serial Data Class 2
MIL and Data Link Connector