GM Service Manual Online
For 1990-2009 cars only
Makes
🢒
Pontiac
🢒
1985
🢒
Demonstrator
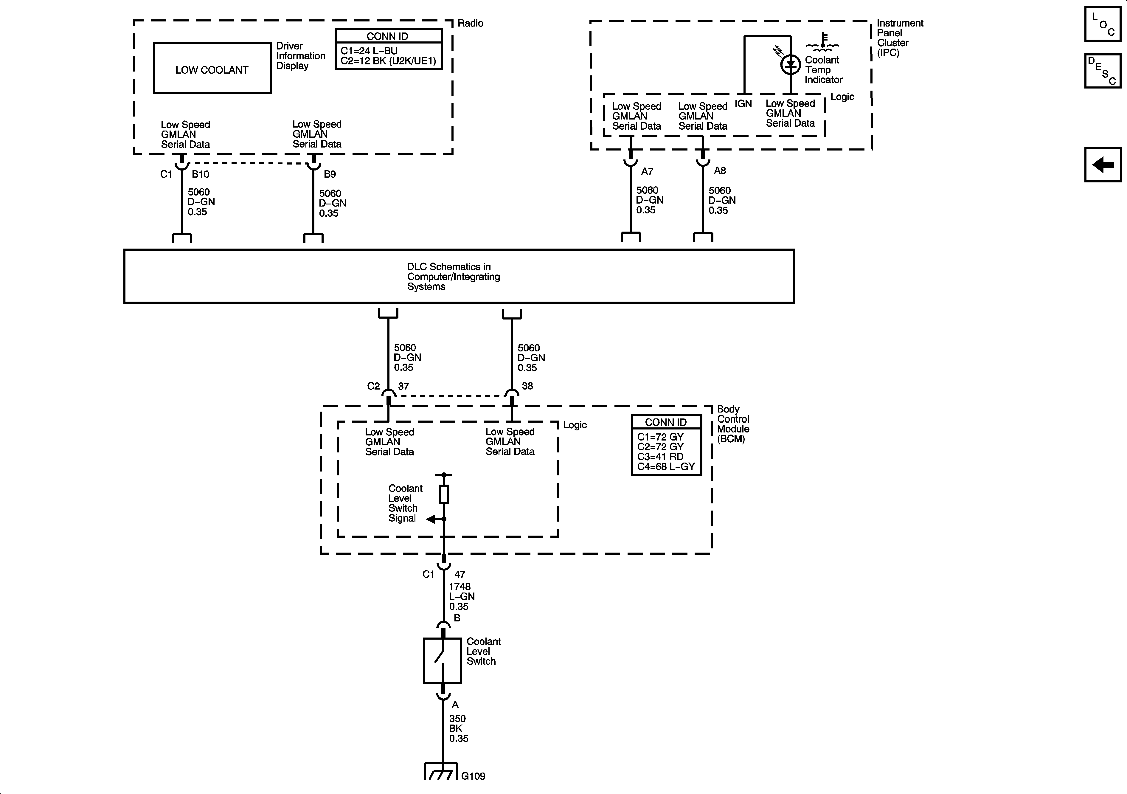
🢒 Engine Coolant Indicator
Engine Coolant Indicator
Engine Coolant Indicator
Master Electrical Component List
Cooling System Description and Operation
Engine Cooling Fans
Low Speed Serial Data
G109