GM Service Manual Online
For 1990-2009 cars only

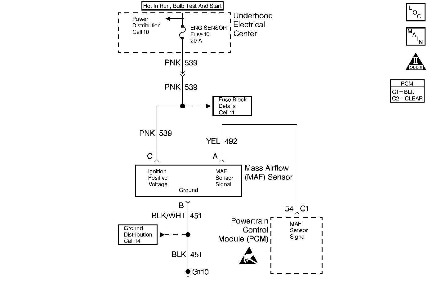
Object Number: 31591  Size: MF
MAF Sensor, EVAP System, EGR Valve
Engine Controls Components
OBD II Symbol Description Notice
Handling ESD Sensitive Parts Notice

Circuit Description

The mass air flow (MAF) sensor measures the amount of air which passes through it into the engine during a given time. The PCM uses the mass air flow information to monitor engine operating conditions for fuel delivery calculations. A large quantity of air entering the engine indicates an acceleration or high load situation, while a small quantity of air indicates deceleration or idle. The MAF sensor produces a frequency signal which can be monitored using a scan tool. The frequency will vary within a range of around 2000 Hertz at idle to about 10,000 Hertz at maximum engine load. DTC P0103 will be set if the signal frequency from the MAF sensor is higher than the possible range of a normally operating MAF sensor.

Conditions for Setting the DTC

    • The engine is running.
    • TP angle is less than 50%.
    • System voltage is greater than 8 volts.
    • MAF signal frequency is greater than 11,500 Hertz.
    • Above conditions present for longer than 0.5 seconds + 100 3X reference periods (33 crankshaft revolutions).

Action Taken When the DTC Sets

    • The PCM will illuminate the malfunction indicator lamp (MIL) during the first trip in which the diagnostic test has been run and failed.
    • The PCM will store conditions which were present when the DTC set as Freeze Frame and Failure Records data.

Conditions for Clearing the MIL/DTC

    • The PCM will turn OFF the MIL during the third consecutive trip in which the diagnostic has been run and passed.
    • The History DTC will clear after 40 consecutive warm-up cycles have occurred without a malfunction.
    • The DTC can be cleared by using the scan tool.

Diagnostic Aids

Check for the following conditions:

    • Poor connection at the PCM - Inspect harness connectors for backed out terminals, improper mating, broken locks, improperly formed or damaged terminals, and poor terminal to wire connection.
    • Misrouted harness - Inspect the MAF sensor harness to ensure that it is not routed too close to high voltage wires such as spark plug leads.
    • Damaged harness - Inspect the wiring harness for damage.
    • If the harness appears to be OK, observe the scan tool while moving connectors and wiring harnesses related to the MAF sensor. A change in the display will indicate the location of the fault.

If DTC P0103 cannot be duplicated, the information included in the Fail Records data can be useful in determining vehicle mileage since the DTC was last set.

Test Description

Number(s) below refer to the Step number(s) on the Diagnostic Table:

  1. This step verifies if the problem is present at idle.

  2. A frequency reading with the MAF sensor connector disconnected indicates an Electromagnetic Interference (EMI) related fault or a poor connection.

  3. This vehicle is equipped with a PCM which utilizes an Electrically Erasable Programmable Read Only Memory (EEPROM). When the PCM is being replaced, the new PCM must be programmed.

Step

Action

Value(s)

Yes

No

1

Was the Powertrain On-Board Diagnostic (OBD) System Check performed?

--

Go to Step 2

Go to the Powertrain On Board Diagnostic (OBD) System Check

2

  1. Start engine.
  2. With the engine idling, monitor MAF Frequency display on the scan tool.

Is MAF Frequency greater than the specified value?

11,500 Hz (11.5 kHz)

Go to Step 4

Go to Step 3

3

  1. Review and record scan tool Fail Records data.
  2. Operate the vehicle within Fail Records conditions as noted.
  3. Using a scan tool, monitor Specific DTC info for DTC P0103.

Does the scan tool indicate DTC P0103 failed this ignition?

--

Go to Step 4

Go to Diagnostic Aids

4

  1. Turn OFF the ignition switch.
  2. Disconnect the MAF sensor connector.
  3. Start the engine.
  4. Using a scan tool, monitor MAF Frequency.

Does scan tool indicate a MAF Frequency at the specified value?

0 Hz

Go to Step 5

Go to Step 7

5

  1. Check for a poor connection at the MAF sensor harness terminals.
  2. If a poor connection is found, replace faulty terminal(s). Refer to Repair Procedures in Electrical Diagnosis.

Was a poor connection found?

--

Go to Step 10

Go to Step 6

6

Replace the MAF sensor. Refer to Mass Airflow Sensor Replacement .

Is the action complete?

--

Go to Step 10

--

7

  1. Check MAF harness for incorrect routing.
  2. • Near secondary ignition wires or coils.
    • Near other high voltage components (solenoids, relays, motors).
  3. If incorrect routing is found, correct harness routing.

Was a problem found?

--

Go to Step 10

Go to Step 8

8

  1. Check the MAF signal circuit terminal connections at the PCM.
  2. If a poor connection is found, replace faulty terminal(s). Refer to Repair Procedures in Electrical Diagnosis.

Was a poor connection found?

--

Go to Step 10

Go to Step 9

9

Replace the PCM.

Important:: Replacement PCM must be programmed. Refer to Powertrain Control Module Replacement/Programming .

Is the action complete?

--

Go to Step 10

--

10

  1. Turn ON the ignition switch, review and record scan tool Fail Records data.
  2. Clear DTCs.
  3. Operate the vehicle within Fail Records conditions as noted.
  4. Using a scan tool, monitor Specific DTC info for DTC P0103.

Does the scan tool indicate DTC P0103 failed this ignition?

--

Go to Step 2

System OK