GM Service Manual Online
For 1990-2009 cars only

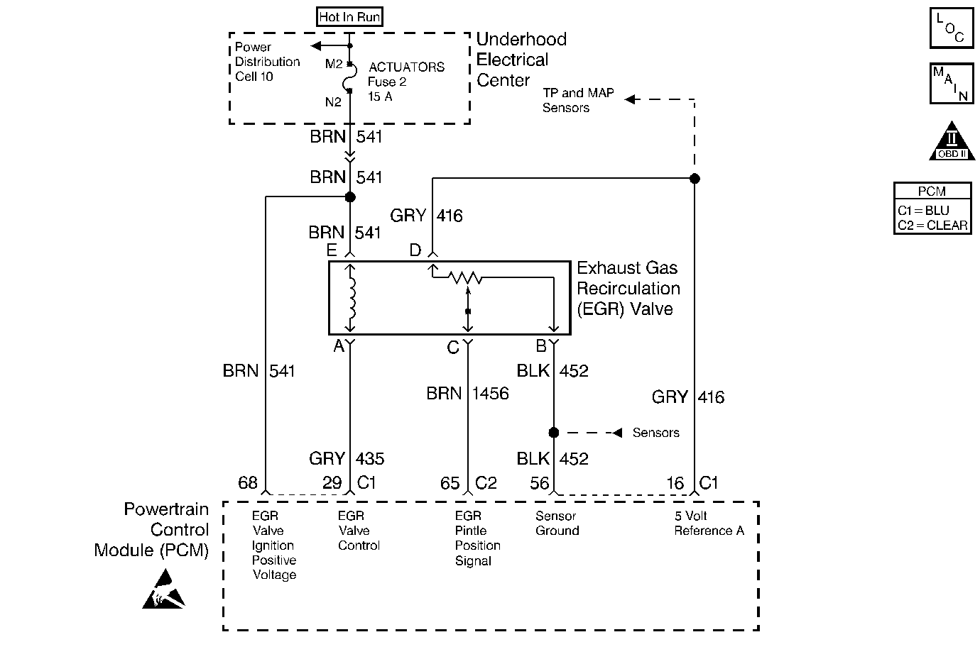
Object Number: 31565  Size: MF
Engine Controls Components
MAF Sensor, EVAP System, EGR Valve
OBD II Symbol Description Notice
Handling ESD Sensitive Parts Notice

Circuit Description

The PCM monitors the EGR valve pintle position input to ensure that the valve responds properly to commands from the PCM and to detect a malfunction if the pintle position sensor and control circuits are open or shorted. If the PCM detects a pintle position signal voltage outside the normal range of the pintle position sensor, or a signal voltage that is not within a tolerance considered acceptable for proper EGR system operation, the PCM will set DTC P1406.

Conditions for Setting the DTC

    • EGR Feedback is less than 0.14 volt at any time.

OR

    • EGR Feedback is 0.4 volt greater or less than the EGR Closed Valve Pintle Position when the Desired EGR Pos is commanded to 0%.

OR

    • Actual EGR Pos is 10% greater or less than the Desired EGR Pos.
    • Any of the above conditions present for longer than 20 seconds.

Action Taken When the DTC Sets

    • The PCM will illuminate the MIL during the second consecutive trip in which the diagnostic test has been run and failed.
    • The PCM will store conditions which were present when the DTC set as Freeze Frame and Fail Records data.

Conditions for Clearing the MIL/DTC

    • The PCM will turn the MIL OFF during the third consecutive trip in which the diagnostic has been run and passed.
    • The history DTC will clear after 40 consecutive warm-up cycles have occurred without a malfunction.
    • The DTC can be cleared by using the scan tool Clear Information function or by disconnecting the PCM battery feed.

Diagnostic Aids

Check for the following conditions:

    • Open EGR Valve ignition positive voltage circuit.
        An open in the EGR Valve ignition positive voltage circuit will cause EGR Pos. Error to be erratic while the EGR valve is operating. With the ignition ON, a test light should illuminate when connected between ground and the EGR ignition positive voltage circuit at the PCM connector. If not, locate and repair the open in the EGR ignition positive voltage circuit.
    • Excessive deposits on EGR valve pintle or seat.
        Check for deposits that may interfere with the EGR valve pintle extending completely or cause the pintle to stick.
    • Poor connection or damaged harness.
        Inspect the wiring harness for damage. If the harness appears to be OK, observe the EGR actual position display on the scan tool while moving connectors and wiring harnesses related to the EGR valve. A change in the display will indicate the location of the malfunction.
    • EGR valve icing.
        An EGR valve that sticks due to icing can cause DTC P1406 to be set. If DTC P1406 sets during extreme cold ambient conditions and the DTC P1406 diagnostic table does not isolate the cause of the malfunction, EGR valve icing is very likely the cause. The EGR valve should start operating normally once the engine has reached operating temperature.

Reviewing the Fail Records vehicle mileage since the diagnostic test last failed may help determine how often the condition that caused the DTC to be set occurs. This may assist in diagnosing the condition.

Test Description

Number(s) below refer to the step number(s) on the Diagnostic Table:

  1. This step verifies that the fault is present.

  2. This step also verifies that the fault is present.

  3. The PCM contains a recirculation diode which filters the EGR ignition feed for the EGR valve. The recirculation diode is connected to the ignition filter (EGR ignition feed) circuit. If the ignition filter circuit is open, EGR actual position may be erratic when compared to EGR desired position. An open in the EGR ignition filter circuit will cause DTC P1406 to be set after an extended period of time.

  4. If DTC P1406 will only set under certain conditions, the fault may be intermittent; refer to DTC P1406 Diagnostic Aids. If an intermittent wiring problem is not present, check for a faulty connection at the PCM or the EGR valve. If the connections are OK and DTC P1406 continues to set, replace the EGR valve. Go to Exhaust Gas Recirculation Valve Replacement .

  5. This vehicle is equipped with a PCM which utilizes an Electrically Erasable Programmable Read Only Memory (EEPROM). When the PCM is being replaced, the new PCM must be programmed.

Step

Action

Value(s)

Yes

No

1

Was the Powertrain On-Board Diagnostic (OBD) System Check performed?

--

Go to Step 2

Go to the Powertrain On Board Diagnostic (OBD) System Check

2

With the engine idling, observe the EGR Actual Pos. display on the scan tool EGR data list.

Is EGR Actual Pos. at the specified value?

0%

Go to Step 3

Go to Step 11

3

  1. Ignition ON, engine not running.
  2. Select the scan tool Misc. Tests, EGR Control function.
  3. Increment the EGR valve through the 10% through 100% positions while comparing EGR Desired Pos. to EGR Actual Pos.

Does EGR Desired Pos. remain close to EGR Actual Pos. at all commanded positions?

--

Go to Step 4

Go to Step 6

4

  1. Turn OFF the ignition switch.
  2. Disconnect the PCM harness connectors.
  3. Turn ON the ignition switch.
  4. Probe the EGR ignition positive voltage circuit at the PCM connector with a J 35616-200 Unpowered Test Light connected to ground.

Is the test light ON?

--

Go to Step 5

Go to Step 33

5

  1. Turn OFF the ignition switch.
  2. Connect the PCM harness connectors.
  3. Turn ON the ignition switch.
  4. Review and record scan tool Fail Records data.
  5. Operate the vehicle within Fail Records conditions as noted.
  6. Using a scan tool, monitor Specific DTC info for DTC P1406 until the DTC P1406 test runs.

Does the scan tool indicate DTC P1406 failed this ignition?

--

Go to Step 22

Refer to Diagnostic Aids

6

  1. Disconnect the EGR valve electrical connector.
  2. Connect a J 39200 Digital Multimeter to measure voltage between the EGR valve ignition feed circuit and the EGR control circuit at the EGR valve harness connector.
  3. Command the EGR to the 100% position with the scan tool while observing the voltage reading on the digital multimeter.

Does the voltage measure near the specified value with the commanded EGR position at 100%?

B+

Go to Step 17

Go to Step 7

7

Probe the EGR valve ignition feed circuit with the test light to ground.

Is the test light ON?

--

Go to Step 9

Go to Step 8

8

  1. Check the fuse for the EGR valve ignition feed circuit.
  2. If the fuse is open, locate and repair the short to ground in the ignition feed circuit. Refer to Fuse Block Details in Electrical Diagnosis .

Was the fuse open?

--

Go to Step 34

Go to Step 24

9

  1. Turn OFF the ignition switch.
  2. Disconnect the PCM.
  3. Check the EGR control circuit for an open or a short to voltage.
  4. If the EGR control circuit is open, repair it as necessary. Refer to Wiring Repairs in Electrical Diagnosis .

Was the problem found?

--

Go to Step 34

Go to Step 10

10

  1. Check the EGR control circuit for a faulty terminal connection at the PCM.
  2. If a problem is found, replace terminal. Refer to Wiring Repairs in Electrical Diagnosis .

Was a problem found?

--

Go to Step 34

Go to Step 32

11

  1. Disconnect the EGR valve electrical connector.
  2. Observe the EGR Actual Pos. value on the scan tool.

Is EGR Actual Pos. at the specified value?

0%

Go to Step 13

Go to Step 12

12

  1. Turn OFF the ignition switch.
  2. Disconnect the PCM.
  3. Turn ON the ignition switch.
  4. Measure voltage between the EGR pintle position circuit and ground.

Is the measured voltage near the specified value?

0V

Go to Step 31

Go to Step 26

13

Probe the sensor ground circuit at the EGR valve harness connector with the test light to B+.

Is the test light ON?

--

Go to Step 15

Go to Step 14

14

  1. Check the sensor ground circuit for a poor terminal connection at the PCM or for an open sensor ground circuit between the PCM and the EGR valve.
  2. If a problem is found, repair poor connection or open in sensor ground circuit as necessary. Refer to Wiring Repairs in Electrical Diagnosis .

Was a problem found?

--

Go to Step 34

Go to Step 32

15

Probe the EGR control circuit at the EGR valve connector with the test light to B+.

Is the test light ON?

--

Go to Step 16

Go to Step 22

16

  1. Turn OFF the ignition switch.
  2. Disconnect the PCM.
  3. Turn ON the ignition switch.
  4. Probe the EGR control circuit with a test light to B+.

Is the test light ON?

--

Go to Step 28

Go to Step 30

17

Connect a digital multimeter to measure voltage between the EGR valve sensor ground circuit and the 5 volt reference A circuit at the EGR valve connector.

Is the voltage at the specified value?

5V

Go to Step 18

Go to Step 23

18

Probe the pintle position circuit at the EGR valve harness connector with a test light connected to B+.

Is the test light ON?

--

Go to Step 21

Go to Step 19

19

  1. Connect a jumper between the 5 volt reference A circuit and the pintle position circuit at the EGR valve connector.
  2. Observe Actual EGR Pos. on the scan tool.

Is Actual EGR Pos. at the specified value?

100%

Go to Step 22

Go to Step 20

20

  1. Turn OFF the ignition switch.
  2. Disconnect the PCM.
  3. Check the pintle position circuit for an open or for a poor terminal connection at the PCM.
  4. If a problem is found, repair open in pintle position circuit or replace the faulty PCM terminal(s) as necessary. Refer to Wiring Repair in Electrical Diagnosis .

Was a problem found?

--

Go to Step 34

Go to Step 32

21

  1. Turn OFF the ignition switch.
  2. Disconnect the PCM.
  3. Probe the EGR pintle position circuit with the test light to B+.

Is the test light ON?

--

Go to Step 29

Go to Step 30

22

  1. Check for poor terminal connections at the EGR valve.
  2. If a problem is found, replace faulty terminal(s). Refer to Wiring Repair in Electrical Diagnosis .

Was a problem found?

--

Go to Step 34

Go to Step 27

23

  1. Check for an open or short to ground in the 5 volt reference A circuit.
  2. If a problem is found, repair it as necessary. Refer to Wiring Repairs in Electrical Diagnosis .

Was the 5 volt reference A circuit open or shorted?

--

Go to Step 34

Go to Step 25

24

Locate and repair the open in the ignition feed circuit to the EGR valve. Refer to Wiring Repairs in Electrical Diagnosis .

Is action complete?

--

Go to Step 34

--

25

  1. Check the 5 volt reference A circuit for a poor terminal connection at the PCM.
  2. If a problem is found, replace faulty terminal. Refer to Wiring Repairs in Electrical Diagnosis.

Was the terminal faulty?

--

Go to Step 34

Go to Step 32

26

Locate and repair the short to voltage in the pintle position circuit. Refer to Wiring Repairs in Electrical Diagnosis .

Is action complete?

--

Go to Step 34

--

27

Replace the EGR valve. Refer to Exhaust Gas Recirculation Valve Replacement .

Notice: If the EGR valve shows signs of excessive heat, inspect the exhaust system for blockage--possibly a plugged converter--using the procedure found on the Restricted Exhaust System Check. If the exhaust system is restricted, repair the cause. Inspect for an open injector caused by one or more of the following conditions:

   • Stuck
   • Grounded driver circuit
   • Possible faulty control module
If one of the above conditions is found, inspect the oil for possible fuel contamination.

Is action complete?

--

Go to Step 34

--

28

Locate and repair the short to ground in the EGR control circuit. Refer to Wiring Repairs in Electrical Diagnosis .

Is action complete?

--

Go to Step 34

--

29

Locate and correct the short to ground in the pintle position circuit. Refer to Wiring Repairs in Electrical Diagnosis .

Is action complete?

--

Go to Step 34

--

30

  1. Check the pintle position circuit or EGR control circuit for a short to the sensor ground circuit.
  2. If a problem is found, repair as necessary. Refer to Wiring Repairs in Electrical Diagnosis .

Was a problem found?

--

Go to Step 34

Go to Step 32

31

  1. Check the EGR pintle position signal circuit for a short to the 5 volt reference circuit.
  2. If a problem is found, repair as necessary. Refer to Repair Procedures in Electrical Diagnosis.

Was a problem found?

--

Go to Step 34

Go to Step 32

32

Replace the PCM.

Important:: The replacement PCM must be programmed. Refer to Powertrain Control Module Replacement/Programming .

Is action complete?

--

Go to Step 34

--

33

Locate and repair open in the EGR ignition positive voltage circuit to the PCM. Refer to Wiring Repair in Electrical Diagnosis .

Is action complete?

--

Go to Step 34

--

34

  1. Review and record scan tool Fail Records data.
  2. Clear DTCs.
  3. Operate vehicle within Fail Records conditions as noted.
  4. Using a scan tool, monitor Specific DTC info for DTC P1406 until the DTC runs.

Does the scan tool indicate DTC P1406 failed this ignition?

--

Go to Step 2

System OK