GM Service Manual Online
For 1990-2009 cars only

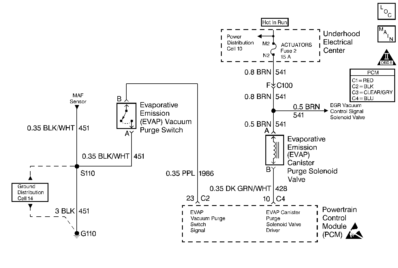
Object Number: 21645  Size: MF
Engine Controls Components
MAF, EVAP and EGR
OBD II Symbol Description Notice
Handling ESD Sensitive Parts Notice

Circuit Description

The EVAP vacuum switch is a normally closed switch connected to ground, mounted in the vacuum line between the EVAP canister and the EVAP solenoid. 12 volts is supplied to the switch through a pull-up resistor in the PCM. When the PCM commands the EVAP canister purge solenoid valve open (purge ON) and engine vacuum draws the evaporative emissions from the canister, the EVAP vacuum switch opens (signal voltage high) providing feedback to the PCM that the EVAP system is operating. When the PCM commands purge OFF, the EVAP vacuum switch closes (signal voltage low) confirming purging has ceased.

Conditions for Setting the DTC

    •  DTCs P0100, P0101, P0102, P0103, P0106, P0323, P0325, P0327, P0332, P0335, P0336, P0372, P0400, P0403, P0410, P0412, P0420, P0430,P0441, P0443, P0500, P0502, P0503, P0506, P0507, P0530, P0531, P0719, P0758, P1415, P1642, P1652 not set.
    •  ECT less than 115°C (239°F)
    •  IAT greater than 3°C (37°F)
    •  Engine speed between 800 and 3000 RPM
    •  TP Angle between 2% and 50%
    •  MAP between 33 and 77 kPa
    •  BARO greater than 77 kPa
    •  Purge duty cycle above 60%
    •  The PCM detects low signal voltage on the EVAP vacuum switch signal circuit when the PCM is commanding purge ON.
    •  Fault present for 5 seconds

Action Taken When the DTC Sets

    • The PCM will illuminate the Malfunction Indicator Lamp (MIL) on the second consecutive drive trip that the diagnostic runs and fails.
    • The PCM will record operating conditions at the time the diagnostic fails. The first time the diagnostic fails, this information will be stored in Failure Records. If the diagnostic reports a failure on the second consecutive drive trip, the operating conditions at the time of failure will be written to Freeze Frame and the Failure record will be updated.

Conditions for Clearing the MIL/DTC

    • The PCM will turn the MIL OFF after three consecutive drive trips that the diagnostic runs and does not fail.
    • A last test failed (Current DTC) will clear when the diagnostic runs and does not fail.
    • A History DTC will clear after forty consecutive warm-up cycles, if no failures are reported by this or any other emission related diagnostic.
    • PCM battery voltage is interrupted.
    • Using a Scan tool.

Diagnostic Aids

Before replacing any components, visually/physically check for the following:

    • Mis-routed harness.
    • Rubbed through wire insulation.
    • Broken wire inside the insulation.
    • Kinked or damaged vacuum hoses.
    • Physically damaged system components.
    • Inspect components and vacuum lines for traces of carbon or other contaminants. The presence of foreign material may be causing a restriction in the system or preventing the solenoid valve from closing properly. Either condition may cause a DTC to set.

For intermittents, refer to Symptoms .

Test Description

Number(s) below refer to step numbers on the diagnostic table.

  1. DTC P0443 indicates that the purge control solenoid may not be operating correctly. This condition must be corrected first.

Step

Action

Value(s)

Yes

No

1

Was the Powertrain On-Board Diagnostic (OBD) System Check performed?

--

Go to Step 2

Go to Powertrain On Board Diagnostic (OBD) System Check

2

Important: If DTC P0443 is set, refer to that DTC first.

  1. Turn the ignition ON, engine OFF.
  2. Using the scan tool, check the EVAP vacuum switch status.

Does the scan tool indicate the EVAP vacuum switch has No Purge?

--

Go to Step 3

Go to Step 5

3

  1. Start the engine.
  2. Using the scan tool, command the EVAP canister purge solenoid valve ON while observing the EVAP vacuum switch status.

Does the scan tool indicate Purge when the solenoid is commanded ON?

--

Go to Diagnostic Aids

Go to Step 4

4

  1. Turn the engine OFF.
  2. Disconnect the purge hose from the EVAP vacuum switch (the vacuum line from the canister).
  3. Connect a vacuum gauge to the canister side of the EVAP switch.
  4. Start the engine.
  5. Using the scan tool, command the EVAP canister purge solenoid valve ON while observing the vacuum gauge.

Does the vacuum gauge indicate close to normal engine vacuum when the solenoid is commanded ON?

--

Go to Step 5

Go to Step 7

5

Disconnect the EVAP vacuum switch harness connector.

Does the scan tool indicate Purge?

--

Go to Step 9

Go to Step 6

6

  1. Turn the ignition OFF.
  2. Disconnect the PCM connector C2.
  3. Using DVM J 39200, check for continuity between the EVAP vacuum switch signal circuit and ground.

Does the DVM indicate infinite resistance?

--

Go to Step 10

Go to Step 12

7

Disconnect the vacuum harness from the EVAP canister purge solenoid valve and connect a vacuum gauge to the manifold side of the vacuum harness.

Is normal manifold vacuum indicated?

--

Go to Step 8

Go to Step 13

8

  1. Rotate the vacuum harness connector enough to reconnect only the manifold vacuum supply hose to the solenoid valve.
  2. Connect the vacuum gauge to the other port on the solenoid valve.
  3. Using the scan tool, command the EVAP canister purge solenoid valve ON while observing the vacuum gauge.

Is vacuum indicated when the EVAP canister purge solenoid valve is ON?

--

Go to Step 14

Go to Step 15

9

Replace EVAP vacuum switch, refer to Evaporative Emission Purge Vacuum Switch Replacement . Refer to Evaporative Emission System Cleaning for cleaning procedure of EVAP system before replacing the EVAP vacuum switch.

Is the action complete?

--

Go to Step 16

--

10

Check connections at the PCM.

Was a problem found and corrected?

--

Go to Step 16

--

11

Important:: Replacement PCM must be programmed. Refer to Powertrain Control Module Replacement/Programming .

Replace the PCM.

Is the action complete?

--

Go to Step 16

--

12

Repair signal circuit shorted to ground.

Is the action complete?

--

Go to Step 16

--

13

Check for the following conditions:

    • Blocked or restricted manifold vacuum port.
    • Restricted, kinked or leaking hose between the EVAP solenoid and the intake manifold, Refer to Evaporative Emission System Cleaning for cleaning procedure of EVAP system.

Was a problem found and corrected?

--

Go to Step 16

Go to Step 14

14

Repair restricted, kinked or leaking hose between the EVAP solenoid and the EVAP vacuum switch, Refer to Evaporative Emission System Cleaning for cleaning procedure of EVAP system.

Is the action complete?

--

Go to Step 16

--

15

Replace the EVAP solenoid, refer to Evaporative Emission Canister Purge Solenoid Valve Replacement . Refer to Evaporative Emission System Cleaning for cleaning procedure of EVAP system before replacing the EVAP solenoid.

Is the action complete?

--

Go to Step 16

--

16

  1. Using the scan tool, select DTC, Clear Info.
  2. Start the engine and idle at normal operating temperature.
  3. Select DTC, Specific, then enter the DTC number which was set.
  4. Operate the vehicle within the conditions for setting this DTC as specified in the supporting text, if applicable.

Does the scan tool indicate that this test ran and passed?

--

Go to Step 17

Go to Step 2

17

Using the scan tool, select Capture Info, Review Info.

Are any DTCs displayed that have not been diagnosed?

--

Go to the applicable DTC table

System OK