GM Service Manual Online
For 1990-2009 cars only

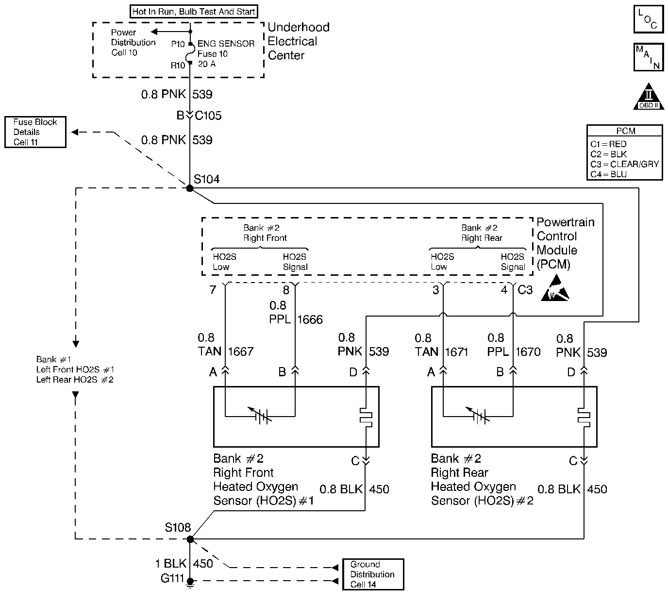
Object Number: 21640  Size: LF
Engine Controls Components
Heated Oxygen Sensors
OBD II Symbol Description Notice
Handling ESD Sensitive Parts Notice

Circuit Description

The PCM supplies a voltage of about 450 mV between the HO2S high and low signal circuits. The oxygen sensor varies the voltage over a range from about 1000 mV when the exhaust is rich, down through about 10 mV when exhaust is lean.

The PCM monitors and stores the heated oxygen sensor (HO2S) voltage information. The PCM evaluates the HO2S voltage samples to determine the amount of time the HO2S voltage was out of range. The PCM will compare the stored HO2S voltage samples taken within each sample period and determine if majority of the samples are out of the operating range.

The PCM monitors the HO2S voltage for being fixed above a predetermined voltage. If the PCM detects the voltage is above a predetermined voltage, a DTC will set.

Conditions for Setting the DTC

    • DTCs P0100, P0102, P0103, P0107, P0108, P0112, P0113, P0117, P0118, P0122, P0123, P0125, P0200, P0372, P1371 not set.
    • Closed Loop.
    • Fuel Trim learn enabled.
    • Air/fuel ratio between 14.6:1 and 14.8:1.
    • TP angle between 3% and 20%.
    • HO2S signal voltage remains above 930 mV for 38 seconds.

Action Taken When the DTC Sets

    • The PCM will illuminate the Malfunction Indicator Lamp (MIL) on the second consecutive drive trip that the diagnostic runs and fails.
    • The PCM will record operating conditions at the time the diagnostic fails. The first time the diagnostic fails, this information will be stored in Failure Records. If the diagnostic reports a failure on the second consecutive drive trip, the operating conditions at the time of failure will be written to Freeze Frame and the Failure record will be updated.

Conditions for Clearing the MIL/DTC

    • The PCM will turn the MIL OFF after three consecutive drive trips that the diagnostic runs and does not fail.
    • A last test failed (Current DTC) will clear when the ignition is cycled and the diagnostic runs and does not fail.
    • A History DTC will clear after forty consecutive warm-up cycles, if no failures are reported by this or any other emission related diagnostic.
    • PCM battery voltage is interrupted.
    • Using a Scan tool.

Diagnostic Aids

    • Fuel pressure. System will go rich if pressure is too high. The PCM can compensate for some increase. However, if fuel pressure is too high, a DTC may set. Refer to Fuel System Diagnosis
    • Rich injector(s). Perform Injector Balance Test.
    • Leaking injector. Refer to Fuel System Diagnosis
    • Evaporative emissions (EVAP) canister purge. Check for fuel saturation. If full of fuel, check canister control and hoses. Refer to Evaporative Emission Control System
    • MAF sensor. Disconnect the MAF sensor and see if rich condition is corrected. If so, check for proper installation. If installed OK, replace MAF sensor. If MAF sensor is installed backwards, the system will go rich. The plastic portion of the sensor has arrows cast into it indicating proper air flow direction. The arrow must point toward the engine.
    • An oxygen supply inside the HO2S is necessary for proper operation. This supply of oxygen is provided through the HO2S wires. All HO2S wires and connections should be inspected for breaks or contamination. Refer to Repair Procedures in Electrical Diagnosis (8A Cell 5).
    • Check for leaking fuel pressure regulator diaphragm by checking vacuum line to regulator for fuel.
    • TP sensor. An intermittent TP sensor output will cause the system to go rich, due to a false indication of the engine accelerating. For intermittents, refer to Symptoms .

Test Description

Number(s) below refer to step numbers on the diagnostic table.

  1. Engine must be at normal operating temperature before performing this test. For any test that requires probing the PCM or a component harness connector, must use the Connector Test Adapter Kit J 35616-A. Using this kit will prevent damage to the harness connector terminals.

  2. Using Freeze Frame and/or Failure Records data may aid in locating an intermittent condition. If the DTC cannot be duplicated, the information included in the Freeze Frame and/or Failure Records data can be useful in determining how many miles since the DTC set. The Fail Counter and Pass Counter can also be used to determine how many ignition cycles the diagnostic reported a pass and/or a fail. Operate vehicle within the same freeze frame conditions (RPM, load, vehicle speed, temperature etc.) that were noted. This will isolate when the DTC failed. For an intermittent refer to Symptoms.

  3. Grounding the low side circuit of the HO2S should cause the HO2S voltage to display a bias voltage.

  4. Review the system mechanization. Check for a short between the HO2S signal circuit and any other wires powered by this fuse that run together inside the harness.

Step

Action

Value(s)

Yes

No

1

Was the Powertrain On-Board Diagnostic (OBD) System Check performed?

--

Go to Step 2

Go to Powertrain On Board Diagnostic (OBD) System Check

2

  1. Install the scan tool.
  2. Start and idle the engine until normal operating temperature is reached.
  3. Engine speed at 1200 RPM.
  4. Using a scan tool, monitor HO2S voltage display on the Engine 1 Data List.

Is the HO2S voltage greater than the specified value?

930 mV

Go to Step 4

Go to Step 3

3

  1. Turn the ignition ON, engine OFF, review Freeze Frame and/or Failure Records data for this DTC and note parameters.
  2. Turn the ignition OFF for 15 seconds.
  3. Start the engine and operate the vehicle within the conditions required for this diagnostic to run, and as close to the conditions recorded in Freeze Frame/Failure Records as possible. Special operating conditions that need to be met before the PCM will run this diagnostic, where applicable, are listed in Conditions for Setting the DTC.
  4. Using the scan tool, select DTC, Specific, then enter the DTC number which was set.

Does the scan tool indicate that this diagnostic failed this ignition?

--

Go to Step 4

Go to Diagnostic Aids

4

While monitoring the HO2S voltage, remove the HO2S heater fuse.

Does the voltage drop to within the specified range when the power to the heater is disconnected?

375-525 mV

Go to Step 5

Go to Step 7

5

  1. Reinstall the fuse.
  2. Disconnect HO2S and jumper the HO2S low signal (PCM side) circuit to ground.

Does the scan tool indicate HO2S voltage within the specified values?

375-525 mV

Go to Step 10

Go to Step 6

6

While monitoring the HO2S voltage, remove the HO2S heater fuse.

Does the voltage drop to within the specified range when the power to the heater is disconnected?

375-525 mV

Go to Step 9

Go to Step 8

7

  1. Turn the ignition OFF.
  2. Disconnect the PCM connector containing the HO2S signal circuit.
  3. Disconnect the HO2S.
  4. Turn the ignition ON.
  5. Using a DVM (J 39200), check for voltage on the HO2S sensor signal circuit at PCM harness connector.

Is there a voltage indicated on the DVM?

--

Go to Step 8

Go to Diagnostic Aids

8

Repair the short to voltage in HO2S signal circuit. Refer to Repair Procedures in Electrical Diagnosis (8A Cell 5) .

Is the action complete?

--

Go to Step 12

--

9

Repair HO2S signal circuit and HO2S heater B+ circuit shorted together. Refer to Repair Procedures in Electrical Diagnosis (8A Cell 5) .

Is the action complete?

--

Go to Step 12

--

10

Replace the HO2S. Refer to Heated Oxygen Sensor Replacement .

Is the action complete?

--

Go to Step 12

--

11

Important:: Replacement PCM must be programmed. Refer to Powertrain Control Module Replacement/Programming .

Replace the PCM.

Is the action complete?

--

Go to Step 12

--

12

  1. Using the scan tool, select DTC, Clear Info.
  2. Start the engine and idle at normal operating temperature.
  3. Select DTC, Specific, then enter the DTC number which was set.
  4. Operate the vehicle within the conditions for setting this DTC as specified in the supporting text, if applicable.

Does the scan tool indicate that this test ran and passed?

--

Go to Step 13

Go to Step 2

13

Using the scan tool, select Capture Info, Review Info.

Are any DTCs displayed that have not been diagnosed?

--

Go to the applicable DTC table

System OK