GM Service Manual Online
For 1990-2009 cars only

DTC P0218 Transmission Fluid Overtemperature 3.8L, VIN K


Object Number: 53636  Size: LF
Handling ESD Sensitive Parts Notice
Handling ESD Sensitive Parts Notice
OBD II Symbol Description Notice
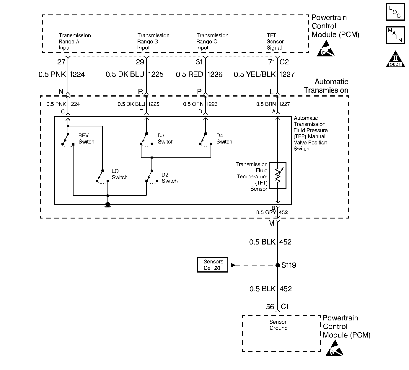
Automatic Transmission Components VIN K

Circuit Description

The Transmission Fluid Temperature (TFT) sensor is a thermistor within the Automatic Transmission Fluid Pressure (TFP) Manual Valve Position Switch. The TFT sensor controls the signal voltage to the PCM. The PCM supplies a 5 volt reference to the sensor on circuit 1227.

When the transmission fluid is cold, the sensor resistance is high and the PCM senses high signal voltage. As the fluid temperature warms to a normal transmission operating temperature of 100°C (212°F), the sensor resistance reduces, and the voltage decreases to 1.5 - 2.0 volts.

If the PCM detects a high transmission temperature for a long period of time, then DTC P0218 sets. DTC P0218 is a type D DTC.

Conditions for Setting the DTC

    • No TFT DTCs P0711, P0712 or P0713
    • The TFT is greater than 130°C (266°F).
    • All conditions met for 15 minutes (900 seconds).

Action Taken When the DTC Sets

    • The PCM freezes shift adapts from being updated.
    • The PCM does not illuminate the Malfunction Indicator Lamp (MIL).

Conditions for Clearing the DTC

    • A scan tool can clear the DTC from the PCM history. The PCM clears the DTC from the PCM history if the vehicle completes 40 warm-up cycles without a failure reported.
    • The PCM cancels the DTC default actions when the fault no longer exists and the ignition is OFF long enough in order to power down the PCM.

Diagnostic Aids

    • Inspect the wiring for any poor electrical connections at the PCM. Inspect the wiring at the TCC brake switch. Look for the following problems:
       - A bent terminal
       - A backed out terminal
       - A damaged terminal
       - Poor terminal tension
       - A chafed wire
       - A broken wire inside the insulation
    • When diagnosing for an intermittent short or an open, massage the wiring harness while watching the test equipment for changes.
    • The scan tool should show the TFT sensor temperature rising steadily to about 100°C (212°F), then stabilize.
    • Check for a blocked or pinched transmission cooler line.
    • Check for a blocked or damaged transmission cooler.
    • Check for a torque converter stator problem.
    • Verify the customer's driving habits, trailer towing, etc. . .
    • Use the Temperature vs Resistance scale in order to test the TFT sensor at various temperatures. Test the TFT sensor in order to eliminate the possibility of a skewed (mis-scaled) sensor. A skewed sensor could result in delayed garage shifts or TCC complaints.

Test Description

The numbers below refer to the step numbers on the diagnostic table.

  1. This step verifies that the sensor is not skewed (mis-scaled).This step also tests for a shorted circuit.

  2. This step simulates a TFT DTC P0713.

DTC P0218 Transmission Fluid Overtemperature

Step

Action

Value(s)

Yes

No

1

Was the Powertrain On-Board Diagnostic (OBD) System Check performed?

--

Go to Step 2

Go to Powertrain On Board Diagnostic (OBD) System Check , Section 6.

2

    • Inspect for possible transmission problems.
    • Inspect for possible engine cooling system problems.
    • Perform the Transmission Fluid Check .

Have you completed the inspections?

--

Go to Step 3

Go to Transmission Fluid Check

3

  1. Install the Scan Tool ®.
  2. With the engine OFF, turn the ignition switch to the RUN position.
  3. Important: Before clearing the DTCs, use the scan tool in order to record the Failure Records for reference. The Clear Info function will erase the data.

  4. Record the DTC Failure Records.

Is the TFT Sensor signal voltage less than the specified voltage?

0.2 volt

Go to Step 4

Go to Diagnostic Aids

4

  1. Turn the ignition switch to the OFF position.
  2. Disconnect the transmission 20-way connector (additional DTCs may set).

Is the TFT Sensor signal voltage greater than the specified voltage?

4.92 volts

Go to Automatic Transmission Wiring Harness Check

Go to Step 5

5

  1. Inspect circuit 1227 ( YEL/BLK) for a short to ground.
  2. Repair the circuit if necessary.

Refer to Electrical Diagnosis, Section 8.

Did you find and correct a problem?

--

Go to Step 8

Go to Step 6

6

  1. Inspect the PCM connector terminals for the following problems:
  2. • Damaged connector pins
    • Backed-out connector pins
    • Weak terminal tension
  3. Repair the connectors if necessary.

Did you find and correct a problem?

--

Go to Step 8

Go to Step 7

7

Replace the PCM.

Refer to Powertrain Control Module Replacement/Programming , Section 6.

Is the replacement complete?

--

Go to Step 8

--

8

  1. After the repair is complete, select DTC.
  2. Select Clear Info.
  3. Ensure the following conditions:
  4. • Turn the ignition switch to the RUN position.
    • The scan tool must indicate a TFT less than 120°C (248°F) for at least 5 seconds.
  5. Select Specific DTC and enter DTC P0218.

Has the test run and passed?

--

System OK

Begin diagnosis the again. Go to Step 1

DTC P0218 Transmission Fluid Overtemperature 5.7L, VIN P


Object Number: 42301  Size: LF
Automatic Transmission Components VIN P
OBD II Symbol Description Notice
Handling ESD Sensitive Parts Notice
Handling ESD Sensitive Parts Notice

Circuit Description

The Transmission Fluid Temperature (TFT) sensor is a negative coefficient thermister within the Automatic Transmission Fluid Pressure (TFP) Manual Valve Position Switch. The TFT sensor controls the signal voltage to the PCM. The PCM supplies a 5 volt reference to the sensor on circuit 1227.

When the transmission fluid is cold, the sensor resistance is high and the PCM senses high signal voltage. As the fluid temperature warms to a normal transmission operating temperature of 100°C (212°F), the sensor resistance diminishes and the voltage decreases to 1.5 - 2.0 volts.

If the PCM detects a high transmission temperature for a long period of time, then DTC P0218 sets. DTC P0218 is a type D DTC.

Conditions for Setting the DTC

    • No TFT DTCs P0712 or P0713
    • The TFT is greater than 130°C (266°F).
    • All conditions met for 15 minutes (900 seconds).

Action Taken When the DTC Sets

    • The PCM freezes shift adapts from being updated.
    • The PCM does not illuminate the Malfunction Indicator Lamp (MIL).

Conditions for Clearing the DTC

    • A scan tool can clear the DTC from the PCM history. The PCM clears the DTC from the PCM history if the vehicle completes 40 warm-up cycles without a failure reported.
    • The PCM cancels the DTC default actions when the fault no longer exists and the ignition is OFF long enough in order to power down the PCM.

Diagnostic Aids

    • Inspect the wiring for any poor electrical connections at the PCM. Inspect the wiring at the TCC brake switch. Look for the following problems:
       - A bent terminal
       - A backed out terminal
       - A damaged terminal
       - Poor terminal tension
       - A chafed wire
       - A broken wire inside the insulation
    • When diagnosing for an intermittent short or an open, massage the wiring harness while watching the test equipment for changes.
    • The scan tool should show the TFT sensor temperature rising steadily to about 100°C (212°F), then stabilize.
    • Check for a blocked or pinched transmission cooler line.
    • Check for a blocked or damaged transmission cooler.
    • Check for a torque converter stator problem.
    • Verify the customer's driving habits, trailer towing, etc. . .
    • Use the Temperature vs Resistance scale in order to test the TFT sensor at various temperatures. Test the TFT sensor in order to eliminate the possibility of a skewed (mis-scaled) sensor. A skewed sensor could result in delayed garage shifts or TCC complaints.

Test Description

The numbers below refer to the step numbers on the diagnostic table.

  1. This step verifies that the sensor is not skewed (mis-scaled). This step also checks for a shorted circuit.

  2. This step simulates a TFT DTC P0713.

DTC P0218 Transmission Fluid Overtemperature

Step

Action

Value(s)

Yes

No

1

Was the Powertrain On-Board Diagnostic (OBD) System Check performed?

--

Go to Step 2

Go to Powertrain On Board Diagnostic (OBD) System Check , Section 6.

2

    • Inspect for possible transmission problems.
    • Inspect for possible engine cooling system problems.
    • Perform the transmission fluid checking procedure.
        Refer to Transmission Fluid Check .

Have you completed the inspections?

--

Go to Step 3

Go to Transmission Fluid Check

3

  1. Install the Scan Tool ®.
  2. With the engine OFF, turn the ignition switch to the RUN position.
  3. Important: Before clearing the DTCs, use the scan tool in order to record the Failure Records for reference. The Clear Info function will erase the data.

  4. Record the DTC Failure Records.

Is the TFT Sensor signal voltage less than the specified voltage?

0.33 volt

Go to Step 4

Go to Diagnostic Aids

4

  1. Turn the ignition switch to the OFF position.
  2. Disconnect the transmission 20-way connector (additional DTCs may set).

Is the TFT Sensor signal voltage greater than the specified voltage?

4.92 volts

Go to Automatic Transmission Wiring Harness Check

Go to Step 5

5

  1. Inspect circuit 1227 (YEL/BLK) for a short to ground.
  2. Repair the circuit if necessary.

Refer to Electrical Diagnosis, Section 8.

Did you find and correct a problem?

--

Go to Step 8

Go to Step 6

6

  1. Inspect the PCM connector terminals for the following problems:
  2. • Damaged connector pins
    • Backed out connector pins
    • Weak terminal tension
  3. Repair the connectors if necessary.

Did you find and correct a problem?

--

Go to Step 8

Go to Step 7

7

Replace the PCM.

Refer to Powertrain Control Module Replacement/Programming , Section 6.

Is the replacement complete?

--

Go to Step 8

--

8

  1. After the repair is complete, select DTC.
  2. Select Clear Info.
  3. Ensure the following conditions are met:
  4. • Turn the ignition switch to the RUN position.
    • The scan tool must indicate a TFT less than 129°C (264°F) for at least 5 seconds.
  5. Select Specific DTC and enter DTC P0218.

Has the test run and passed?

--

System OK

Begin diagnosis the again. Go to Step 1