GM Service Manual Online
For 1990-2009 cars only

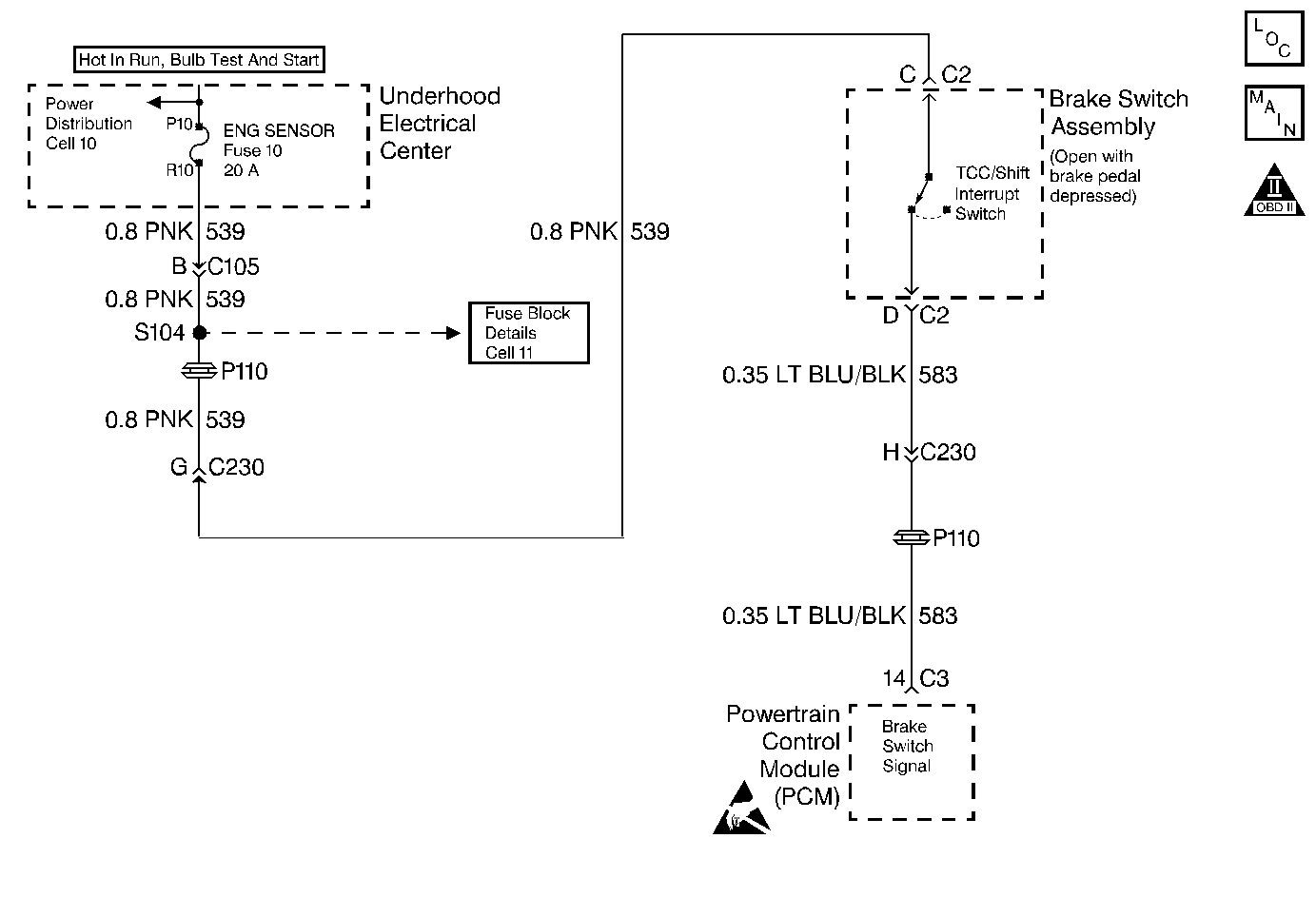
DTC P0724 Brake Switch Circuit High Input 3.8L, VIN K


Object Number: 42303  Size: MF
Handling ESD Sensitive Parts Notice
OBD II Symbol Description Notice
Automatic Transmission Components VIN K

Circuit Description

The TCC/Shift Interrupt switch indicates the brake pedal status. This normally-closed switch within the brake switch assembly supplies a B+ signal on circuit 583 to the PCM. The signal voltage circuit opens when you apply the brakes. The PCM uses this signal to de-energize the TCC Solenoid Valve.

If the PCM detects a closed brake switch during a deceleration, then DTC P0724 sets. DTC P0724 is a type D DTC.

Conditions for Setting the DTC

    • No VSS DTCs P0502 or P0503.
    • The PCM detects a closed TCC/Shift Interrupt switch/circuit (12 volts) for 2 seconds and the following sequence of events occurs seven consecutive times:
       - The vehicle speed is greater than 32 km/h (20 mph) for 6 seconds;
       - Then the vehicle speed is 8-32 km/h (5-20 mph) for 4 seconds;
       - Then the vehicle speed is less than 8 km/h (5 mph).

Action Taken When the DTC Sets

The PCM does not illuminate the Malfunction Indicator Lamp (MIL).

Conditions for Clearing the DTC

    • A scan tool can clear the DTC from the PCM history. The PCM clears the DTC from the PCM history if the vehicle completes 40 warm-up cycles without a failure reported.
    • The PCM cancels the DTC default actions when the fault no longer exists and the ignition is OFF long enough in order to power down the PCM.

Diagnostic Aids

    • Inspect the wiring for any poor electrical connections at the PCM. Inspect the wiring at the brake switch assembly. Look for the following problems:
       - A bent terminal
       - A backed out terminal
       - A damaged terminal
       - Poor terminal tension
       - A chafed wire
       - A broken wire inside the insulation
    • When diagnosing for an intermittent short or an open, massage the wiring harness while watching the test equipment for changes.
    • Ask the customer about the customer's driving habits. Ask if the customer has any unusual driving conditions (e.g. stop-and-go, expressway, etc.).
    • Check for the most current calibration ID. Check for the latest bulletin.
    • Inspect the brake switch assembly for proper mounting and for proper adjustment.

Test Description

The numbers below refer to the step numbers on the diagnostic table.

  1. This step tests for voltage at the brake switch assembly.

  2. This step tests the TCC/Shift Interrupt switch.

DTC P0724 TCC/Shift Interrupt Switch Circuit -- High Input

Step

Action

Value(s)

Yes

No

1

Was the Powertrain On-Board Diagnostic (OBD) System Check performed?

--

Go to Step 2

Go to Powertrain On Board Diagnostic (OBD) System Check , Section 6.

2

  1. Install the Scan Tool ®.
  2. With the engine OFF, turn the ignition switch to the RUN position.
  3. Important: Before clearing the DTCs, use the scan tool in order to record the Freeze Frame and the Failure Records for reference. The Clear Info function will erase the data.

  4. Record the DTC Freeze Frame and Failure Records.
  5. Apply the brake pedal. Release the brake pedal.

When you apply the brake pedal, does the scan tool display the TCC Brake Switch as Applied, then as Released when you release the brake?

--

Go to Diagnostic Aids

Go to Step 3

3

  1. Connect the test lamp to ground.
  2. Probe ignition feed circuit 539 (PNK) at the brake switch assembly.

Did the test lamp illuminate?

--

Go to Step 4

Go to Step 5

4

  1. Connect the test lamp to ground.
  2. Probe circuit 583 (LT BLU/BLK) at the brake switch assembly.

Did the test lamp illuminate?

--

Go to Step 6

Go to Step 8

5

Repair the open in ignition feed circuit 539 (PNK) to the brake switch assembly.

Is the repair complete?

--

Go to Step 13

--

6

Apply the brake pedal.

Is the test lamp OFF when you apply the brake pedal?

--

Go to Step 7

Go to Step 9

7

Apply the brake pedal. Release the brake pedal.

Does the scan tool display TCC/Brake Switch as Applied when you apply the brake, and does the scan tool display Released when you release the brake pedal?

--

Go to Diagnostic Aids

Go to Step 11

8

Examine the brake switch assembly for proper adjustment.

Did you find and correct a problem?

--

Go to Step 13

Go to Step 10

9

Inspect circuit 583 (LT BLU/BLK) for a short to Battery Positive Voltage.

Refer to Electrical Diagnosis, Section 8.

Did you find a short?

--

Go to Step 13

Go to Step 10

10

Replace the brake switch assembly.

Refer to Brake Switch Assembly Replacement, Section 5.

Is the replacement complete?

--

Go to Step 13

--

11

  1. Inspect the PCM connector terminals for the following problems:
  2. • Damaged connector pins
    • Backed-out connector pins
    • Weak terminal tension
  3. Repair the connectors if necessary.

Did you find and correct a problem?

--

Go to Step 13

Go to Step 12

12

Replace the PCM.

Refer to Powertrain Control Module Replacement/Programming , Section 6.

Is the replacement complete?

--

Go to Step 13

--

13

  1. After the repair is complete, select DTC.
  2. Select Clear Info.
  3. Ensure that the TCC brake switch signal indicates 12 volts for 2 seconds with the brake pedal released.
  4. Select Specific DTC. Enter DTC P0724.

Has the test run and passed?

--

System OK

Begin the diagnosis again. Go to Step 1.

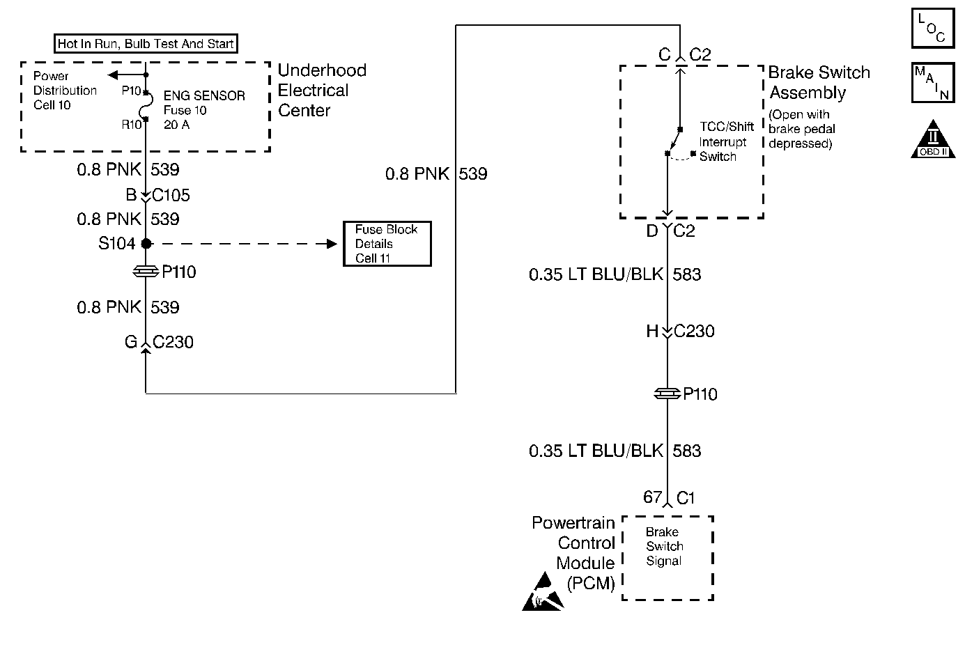
DTC P0724 Brake Switch Circuit High Input 5.7L, VIN P


Object Number: 42304  Size: MF
Automatic Transmission Components VIN P
OBD II Symbol Description Notice
Handling ESD Sensitive Parts Notice

Circuit Description

The TCC/Shift Interrupt switch indicates the brake pedal status. This normally-closed switch, within the Brake Switch Assembly, supplies a B+ signal on circuit 583 to the PCM. The signal voltage circuit opens when you apply the brakes. The PCM uses this signal to de-energize the TCC Solenoid Valve.

If the PCM detects a closed brake switch during a deceleration, then DTC P0724 sets. DTC P0724 is a type D DTC.

Conditions for Setting the DTC

    • No VSS DTC P0502
    • The PCM detects a closed TCC/Shift Interrupt switch/circuit (12 volts) for 2 seconds and the following sequence of events occur seven consecutive times:
       - The vehicle speed is greater than 32 km/h (20 mph) for 6 seconds;
       - Then the vehicle speed is 8-32 km/h (5-20 mph) for 4 seconds;
       - Then the vehicle speed is less than 8 km/h (5 mph).

Action Taken When the DTC Sets

    • The PCM freezes shift adapts from being updated.
    • The PCM will not illuminate the Malfunction Indicator Lamp (MIL).

Conditions for Clearing the DTC

    • A scan tool can clear the DTC from the PCM history. The PCM clears the DTC from the PCM history if the vehicle completes 40 warm-up cycles without a failure reported.
    • The PCM cancels the DTC default actions when the fault no longer exists and the ignition is OFF long enough in order to power down the PCM.

Diagnostic Aids

    • Inspect the wiring for any poor electrical connections at the PCM. Inspect the wiring at the brake switch assembly. Look for the following problems:
       - A bent terminal
       - A backed out terminal
       - A damaged terminal
       - Poor terminal tension
       - A chafed wire
       - A broken wire inside the insulation
    • When diagnosing for an intermittent short or an open, massage the wiring harness while watching the test equipment for changes.
    • Ask the customer about the customer's driving habits. Ask if the customer has any unusual driving conditions (e.g. stop-and-go, expressway, etc.).
    • Check for the most current calibration ID. Check for the latest bulletin.
    • Inspect the brake switch assembly for proper mounting. Inspect the brake switch assembly for proper adjustment.

Test Description

The numbers below refer to the step numbers on the diagnostic table.

  1. This step tests for voltage at the brake switch assembly.

  2. This step tests the TCC/Shift Interrupt switch.

DTC P0724 TCC/Shift Interrupt Switch Circuit -- High Input

Step

Action

Value(s)

Yes

No

1

Was the Powertrain On-Board Diagnostic (OBD) System Check performed?

--

Go to Step 2

Go to Powertrain On Board Diagnostic (OBD) System Check , Section 6.

2

  1. Install the Scan Tool ®.
  2. With the engine OFF, turn the ignition switch to the RUN position.
  3. Important: Before clearing the DTCs, use the scan tool in order to record the Freeze Frame and the Failure Records for reference. The Clear Info function will erase the data.

  4. Record the DTC Freeze Frame and Failure Records.
  5. Apply the brake pedal. Release the brake pedal.

When you apply the brake pedal, does the scan tool display the TCC Brake Switch as Applied , then as Released when you release the brake?

--

Go to Diagnostic Aids

Go to Step 3

3

  1. Connect the test lamp to ground.
  2. Probe the ignition feed circuit 539 (PNK) at the brake switch assembly.

Did the test lamp illuminate?

--

Go to Step 4

Go to Step 5

4

  1. Connect the test lamp to ground.
  2. Probe circuit 583 (LT BLU/BLK) at the brake switch assembly.

Did the test lamp illuminate?

--

Go to Step 6

Go to Step 8

5

Repair the open in ignition feed circuit 539 (PNK) to the brake switch assembly.

Is the repair complete?

--

Go to Step 13

--

6

Apply the brake pedal.

Is the test lamp OFF when you apply the brake pedal?

--

Go to Step 7

Go to Step 9

7

Apply the brake pedal. Release the brake pedal.

Does the scan tool display TCC Brake Switch as Applied when you apply the brake, and does the scan tool display Released when you release the brake pedal?

--

Go to Diagnostic Aids

Go to Step 11

8

Examine the brake switch assembly for proper adjustment.

Did you find and correct a problem?

--

Go to Step 13

Go to Step 10

9

Inspect circuit 583 (LT BLU/BLK) for a short to Battery Positive Voltage.

Refer to Electrical Diagnosis, Section 8.

Did you find a short?

--

Go to Step 13

Go to Step 10

10

Replace the brake switch assembly.

Refer to Brake Switch Assembly Replacement, Section 5.

Is the replacement complete?

--

Go to Step 13

--

11

  1. Inspect the PCM connector terminals for the following problems:
  2. • Damaged connector pins
    • Backed out connector pins
    • Weak terminal tension
  3. Repair the connectors if necessary.

Did you find and correct a problem?

--

Go to Step 13

Go to Step 12

12

Replace the PCM.

Refer to Powertrain Control Module Replacement/Programming , Section 6.

Is the replacement complete?

--

Go to Step 13

--

13

  1. After the repair is complete, select DTC.
  2. Select Clear Info.
  3. Ensure that the TCC brake switch signal indicates 12 volts for 2 seconds with the brake pedal released.
  4. Select Specific DTC. Enter DTC P0724.

Has the test run and passed?

--

System OK

Begin the diagnosis again. Go to Step 1