GM Service Manual Online
For 1990-2009 cars only

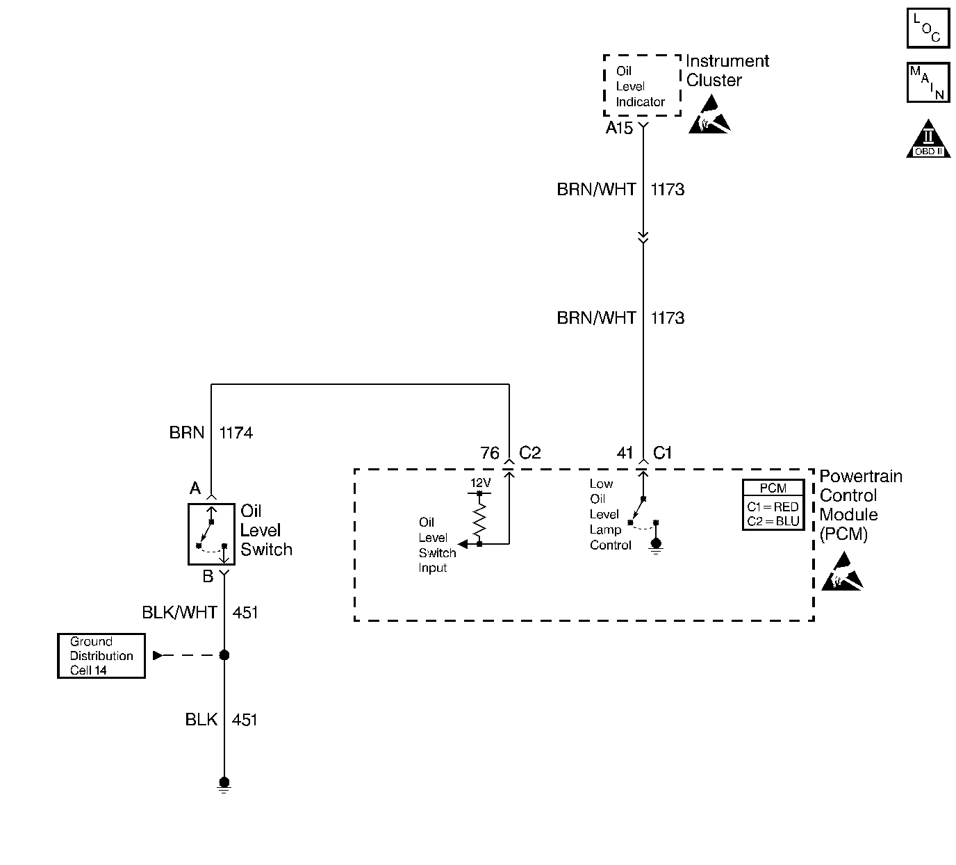
Object Number: 218757  Size: LF
Engine Controls Components
Oil Level
OBD II Symbol Description Notice
Handling ESD Sensitive Parts Notice
Handling ESD Sensitive Parts Notice

Circuit Description

Ignition voltage is supplied directly to the Oil Level Lamp. The PCM controls the lamp by grounding the control circuit via an internal switch called a driver. The primary function of the driver is to supply the ground for the component being controlled.

Diagnostic Aids

This table assumes the Engine Oil Level switch is operating properly. Monitor the Engine Oil Level parameter on the scan tool. If the Engine Oil Level parameter displays low, refer to Engine Oil Level Sensor and/or Switch Diagnosis .

Test Description

The numbers below refer to the step numbers on the diagnostic table.

  1. If the Low Oil Level lamp is ON, ensure that the oil level is within range. If the customers concern is that the lamp never comes ON and the oil level is low, refer to Engine Oil Level Sensor and/or Switch Diagnosis for further diagnosis.

  2. If no trouble is found in the control circuit or the connection at the PCM, the PCM may be faulty, however, this is an extremely unlikely failure.

Step

Action

Value(s)

Yes

No

1

Did you perform the Powertrain On-Board Diagnostic (OBD) System Check?

--

Go to Step 2

Go to Powertrain On Board Diagnostic (OBD) System Check

2

Important: Verify the engine oil level before proceeding with this diagnostic table. If the engine oil level is within range and the oil level parameter displays low, refer to Engine Oil Level Sensor and/or Switch Diagnosis

  1. Turn ON the ignition leaving the engine OFF.
  2. Monitor the Engine Oil Level parameter on the scan tool.

Does the Oil Level parameter display Low?

--

Go to Engine Oil Level Sensor and/or Switch Diagnosis

Go to Step 3

3

  1. Turn OFF the ignition .
  2. Disconnect the PCM connector C2 located on the same side as the manufacturer's logo. Refer to Powertrain Control Module Replacement/Programming
  3. Turn ON the ignition.

Is the Low Oil Level lamp OFF?

--

Go to Step 4

Go to Step 5

4

With a fused jumper wire connected to ground, probe the lamp control circuit in the PCM harness connector.

Is the Low Oil Level lamp ON?

--

Go to Step 6

Go to Step 7

5

Repair the lamp control circuit for a short to ground. Refer to Wiring Repairs in Wiring Systems.

Is the repair complete?

--

System OK

--

6

  1. Inspect for poor connections at the PCM. Refer to Intermittents and Poor Connections Diagnosis in Wiring Systems.
  2. If you find a poor connection, repair as necessary. Refer to Repairing Connector Terminals in Wiring Systems.

Did you find and correct the condition?

--

System OK

Go to Step 8

7

Test for the following conditions:

    • Faulty indicator.
    • Open ignition feed to the indicator Refer to Wiring Repairs in Wiring Systems.
    • Control circuit open or shorted to B+. Refer to Wiring Repairs in Wiring Systems.

Is the repair complete?

--

System OK

--

8

Important: 

  1. Program the replacement PCM. Refer to Powertrain Control Module Replacement/Programming .
  2. Perform the Crankshaft Position System Variation Learn .

Replace the PCM.

Is the action complete?

--

System OK

--