GM Service Manual Online
For 1990-2009 cars only
Figure 1:

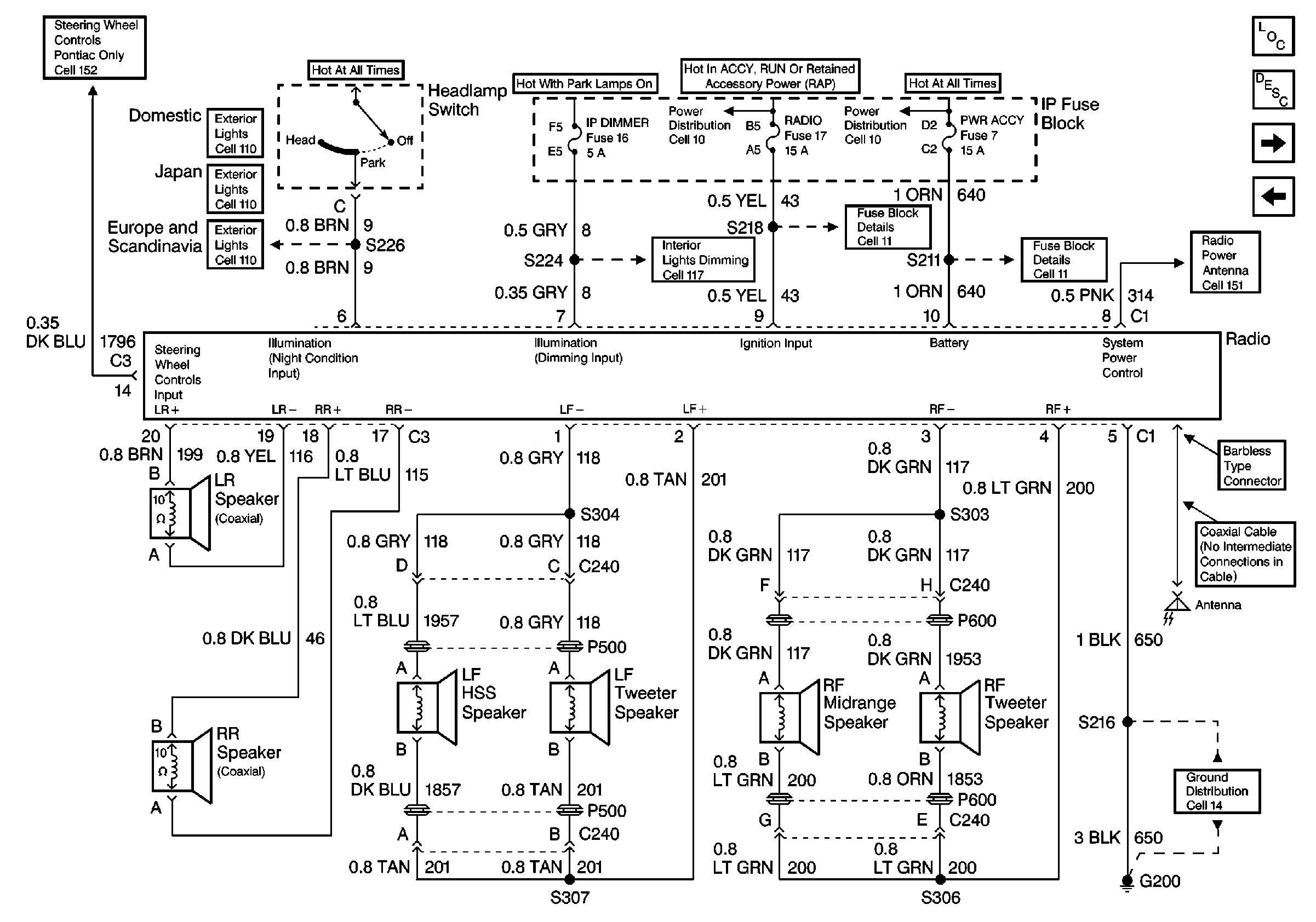
Cell 150: UL0, UM6, UN0 w/UQ0 or U62 (Chevrolet), and W52, W53 (Pontiac) Entertainment Systems


Object Number: 511056  Size: FS
Entertainment Components
Radio/Audio System Circuit Description
Cell 150: UZ7 Up-Level Speaker System (Chevrolet Coupe Only)
Power Distribution Schematics
Power Distribution Schematics
Interior Lights Dimming Schematics
Fuse Block Schematics
Fuse Block Schematics
Steering Wheel Controls Schematics
Power Antenna Schematics
Ground Distribution Schematics
Exterior Lights Schematics Domestic
Exterior Lights Schematics Japan
Exterior Lights Schematics Europe and Scandinavia
Figure 2:

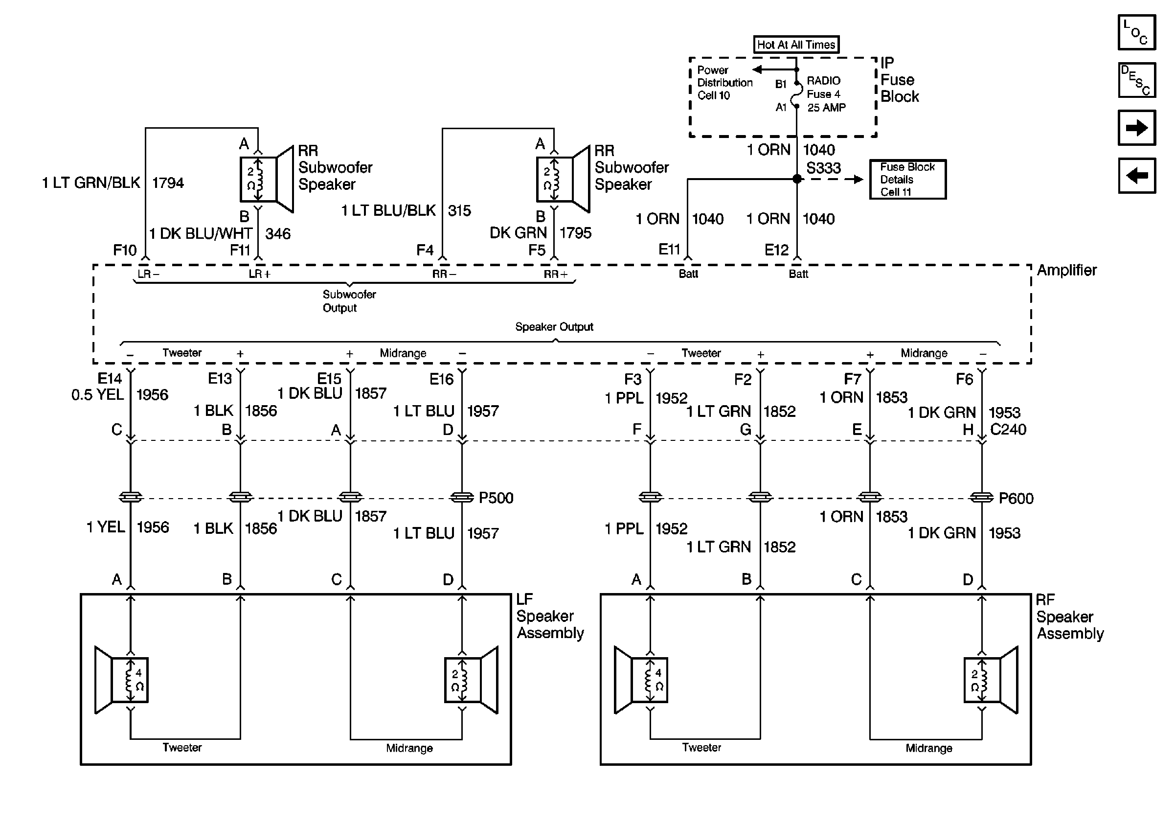
Cell 150: UZ7 Up-Level Speaker System (Chevrolet Coupe Only)


Object Number: 454506  Size: FS
Interior Lights Dimming Schematics
Fuse Block Schematics
Fuse Block Schematics
Steering Wheel Controls Schematics
Power Antenna Schematics
Ground Distribution Schematics
Entertainment Components
Radio/Audio System Circuit Description
Cell 150: UL0, UM6, UN0 w/UQ0 or U62 (Chevrolet), and W52, W53 (Pontiac)Entertainment Systems
Cell 150: UZ7 Up-Level Speaker System (Chevrolet Coupe Only) Continued
Engine Controls Schematics
Power Distribution Schematics
Power Distribution Schematics
Exterior Lights Schematics Domestic
Exterior Lights Schematics Japan
Exterior Lights Schematics Europe and Scandinavia
Engine Controls Schematics
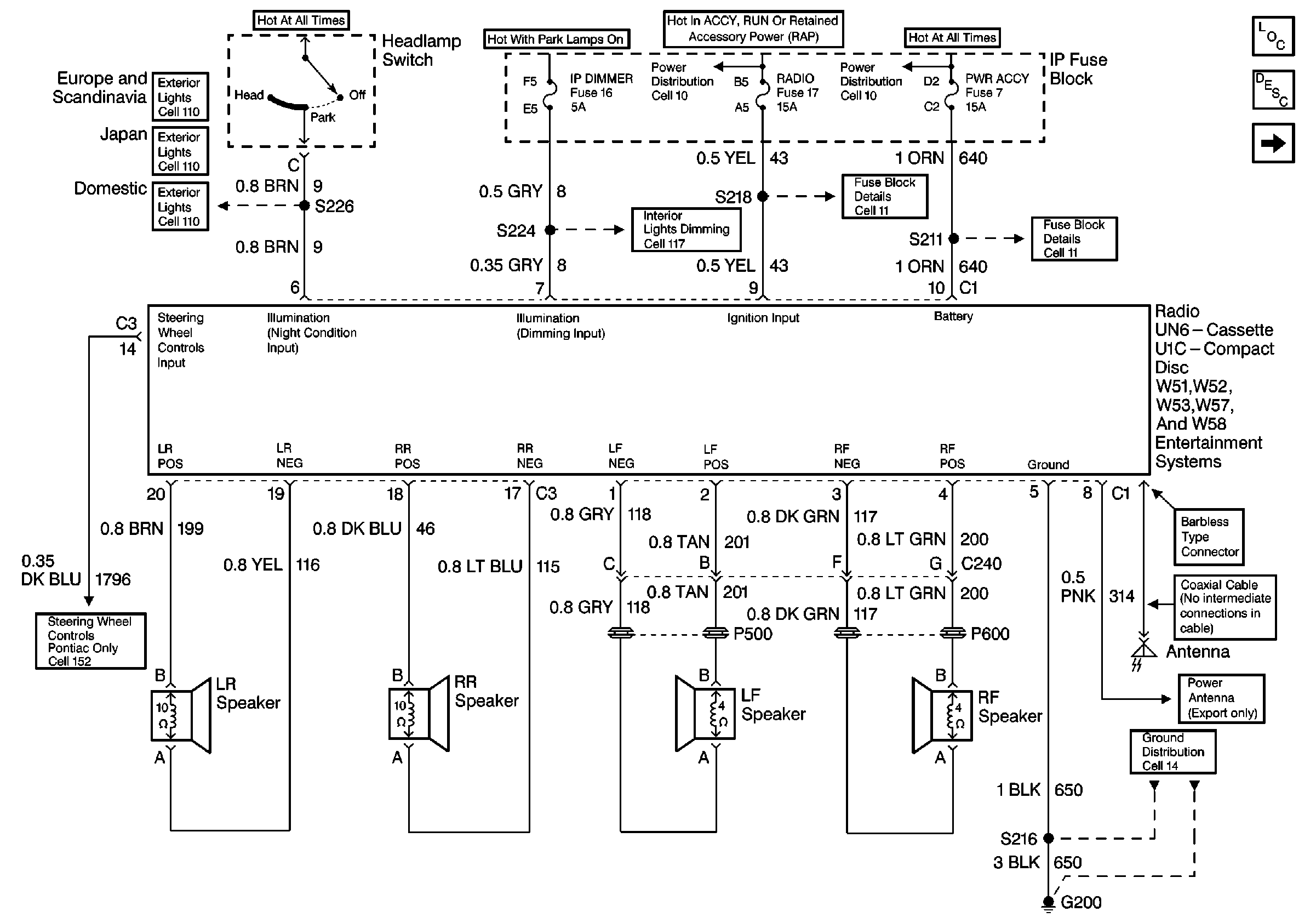
Figure 3:

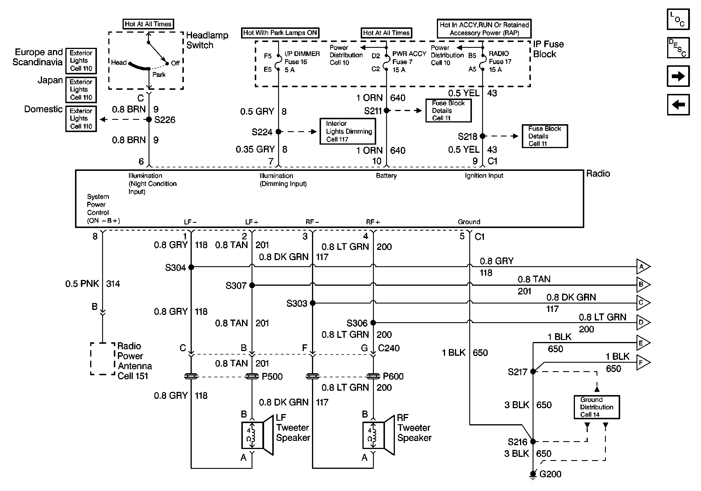
Cell 150: UZ7 Up-Level Speaker System (Chevrolet Coupe Only) Continued


Object Number: 454410  Size: FS
Entertainment Components
Radio/Audio System Circuit Description
Cell 150: W54, W55 Up-Level Entertainment Systems (Pontiac Coupe Only)
Cell 150: UZ7 Up-Level Speaker System (Chevrolet Coupe Only)
Fuse Block Schematics
Power Distribution Schematics
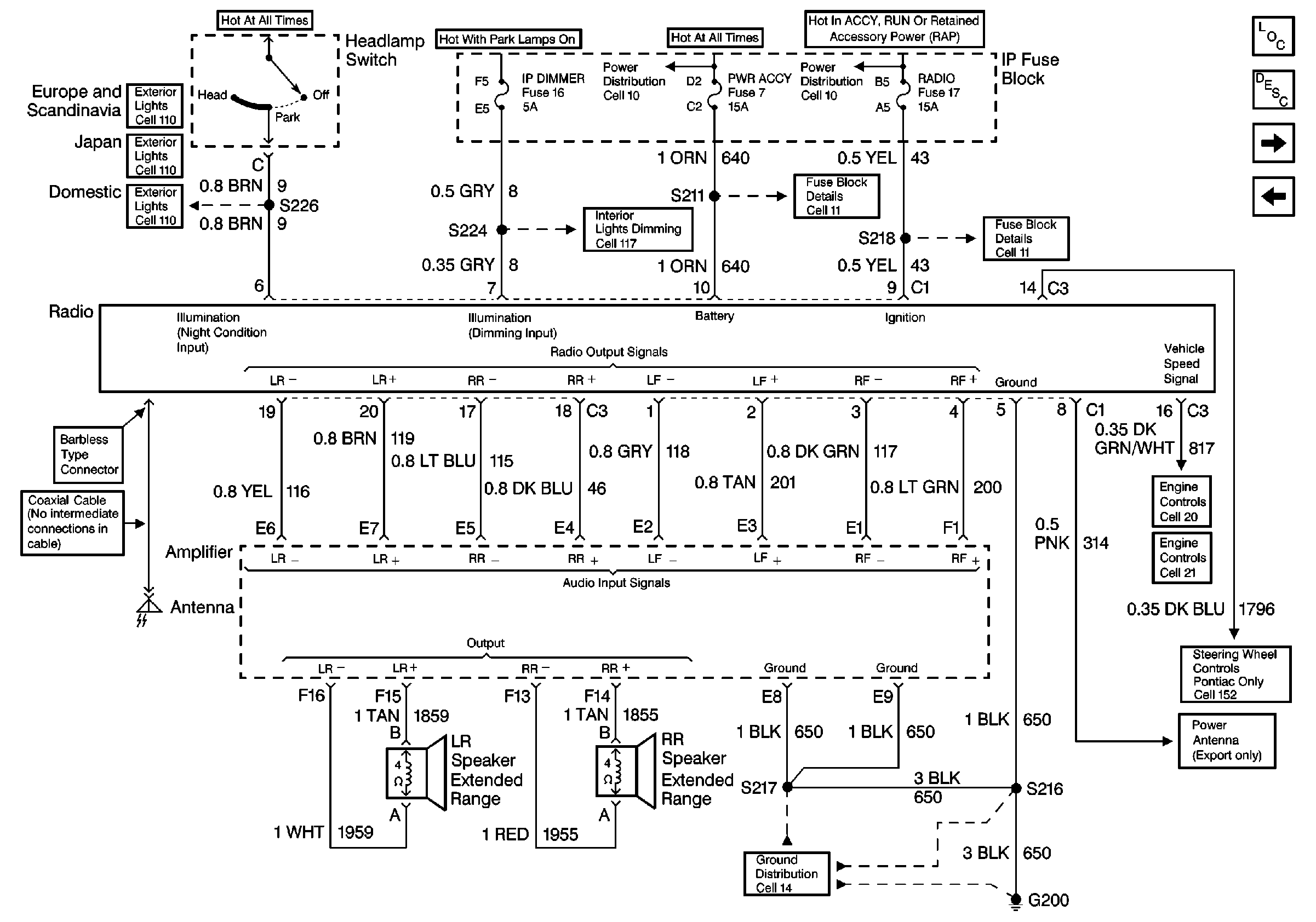
Figure 4:

Cell 150: W54, W55 Up-Level Entertainment Systems (Pontiac Coupe Only)


Object Number: 511065  Size: FS
Entertainment Components
Radio/Audio System Circuit Description
Cell 150: W54, W55 Up-Level Entertainment Systems (Pontiac Coupe Only)Continued
Interior Lights Dimming Schematics
Fuse Block Schematics
Fuse Block Schematics
Ground Distribution Schematics
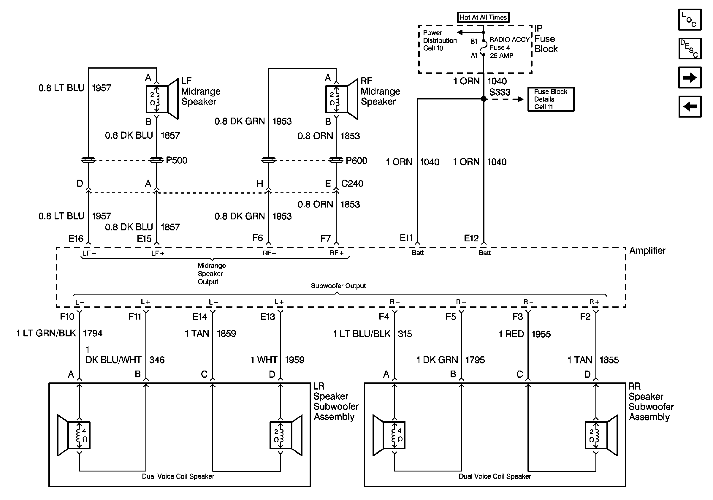
Cell 150: W54, W55 Up-Level Entertainment Systems (Pontiac Coupe Only)Continued
Power Distribution Schematics
Cell 150: UZ7 Up-Level Speaker System (Chevrolet Coupe Only)
Exterior Lights Schematics Europe and Scandinavia
Exterior Lights Schematics Japan
Exterior Lights Schematics Domestic
Power Distribution Schematics
Power Antenna Schematics
Figure 5:

Cell 150: W54, W55 Up-Level Entertainment Systems (Pontiac Coupe Only) Continued


Object Number: 511067  Size: FS
Entertainment Components
Radio/Audio System Circuit Description
Cell 150: W54, W55 Up-Level Entertainment Systems (Pontiac Coupe Only)Continued
Cell 150: W54, W55 Up-Level Entertainment Systems (Pontiac Coupe Only)
Cell 150: W54, W55 Up-Level Entertainment Systems (Pontiac Coupe Only)
Cell 150: W54, W55 Up-Level Entertainment Systems (Pontiac Coupe Only)
Steering Wheel Controls Schematics
Figure 6:

Cell 150: W54, W55 Up-Level Entertainment Systems (Pontiac Coupe Only) Continued


Object Number: 511071  Size: FS
Entertainment Components
Radio/Audio System Circuit Description
Cell 150: W54, W55 Up-Level Entertainment Systems (Pontiac Coupe Only)Continued
Cell 150: W59/W73 Entertainment Systems (Pontiac Convertible Only)
Power Distribution Schematics
Fuse Block Schematics
Figure 7:

Cell 150: W59/W73 Entertainment Systems (Pontiac Convertible Only)


Object Number: 454497  Size: FS
Entertainment Components
Radio/Audio System Circuit Description
Cell 150: W54, W55 Up-Level Entertainment Systems (Pontiac Coupe Only)Continued
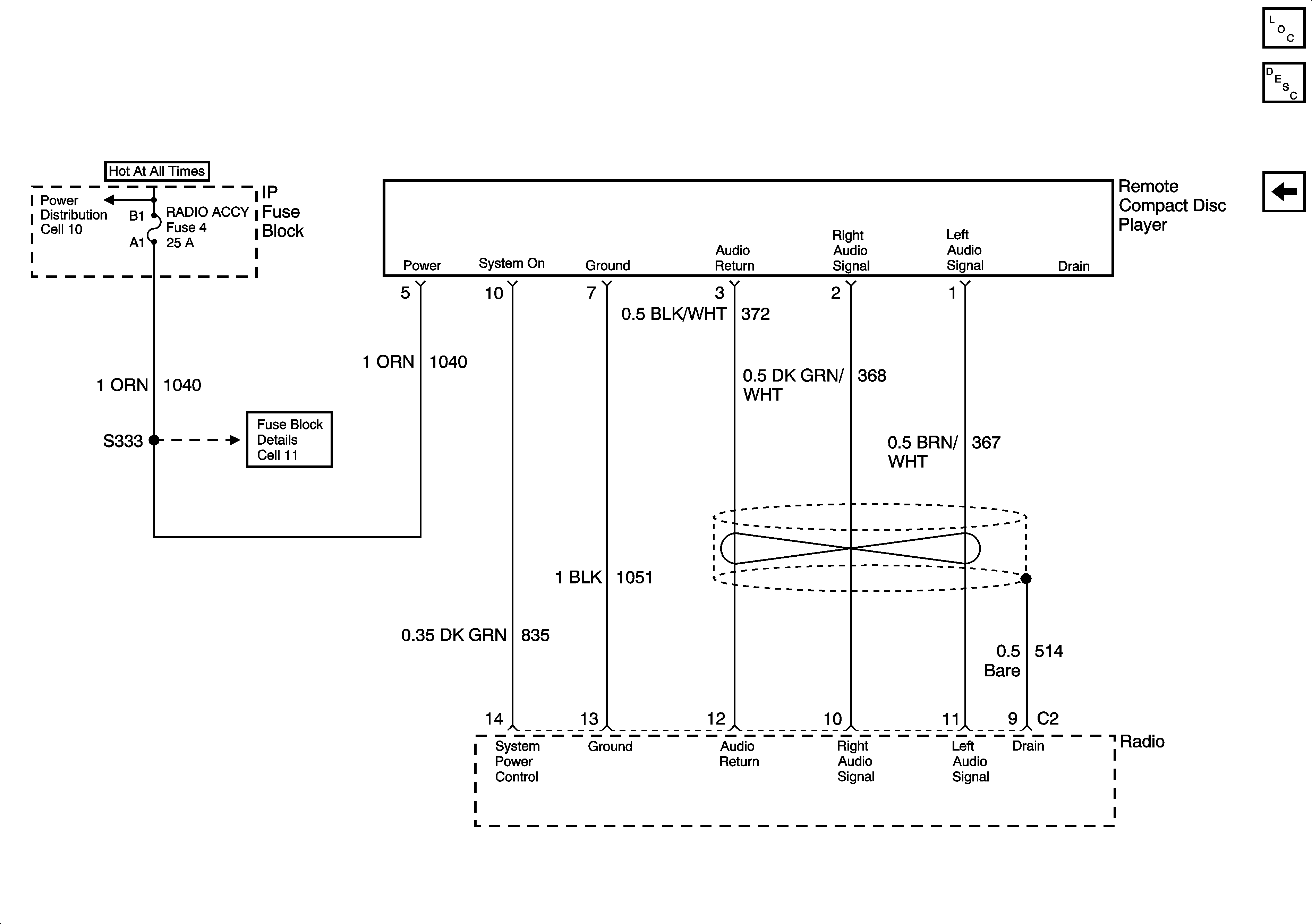
Cell 150: Remote Compact Disc Player
Steering Wheel Controls Schematics
Power Antenna Schematics
Fuse Block Schematics
Fuse Block Schematics
Interior Lights Dimming Schematics
Exterior Lights Schematics Domestic
Exterior Lights Schematics Japan
Exterior Lights Schematics Europe and Scandinavia
Power Distribution Schematics
Power Distribution Schematics
Ground Distribution Schematics
Figure 8:

Cell 150: Remote Compact Disc Player


Object Number: 454490  Size: FS
Entertainment Components
Radio/Audio System Circuit Description
Cell 150: W59/W73 Entertainment Systems (Pontiac Convertible Only)
Fuse Block Schematics
Power Distribution Schematics