GM Service Manual Online
For 1990-2009 cars only
Makes
🢒
Pontiac
🢒
1998
🢒
Firebird
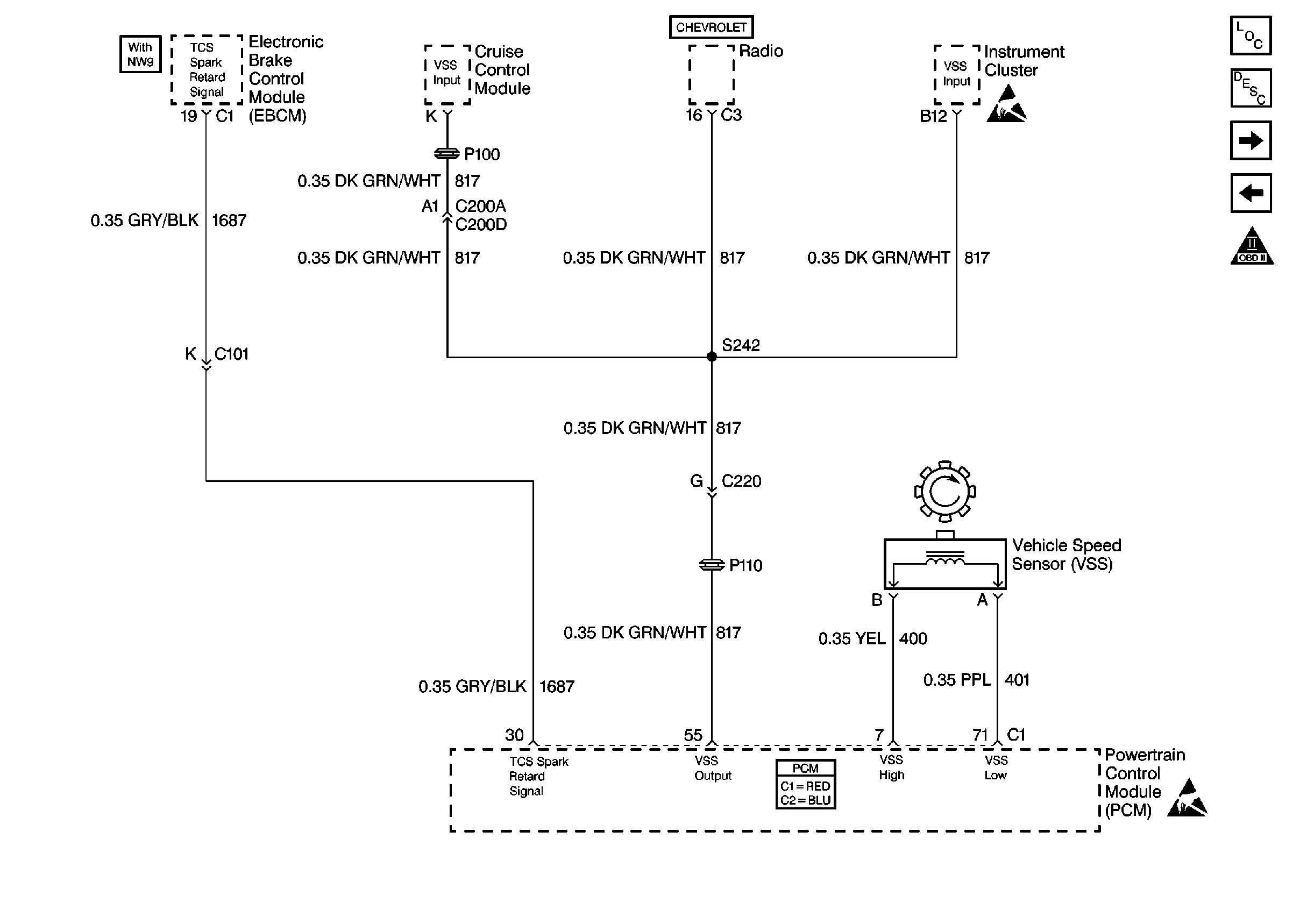
🢒 TCS Retard Signal, VSS Output and VSS Signal
TCS Retard Signal, VSS Output and VSS Signal
TCS Retard Signal, VSS Output and VSS Signal
Engine Controls Components
Information Sensors/Switches Description
EVAP and EGR
AIR and IAC
OBD II Symbol Description Notice
Handling ESD Sensitive Parts Notice
Handling ESD Sensitive Parts Notice