GM Service Manual Online
For 1990-2009 cars only

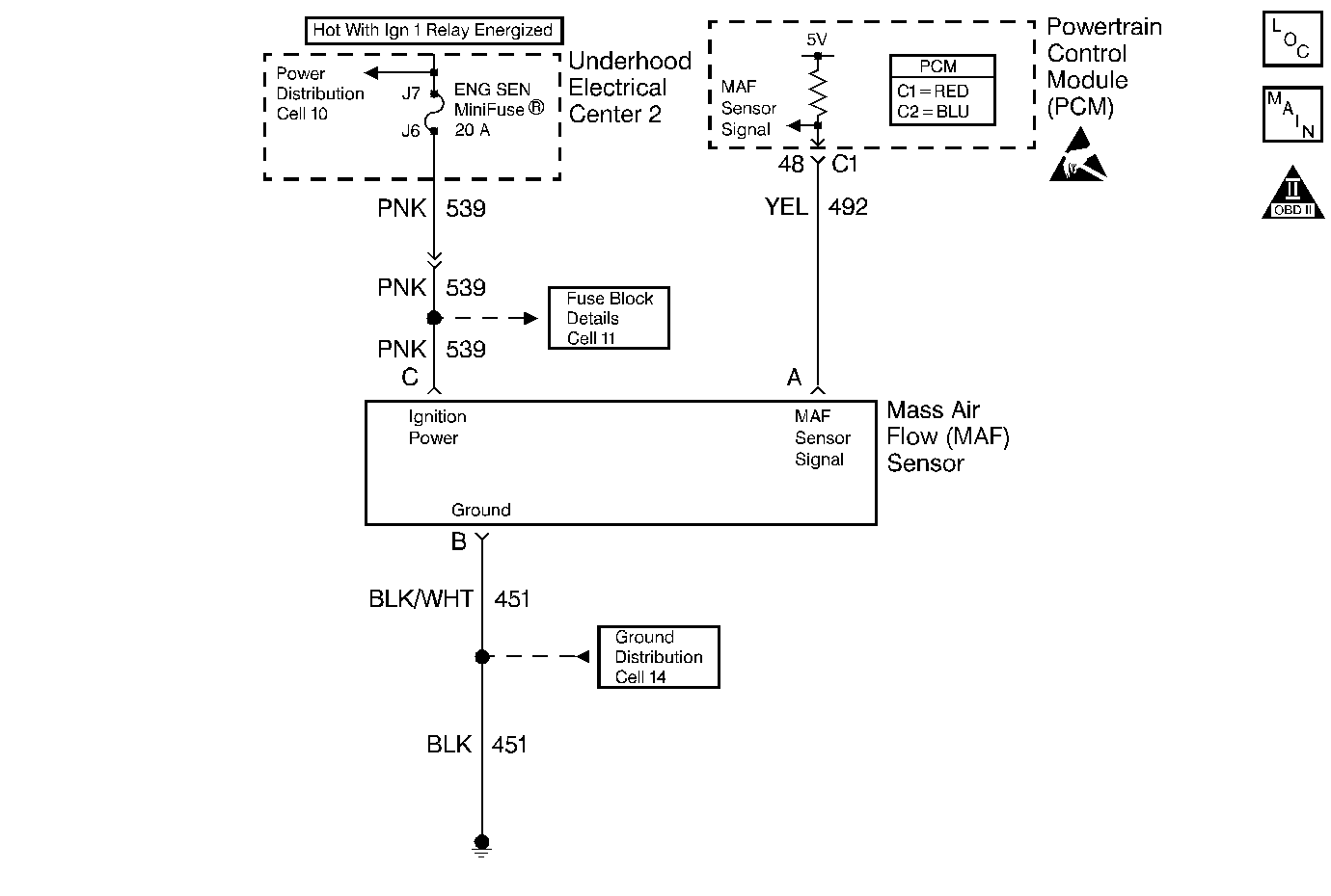
Object Number: 218496  Size: MF
Engine Controls Components
Information Sensors
OBD II Symbol Description Notice
Handling ESD Sensitive Parts Notice

Circuit Description

The Mass Air Flow (MAF) sensor measures the amount of air ingested by the engine. The direct measurement of the air entering the engine is more accurate than calculating the airflow from the MAP, the IAT, and the engine speed (speed/density). The MAF sensor has a battery feed, a ground, and a signal circuit.

The MAF sensor used on this engine is a hot wire type. This engine uses the MAF sensor in order to measure air flow rate. The MAF output frequency is a function of the power required to keep the air flow sensing elements (hot wires) at a fixed temperature above the ambient temperature. Air flowing through the sensor cools the sensing elements. The amount of cooling is proportional to the amount of air flow. The MAF sensor requires a greater amount of current in order to maintain the hot wires at a constant temperature as the air flow increases. The MAF sensor converts the changes in current draw to a frequency signal read by the PCM. The PCM calculates the air flow (grams per second) based on this signal.

The PCM monitors the MAF sensor frequency. The PCM determines if the sensor is stuck low, stuck high, not providing the airflow value expected for a given operating condition, or that the signal appears to be stuck based on a lack of signal variation expected during the normal operation. This diagnostic tests for too low an airflow rate. This DTC sets when the PCM detects that the MAF sensor frequency is below a predetermined value.

Conditions for Running the DTC

    • The engine speed is greater than 300 RPM.
    • The system voltage is at least 8.0 volts.

Conditions for Setting the DTC

    • The MAF frequency is less than 10 Hz.
    • All conditions met for 1 second

Action Taken When the DTC Sets

    • The PCM illuminates the malfunction indicator lamp (MIL) on the second consecutive ignition cycle that the diagnostic runs and fails.
    • The PCM records the operating conditions at the time the diagnostic fails. The first time the diagnostic fails, the PCM stores this information in the Failure Records. If the diagnostic reports a failure on the second consecutive ignition cycle, the PCM records the operating conditions at the time of the failure. The PCM writes the conditions to the Freeze Frame and updates the Failure records.
    • The PCM utilizes speed density (RPM, MAP, IAT) for fuel management.

Conditions for Clearing the MIL/DTC

    • The PCM turns OFF the malfunction indicator lamp (MIL) after 3 consecutive ignition cycles that the diagnostic runs and does not fail.
    • A last test failed, or current DTC, clears when the diagnostic runs and does not fail.
    • A history DTC clears after 40 consecutive warm-up cycles, if no failures are reported by this or any other emission related diagnostic.
    • Use a scan tool in order to clear the MIL and the DTC.

Diagnostic Aids

Important: 

   • Remove any debris from the PCM connector surfaces before servicing the PCM. Inspect the PCM connector gaskets when diagnosing/replacing the PCM. Ensure that the gaskets are installed correctly. The gaskets prevent water intrusion into the PCM.
   • For any test that requires probing the PCM or component harness connectors, use the Connector Test Adapter Kit J 35616 . Using this kit prevents damage to the harness connector terminals. Refer to Using Connector Test Adapters in Wiring Systems.

    •  The following may cause an intermittent:
       - Mis-routed harness
       - Rubbed through wire insulation
       - Broken wire inside the insulation
    • Any un-metered air may cause this DTC to set. Inspect for the following:
       - An engine vacuum leak
       - The PCV system for vacuum leaks
       - An incorrect PCV valve
       - The engine oil dip stick not fully seated
       - The engine oil fill cap loose or missing
    • For an intermittent, refer to Symptoms .

Test Description

The numbers below refer to the step numbers on the diagnostic table.

  1. Monitoring the MAF sensor frequency will determine if the fault is present or the malfunction is intermittent.

  2. Using the Freeze Frame and/or Failure Records data may aid in locating an intermittent condition. If you cannot duplicate the DTC, the information included in the Freeze Frame and/or Failure Records data can help determine how many miles since the DTC set. The Fail Counter and Pass Counter can also help determine how many ignition cycles the diagnostic reported a pass and/or a fail. Operate the vehicle within the same freeze frame conditions (RPM, load, vehicle speed, temperature etc.) that you observed. This isolates when the DTC failed.

  3. This step tests whether the MAF sensor ignition feed circuit is shorted to a ground. If the fuse is open, repair the circuit as necessary and replace the fuse.

  4. This step tests whether the 5.0 volts is available to the MAF sensor signal circuit.

  5. This step tests if the signal circuit is shorted to another 5.0 volt reference circuit. If another DTC sets, repair the circuits that are shorted together. If no DTCs set it may be necessary to road test the vehicle.

  6. Inspect the fuse 19 for being open. If the fuse is open, inspect the MAF sensor ignition feed circuit for a short to ground.

  7. This step verifies whether B+ is available to the MAF sensor.

Step

Action

Value(s)

Yes

No

1

Did you perform the Powertrain On-Board Diagnostic (OBD) System Check?

--

Go to Step 2

Go to Powertrain On Board Diagnostic (OBD) System Check

2

  1. Install a scan tool.
  2. Idle the engine.
  3. Monitor the MAF sensor frequency display on the Engine 2 Data List of the scan tool.

Is the MAF sensor frequency below the specified value?

10 Hz

Go to Step 4

Go to Step 3

3

  1. Turn ON the ignition leaving the engine OFF.
  2. Review the Freeze Frame and/or Failure Records data for this DTC and observe the parameters.
  3. Turn OFF the ignition for 15 seconds.
  4. Start the engine.
  5. Operate the vehicle within the conditions required for this diagnostic to run, and as close to the conditions recorded in the Freeze Frame/Failure Records as possible. Special operating conditions that you need to meet before the PCM will run this diagnostic, where applicable, are listed in Conditions for Running the DTC.
  6. Select the Diagnostic Trouble Code (DTC) option, the Specific DTC option, then enter the DTC number using the scan tool.

Does the scan tool indicate that this diagnostic failed this ignition?

--

Go to Step 4

Go to Diagnostic Aids

4

Is the ENG SEN fuse open?

--

Go to Step 19

Go to Step 5

5

  1. Turn OFF the ignition.
  2. Disconnect the MAF sensor connector.
  3. Turn ON the ignition leaving the engine OFF.
  4. Measure the voltage between the MAF sensor signal circuit and the battery ground using the DMM J 39200 . Refer to Measuring Voltage in Wiring Systems.

Is the voltage near the specified value?

5V

Go to Step 6

Go to Step 7

6

Important: If the engine does not start when the MAF sensor signal circuit is grounded, and no additional DTC sets, monitor the scan tool parameters for a sensor value that is not within range. This will aid in locating a short to another 5.0 volt circuit.

  1. Turn OFF the ignition.
  2. Jumper the MAF sensor signal circuit to battery ground using a fused jumper wire. Refer to Using Fused Jumper Wires in Wiring Systems.
  3. Start the engine.

Do any additional DTCs set?

--

Go to Step 20

Go to Step 11

7

  1. Turn OFF the ignition.
  2. Disconnect the PCM. Refer to Powertrain Control Module Replacement/Programming .
  3. Turn ON the ignition leaving the engine OFF.
  4. Measure the voltage at the MAF sensor signal circuit at the PCM harness connector using the DMM J 39200 . Refer to Probing Electrical Connectors in Wiring Systems.

Does the DMM display a voltage?

--

Go to Step 14

Go to Step 8

8

  1. Turn OFF the ignition.
  2. Test for continuity of the MAF sensor signal circuit using the DMM J 39200 . Refer to Testing for Continuity in Wiring Systems.

Does the DMM display OL?

--

Go to Step 15

Go to Step 9

9

Test for continuity of the MAF sensor signal circuit to battery ground using the DMM J 39200 . Refer to Testing for Continuity in Wiring Systems.

Does the DMM display OL?

--

Go to Step 10

Go to Step 16

10

Test for continuity at the PCM harness between the MAF sensor signal circuit and all other circuits at both PCM connectors using the DMM J 39200 . Refer to Testing for Continuity in Wiring Systems.

Does the DMM display OL?

--

Go to Step 17

Go to Step 22

11

Connect the test lamp J 35616-200 between the MAF sensor ignition feed circuit and the ground at the MAF sensor harness connector.

Does the test lamp illuminate?

--

Go to Step 13

Go to Step 12

12

Connect the test lamp J 35616-200 between the MAF sensor ignition feed circuit and the battery ground.

Does the test lamp illuminate?

--

Go to Step 18

Go to Step 19

13

  1. Inspect for a poor connection at the MAF sensor harness terminals. Refer to Intermittents and Poor Connections Diagnosis in Wiring Systems.
  2. If you find a poor connection, repair the condition as necessary. Refer to Repairing Connector Terminals in Wiring Systems.

Did you find and correct the condition?

--

Go to Step 24

Go to Step 21

14

Repair the short to voltage in the MAF sensor signal circuit. Refer to Wiring Repairs in Wiring Systems.

Is the action complete?

--

Go to Step 24

--

15

Repair the open in the MAF sensor signal circuit. Refer to Wiring Repairs in Wiring Systems.

Is the action complete?

--

Go to Step 24

--

16

Repair the short to ground in the MAF sensor signal circuit. Refer to Wiring Repairs in Wiring Systems.

Is the action complete?

--

Go to Step 24

--

17

Repair the circuits that are shorted together. Refer to Wiring Repairs in Wiring Systems.

Is the action complete?

--

Go to Step 24

--

18

Repair the MAF sensor ground circuit for an open. Refer to Wiring Repairs in Wiring Systems.

Is the action complete?

--

Go to Step 24

--

19

  1. Repair the open or grounded ignition feed circuit to the MAF sensor. Refer to Wiring Repairs in Wiring Systems.
  2. Replace the fuse if necessary.

Is the action complete?

--

Go to Step 24

--

20

Repair the circuits that are shorted together between the MAF sensor signal circuit and the circuit for which the DTC set. Refer to Wiring Repairs in Wiring Systems

Is the action complete?

--

Go to Step 24

--

21

Replace the MAF sensor. Refer to Mass Airflow Sensor Replacement .

Is the action complete?

--

Go to Step 24

--

22

  1. Inspect for a poor connection at the PCM. Refer to Intermittents and Poor Connections Diagnosis in Wiring Systems.
  2. If you find a poor connection, repair the condition as necessary. Refer to Repairing Connector Terminals in Wiring Systems.

Did you find and correct the condition?

--

Go to Step 24

Go to Step 23

23

Important: Program the replacement PCM. Refer to Powertrain Control Module Replacement/Programming .

Replace the PCM.

Is the action complete?

--

Go to Step 24

--

24

  1. Select the Diagnostic Trouble Code (DTC) option and the Clear DTC Information option using the scan tool.
  2. Idle the engine at the normal operating temperature.
  3. Select the Diagnostic Trouble Code (DTC) option and the Specific DTC option, then enter the DTC number using the scan tool.
  4. Operate the vehicle within the Conditions for Running the DTC as specified in the supporting text, if applicable.

Does the scan tool indicate that this test ran and passed?

--

Go to Step 25

Go to Step 2

25

Select the Capture Info option and the Review Info option using the scan tool.

Does the scan tool display any DTCs that you have not diagnosed?

--

Go to the applicable DTC table

System OK