GM Service Manual Online
For 1990-2009 cars only

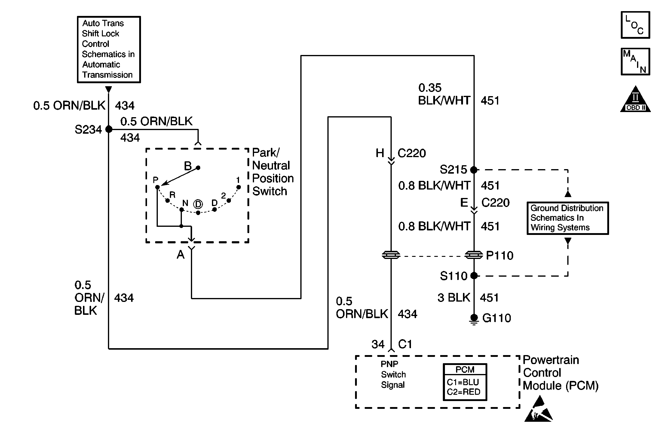
Object Number: 604564  Size: MF
Engine Controls Component Views
Automatic Transmission and Park/Neutral Position Switch
OBD II Symbol Description Notice
Handling ESD Sensitive Parts Notice

Circuit Description

The Park/Neutral Position (PNP) switch contacts are closed to ground in park and neutral. The PCM applies a voltage (about 12.0 Volts) to the switch. When the gear selector is in the park or neutral position, the PNP switch is closed and the PCM senses low signal voltage. When the gear selector is in reverse or a drive range, the PNP switch opens, and the PCM senses high signal voltage. The PCM will increase the idle air rate to compensate for the additional load on the engine when the transmission is in gear.

Some of the PCMs other uses for the PNP signal are:

    • Vehicle Speed Sensor (VSS) diagnostics
    • Exhaust Gas Recirculation (EGR) operation

Diagnostic Aids

Important: 

   • Remove any debris from the PCM connector surfaces before servicing the PCM. Inspect the PCM connector gaskets when diagnosing/replacing the PCM. Ensure that the gaskets are installed correctly. The gaskets prevent water intrusion into the PCM.
   • For any test that requires probing the PCM or component harness connectors, use the J 35616 connector test adapter kit. Using this kit prevents any damage to the harness connector terminals. Refer to Using Connector Test Adapters in Wiring Systems.

A PNP switch that does not close or an open circuit may cause the engine idle speed to drop when the vehicle is shifted into gear.

A switch that will not open or the signal circuit shorted to ground will cause the EGR system to be inoperative, possibly resulting in excessive spark knock.

Inspect all related wiring and connectors including the connections at the PCM. These may cause an intermittent malfunction. Inspect for damaged, corroded or pushed out terminals.

Step

Action

Value(s)

Yes

No

1

Did you perform the Powertrain On-Board Diagnostic (OBD) System Check?

--

Go to Step 2

Go to Powertrain On Board Diagnostic (OBD) System Check .

2

  1. Install the scan tool.
  2. Turn ON the ignition leaving the engine OFF.
  3. Transmission in Park. Observe the scan tool parameter.
  4. Place the transmission in Neutral. Observe the scan tool parameter.

Does the scan tool indicate Park/Neutral for both positions?

--

Go to Step 3

Go to Step 4

3

Shift the transmission into Drive.

Does the scan tool indicate Drive?

--

Go to Diagnostic Aids

Go to Step 7

4

  1. Disconnect the Park/Neutral Position switch connector. Refer to Park/Neutral Position Switch Replacement in Automatic Transmission-4L60-E.
  2. Jumper the PNP harness connector terminals A and B using a fused jumper wire. Refer to Using Fused Jumper Wires in Wiring Systems.

Does the scan tool indicate Park/Neutral?

--

Go to Step 10

Go to Step 5

5

Probe terminal B in the PNP switch harness connector using a fused jumper wire connected to ground. Refer to Using Fused Jumper Wires in Wiring Systems.

Does the scan tool indicate Park/Neutral?

--

Go to Step 13

Go to Step 6

6

  1. Leave the fused jumper wire in place.
  2. Turn OFF the ignition.
  3. Disconnect the PCM connector C1 located on the same side as the manufacturer's logo. Refer to Powertrain Control Module Replacement/Programming .
  4. Probe the PNP circuit at the PCM harness connector using the test lamp J 35616-200 connected to B+.

Does the test lamp illuminate?

--

Go to Step 9

Go to Step 11

7

Disconnect the Park/Neutral Position switch connector.

Does the scan tool indicate Drive (R-D321)?

--

Go to Step 10

Go to Step 8

8

  1. Turn OFF the ignition.
  2. Disconnect the PCM connector C1 located on the same side as the manufacturer's logo. Refer to Powertrain Control Module Replacement/Programming .
  3. Turn ON the ignition.

Does the scan tool indicate Drive (R-D321)?

--

Go to Step 12

Go to Step 15

9

  1. Inspect for a poor connection at the PCM. Refer to Testing for Intermittent Conditions and Poor Connections in Wiring Systems.
  2. If you find a poor connection repair the terminal as necessary. Refer to Repairing Connector Terminals in Wiring Systems.

Did you find and correct the condition?

--

Go to Step 16

Go to Step 15

10

  1. Inspect for faulty connections at the PNP switch or PNP switch out of adjustment. Refer to Testing for Intermittent Conditions and Poor Connections in Wiring Systems and Park/Neutral Position Switch Adjustment in Automatic Transmission-4L60-E.
  2. If you find a poor connection repair the terminal as necessary. Refer to Repairing Connector Terminals in Wiring Systems.

Did you find and correct the condition?

--

Go to Step 16

Go to Step 14

11

Repair the open PNP signal circuit. Refer to Wiring Repairs in Wiring Systems.

Is the repair complete?

--

Go to Step 16

--

12

Repair the PNP signal circuit shorted to ground. Refer to Wiring Repairs in Wiring Systems.

Is the repair complete?

--

Go to Step 16

--

13

Repair the open PNP ground circuit. Refer to Wiring Repairs in Wiring Systems.

Is the repair complete?

--

Go to Step 16

--

14

Replace the PNP switch. Refer to Park/Neutral Position Switch Replacement in Automatic Transmission.

Is the repair complete?

--

Go to Step 16

--

15

Important:: Program the replacement PCM. Refer to Powertrain Control Module Replacement/Programming .

Replace the PCM.

Is the action complete?

--

Go to Step 16

--

16

Operate the vehicle within the conditions under which the original symptom was noted.

Does the system now operate properly?

--

System OK

Go to Step 2