GM Service Manual Online
For 1990-2009 cars only
Makes
🢒
Pontiac
🢒
2000
🢒
Firebird
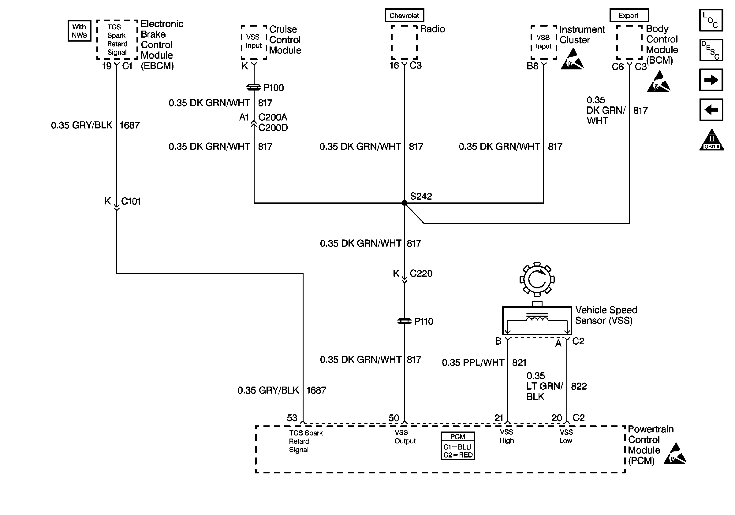
🢒 TCS Retard Signal, VSS Output and VSS Signal
TCS Retard Signal, VSS Output and VSS Signal
TCS Retard Signal, VSS Output and VSS Signal
Engine Controls Components
Information Sensors/Switches Description
EVAP and EGR
AIR and IAC
OBD II Symbol Description Notice
Handling ESD Sensitive Parts Notice
Handling ESD Sensitive Parts Notice
Handling ESD Sensitive Parts Notice
Powertrain Control Module Connector End Views