GM Service Manual Online
For 1990-2009 cars only
Makes
🢒
Pontiac
🢒
2000
🢒
Firebird
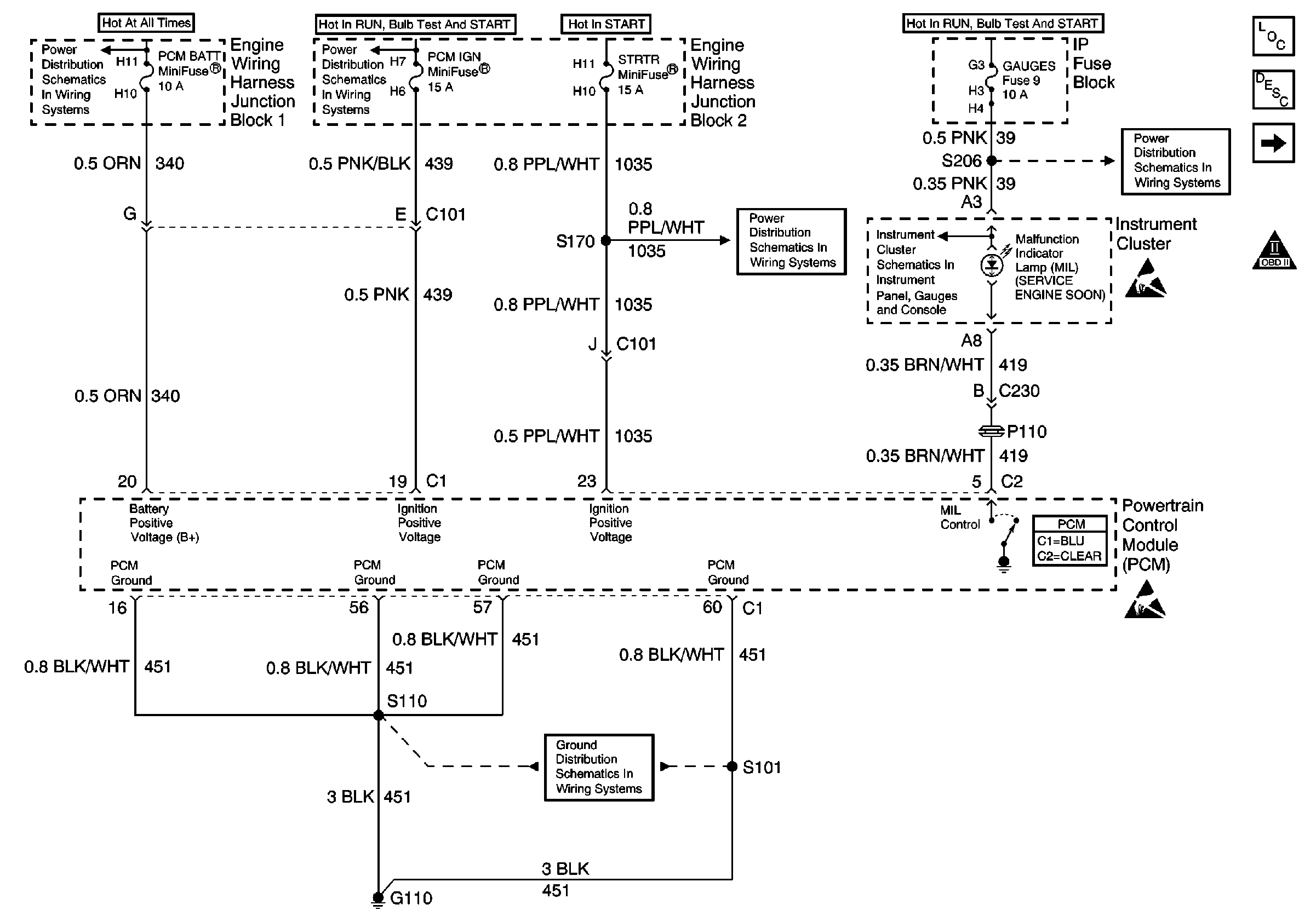
🢒 Power and Ground
Power and Ground
Power and Ground
Engine Controls Components
Powertrain Control Module Controlled Warning Lamps Description
Ignition Relay
OBD II Symbol Description Notice
AIR BAG and GAUGES Fuses
Handling ESD Sensitive Parts Notice
Handling ESD Sensitive Parts Notice
Instrument Cluster Indicators
ABS IGN, PCM IGN, and STRTR Fuses
G110 V6 VIN K
ABS IGN, PCM IGN, and STRTR Fuses
AIR PUMP, FUEL PUMP and PCM BAT Fuses
Powertrain Control Module Connector End Views