GM Service Manual Online
For 1990-2009 cars only
Makes
🢒
Pontiac
🢒
2000
🢒
Firebird
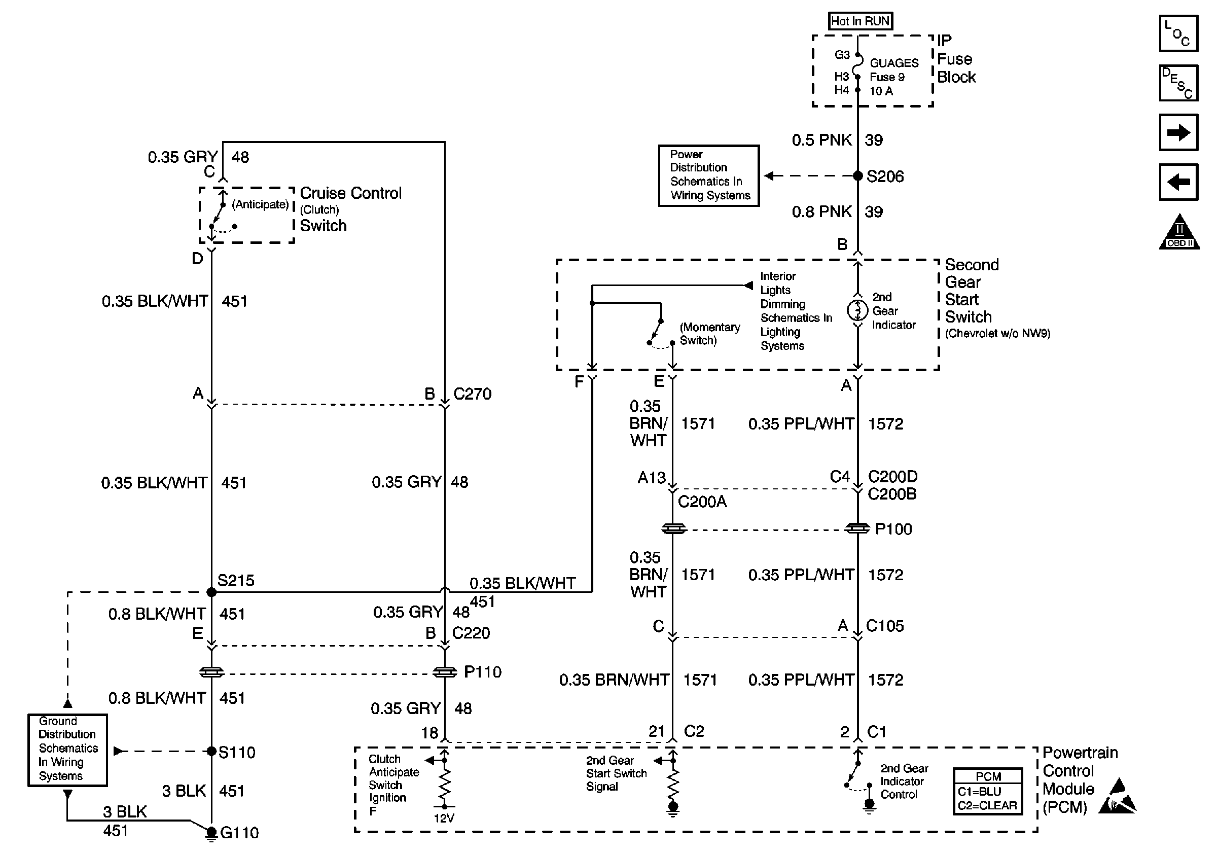
🢒 Second Gear Start, Cruise Control Switches
Second Gear Start, Cruise Control Switches
Second Gear Start, Cruise Control Switches
Engine Controls Components
Information Sensors/Switches Description
Automatic Transmission, Brake Switch
TAC Module, TAC
OBD II Symbol Description Notice
Handling ESD Sensitive Parts Notice
AIR BAG and GAUGES Fuses
G110 V6 VIN K
Powertrain Control Module Connector End Views