GM Service Manual Online
For 1990-2009 cars only
Makes
🢒
Pontiac
🢒
2000
🢒
Firebird
🢒 Oxygen Sensors
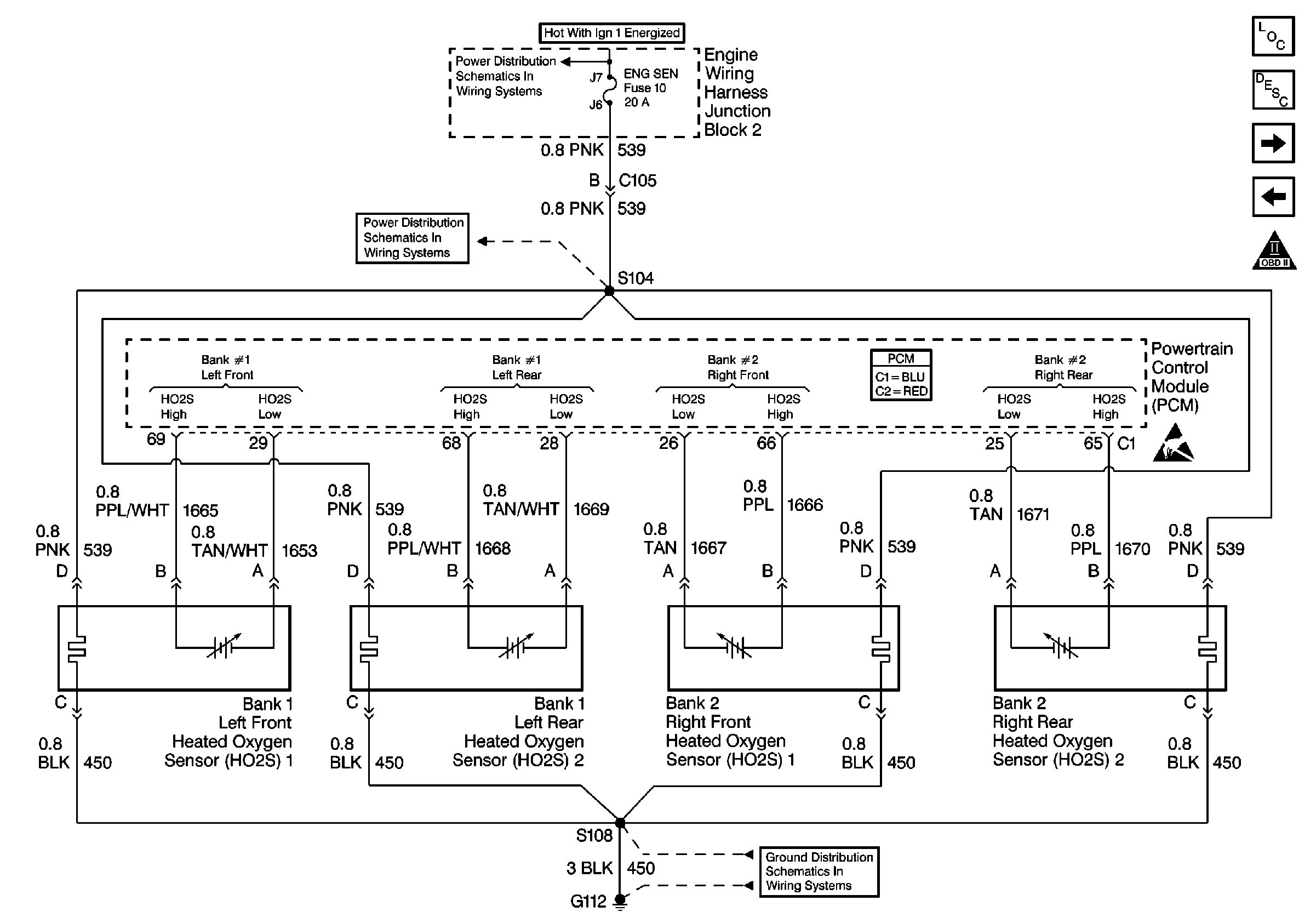
Oxygen Sensors
Oxygen Sensors
Engine Controls Components
Information Sensors/Switches Description
AIR Pump and IAC
Engine Sensors
OBD II Symbol Description Notice
Handling ESD Sensitive Parts Notice
ENG SEN Fuse
ENG SEN Fuse
Powertrain Control Module Connector End Views
G112 V8 VIN G