GM Service Manual Online
For 1990-2009 cars only

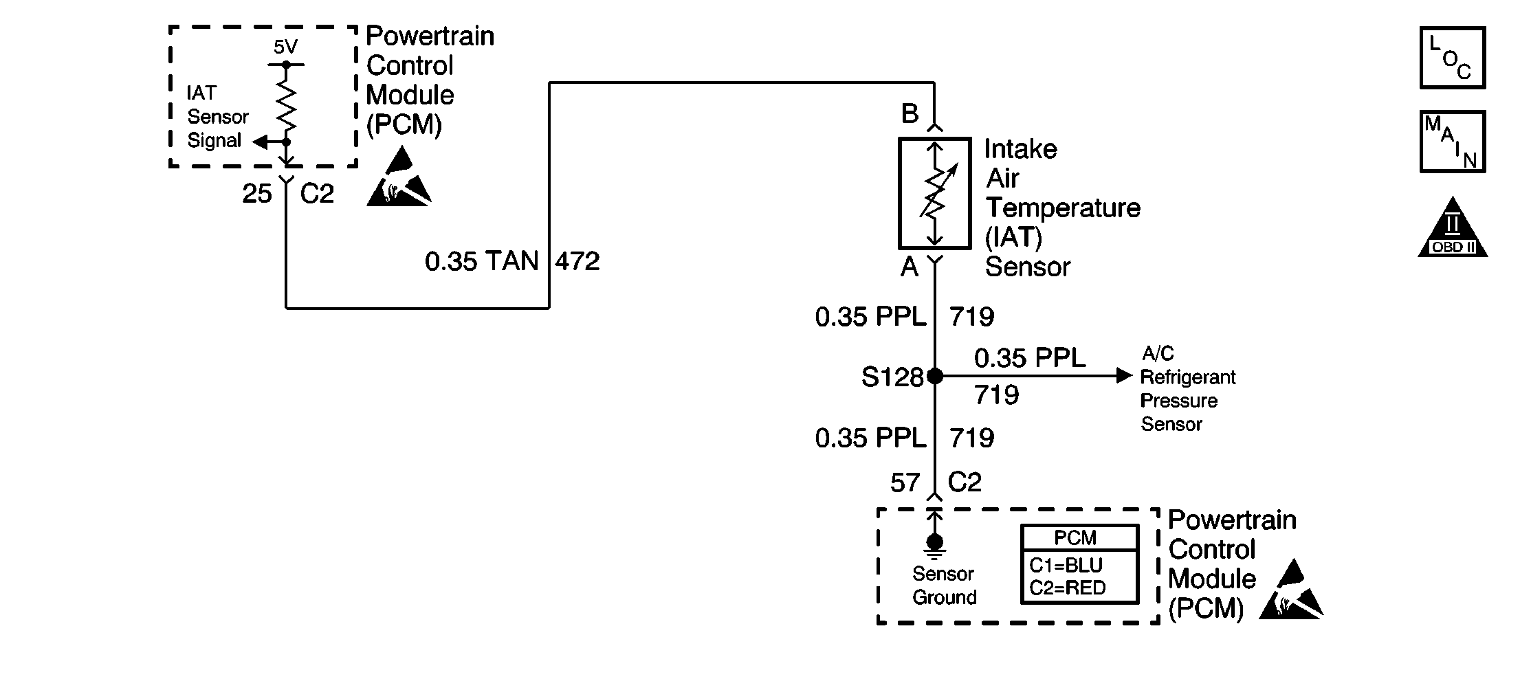
Object Number: 582415  Size: SF
Engine Controls Component Views
Engine Sensors
OBD II Symbol Description Notice
Handling ESD Sensitive Parts Notice
Handling ESD Sensitive Parts Notice

Circuit Description

The Intake Air Temperature (IAT) sensor contains a semiconductor device which changes resistance based on temperature (a thermistor). The IAT sensor mounts in the air intake passage of the engine air induction system. The IAT sensor has a signal circuit and a ground circuit. The PCM applies a voltage (about 5.0 volts) on the signal circuit to the sensor. The PCM monitors changes in this voltage caused by changes in the resistance of the sensor in order to determine the intake air temperature.

When the intake air is cold, the sensor (thermistor) resistance is high, and the PCMs signal voltage is only pulled down a small amount through the sensor to ground. The PCM senses a high signal voltage (low temperature). When the intake air is warm, the sensor resistance is low, and the signal voltage is pulled down a greater amount. This causes the PCM to sense a low signal voltage (high temperature).

When the PCM senses a signal voltage lower than the normal operating range of the sensor, this DTC sets.

Conditions for Running the DTC

    • DTCs P0102, P0103, P0117, P0118, P0500, P0502, P0503 are not set.
    • The engine run time is more than 100 seconds.
    • The engine coolant temperature is more than 0°C (32°F).
    • The vehicle speed is at least 40 km/h (25 mph).
    • The mass air flow is less than 15 g/s.

Conditions for Setting the DTC

    • The intake air temperature is less than -35°C (-31°F).
    • The intermittent condition exists for a total of 1 second during a 20 second time period.

Action Taken When the DTC Sets

    • The powertrain control module (PCM) stores the DTC information into memory when the diagnostic runs and fails.
    • The malfunction indicator lamp (MIL) will not illuminate.
    • The PCM records the operating conditions at the time the diagnostic fails. The PCM stores this information in the Failure Records.

Conditions for Clearing the DTC

    • A last test failed, or current DTC, clears when the diagnostic runs and does not fail.
    • A history DTC will clear after 40 consecutive warm-up cycles, if no failures are reported by this or any other non-emission related diagnostic.
    • Use a scan tool in order to clear the DTC.

Diagnostic Aids

Important: 

   • Remove any debris from the PCM connector surfaces before servicing the PCM. Inspect the PCM connector gaskets when diagnosing/replacing the PCM. Ensure that the gaskets are installed correctly. The gaskets prevent contaminate intrusion into the PCM.
   • For any test that requires probing the PCM or a component harness connector, use the J 35616 connector test adapter kit. Using this kit prevents damage to the harness/component terminals. Refer to Using Connector Test Adapters in Wiring Systems.

If the engine has sat overnight, the engine coolant temperature and intake air temperature values should display within a few degrees of each other. If the temperatures are not within 3°C (5°F), refer to Temperature Versus Resistance .

For an intermittent condition, refer to Symptoms .

Test Description

The numbers below refer to the step numbers on the diagnostic table.

  1. If DTC P0112 also failed this indicates a hard failure is present. When a hard failure is present, both the hard and intermittent DTCs set.

  2. When moving related connectors, visually/physically inspect connectors for the following:

  3. • Poor mating of the connector halves or a terminal not fully seated in the connector body (backed out).
    • Improperly formed or damaged terminals. Carefully reform or replace all connector terminals in the related circuits in order to insure proper terminal contact tension.
    • Poor terminal to wire connection. Inspect for poor crimps, crimping over wire insulation rather than the wire.
    • Dirt or corrosion on the terminals. Inspect for missing connector seals and for damage to the connector seals.
  4. When moving the related wiring harnesses, visually/physically inspect the wiring for the following:

  5. • Wire insulation that is rubbed through, causing an intermittent short.
    • Wiring broken inside the insulation.
  6. Using the Freeze Frame and/or Failure Records data may aid in locating an intermittent condition. If you cannot duplicate the DTC, the information included in the Freeze Frame and/or Failure Records data can help determine how many miles since the DTC set. The Fail Counter and Pass Counter can also help determine how many ignition cycles the diagnostic reported a pass and/or a fail. Operate the vehicle within the same freeze frame conditions (RPM, load, vehicle speed, temperature etc.) that you observed. This will isolate when the DTC failed.

Step

Action

Value(s)

Yes

No

1

Did you perform the Powertrain On-Board Diagnostic (OBD) System Check?

--

Go to Step 2

Go to Powertrain On Board Diagnostic (OBD) System Check

2

Did DTC P0112 also set?

--

Go to DTC P0112 Intake Air Temperature (IAT) Sensor Circuit Low Voltage

Go to Step 3

3

  1. Turn ON the ignition leaving the engine OFF.
  2. Observe the affected sensor value on a scan tool while moving related harness connectors (at the component and the PCM).

Does the sensor value change abruptly while a related connector is being moved?

--

Go to Step 6

Go to Step 4

4

Observe the affected sensor value on a scan tool while moving the related wiring harnesses.

Does the sensor value change abruptly while moving the related electrical harnesses?

--

Go to Step 7

Go to Step 5

5

  1. Turn ON the ignition leaving the engine OFF.
  2. Review the Freeze Frame and/or Failure Records data for this DTC and observe the parameters.
  3. Turn OFF the ignition for 15 seconds.
  4. Start the engine.
  5. Operate the vehicle within the conditions required for this diagnostic to run, and as close to the conditions recorded in the Freeze Frame/Failure Records as possible. Special operating conditions that you need to meet before the PCM will run this diagnostic, where applicable, are listed in Conditions for Running the DTC.
  6. Select the Diagnostic Trouble Code (DTC) option, the Specific DTC option, then enter the DTC number using the scan tool.

Does the scan tool indicate that this diagnostic failed this ignition?

--

Go to Step 8

Go to Diagnostic Aids

6

Repair the damaged connectors/terminals. Refer to Connector Repairs in Wiring Systems.

Is the action complete?

--

Go to Step 9

--

7

Repair the faulty wiring. Refer to Wiring Repairs in Wiring Systems.

Is the action complete?

--

Go to Step 9

--

8

  1. Re-inspect all the related circuits and the connectors.
  2. Replace the sensor/component if all the circuits have been tested thoroughly and no faults can be found.

Is the action complete?

--

Go to Step 9

--

9

  1. Select the Diagnostic Trouble Code (DTC) option and the Clear DTC Information option using the scan tool.
  2. Idle the engine at the normal operating temperature.
  3. Select the Diagnostic Trouble Code (DTC) option and the Specific DTC option, then enter the DTC number using the scan tool.
  4. Operate the vehicle within the Conditions for Running the DTC as specified in the supporting text, if applicable.

Does the scan tool indicate that this test ran and passed?

--

Go to Step 10

Go to Step 2

10

Select the Capture Info option and the Review Info option using the scan tool.

Does the scan tool display any DTCs that you have not diagnosed?

--

Go to the applicable DTC table

System OK