GM Service Manual Online
For 1990-2009 cars only
Makes
🢒
Pontiac
🢒
2001
🢒
Firebird
🢒 Fuel Injectors
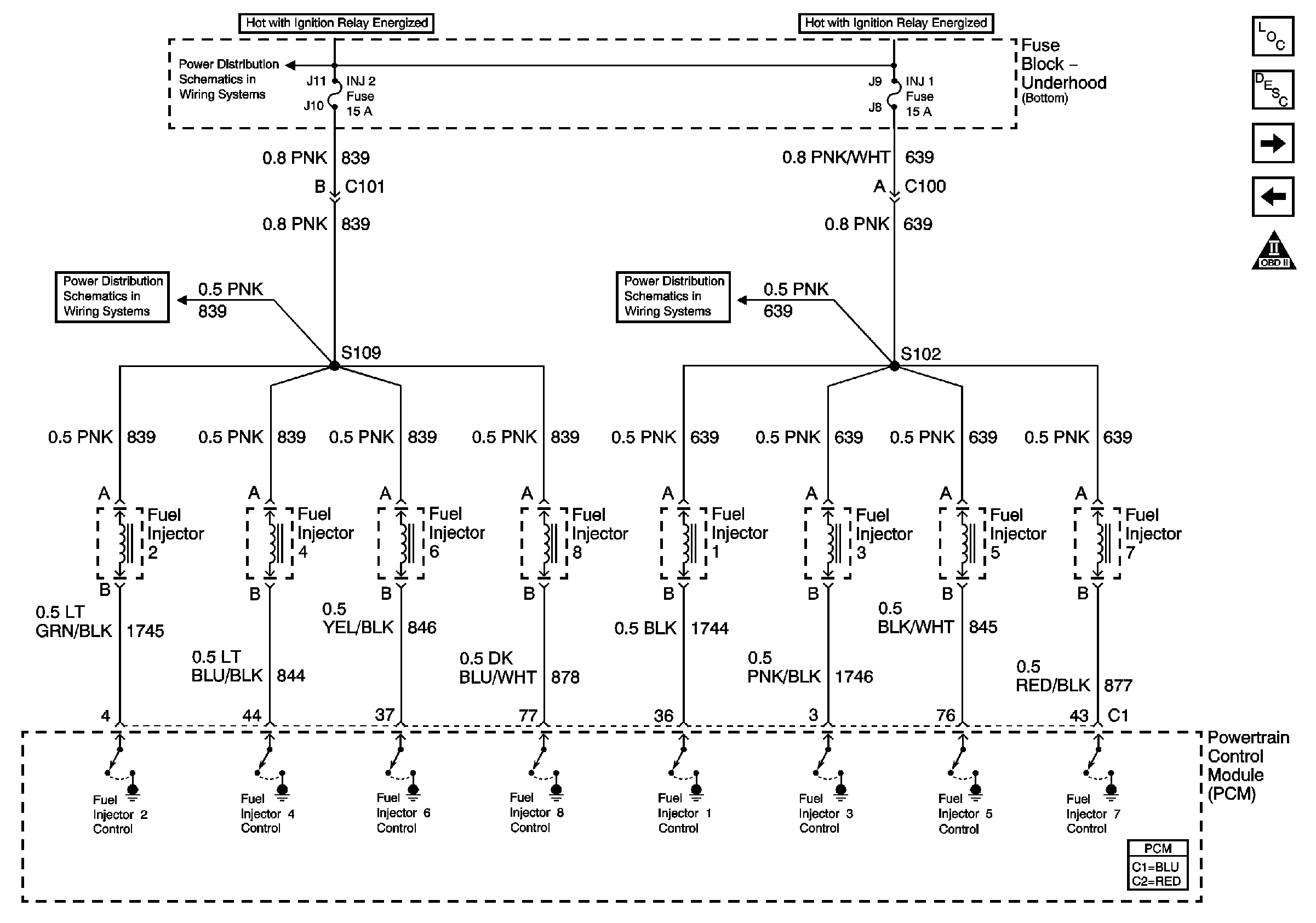
Fuel Injectors
Fuel Injectors
Master Electrical Component List
Fuel System Description
Engine Sensors
Fuel Tank Unit
OBD II Symbol Description Notice
INJ 2 Fuse
INJ 2 Fuse
INJ 1 Fuse
Powertrain Control Module Connector End Views