GM Service Manual Online
For 1990-2009 cars only
Makes
🢒
Pontiac
🢒
2001
🢒
Firebird
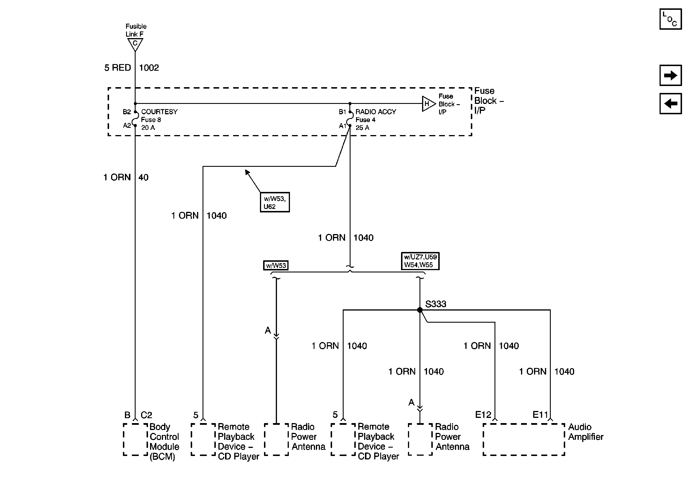
🢒 COURTESY and RADIO ACCY Fuses
COURTESY and RADIO ACCY Fuses
COURTESY and RADIO ACCY Fuses
Master Electrical Component List
DEFOG/SEATS Circuit Breaker
Fusible Links, CIG/ACCY, ENG CTRL, IGN, I/P-1, I/P-2, and PWR ACCY Fuses
Fusible Links, CIG/ACCY, ENG CTRL, IGN, I/P-1, I/P-2, and PWR ACCY Fuses
DEFOG/SEATS Circuit Breaker