GM Service Manual Online
For 1990-2009 cars only
Makes
🢒
Pontiac
🢒
2002
🢒
Firebird
🢒 Engine Data Sensors-Electronic Throttle Controls (TAC)
Engine Data Sensors-Electronic Throttle Controls (TAC)
Engine Data Sensors - Electronic Throttle Controls
Master Electrical Component List
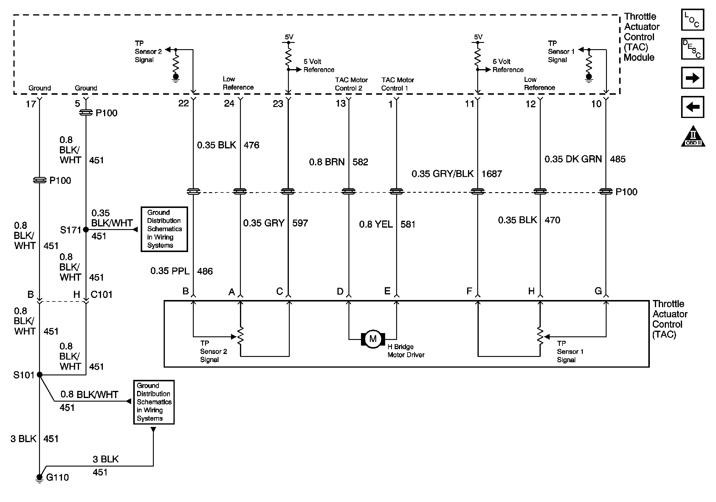
Throttle Actuator Control (TAC) System Description
Ignition Controls
Engine Data Sensors-Electronic Throttle Controls
OBD II Symbol Description Notice
G110 V6 L36
G110 V6 L36