GM Service Manual Online
For 1990-2009 cars only
Makes
🢒
Pontiac
🢒
2002
🢒
Firebird
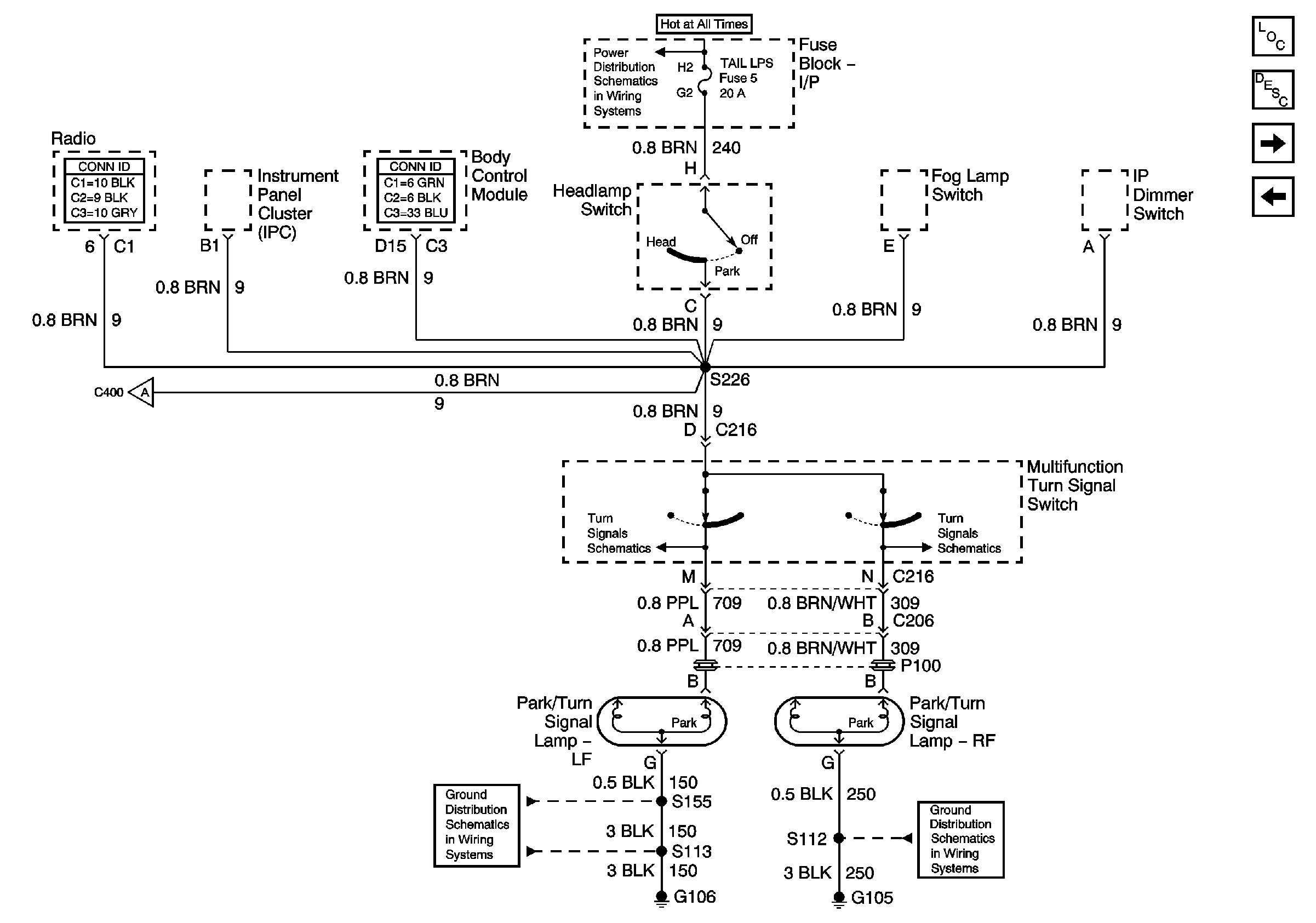
🢒 Front Park Lamps Chevrolet Japan
Front Park Lamps Chevrolet Japan
Front Park Lamps - Chevrolet - Japan
Master Electrical Component List
Exterior Lighting Systems Description and Operation
Rear Park Lamps Chevrolet Japan
Stoplamps Chevrolet Europe and Scandanavia
I/P-2,TAIL LPS, STOP/HAZARD,PWR ACCY and CIG/ACCY Fuses
Rear Park Lamps Chevrolet Japan
G106
G105