GM Service Manual Online
For 1990-2009 cars only
Makes
🢒
Pontiac
🢒
2002
🢒
Firebird
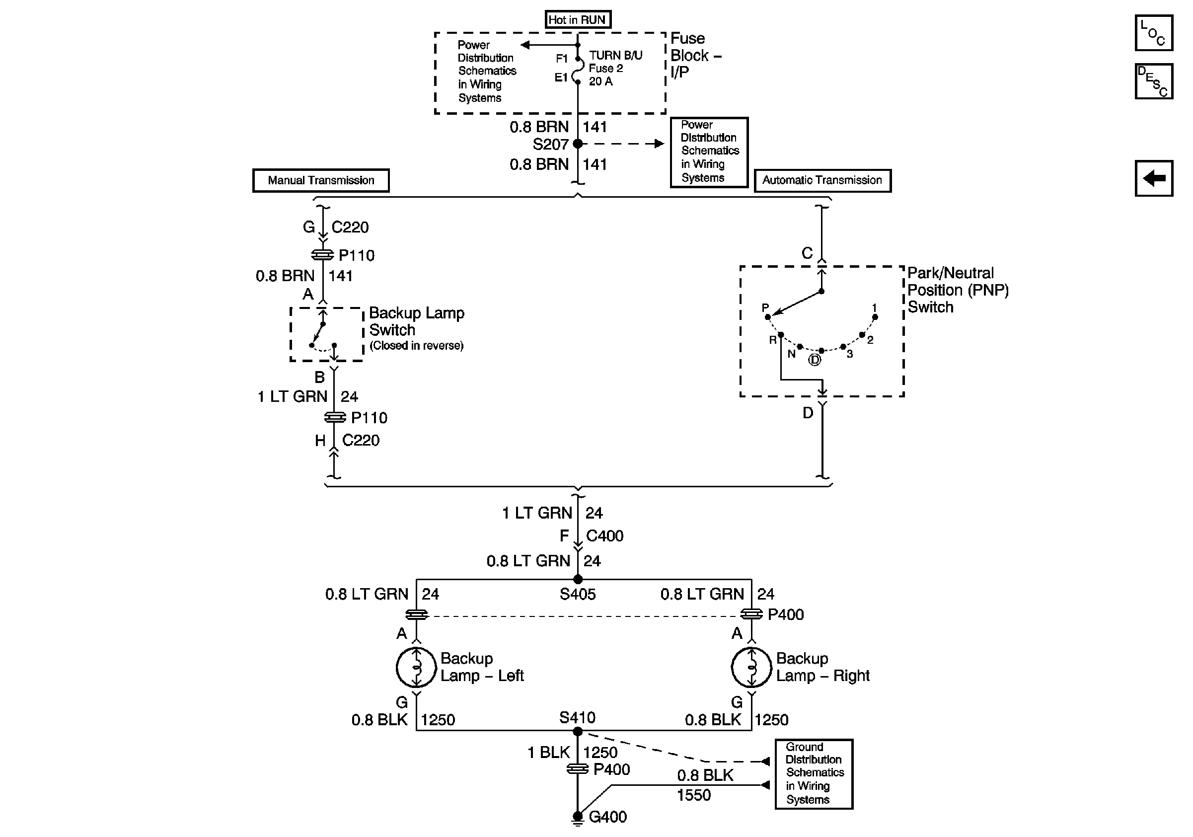
🢒 Backup Lamps
Backup Lamps
Backup Lamps
Master Electrical Component List
Exterior Lighting Systems Description and Operation
Stoplamps Chevrolet Japan
HVAC and TURN B/U Fuses
HVAC and TURN B/U Fuses
G400 Chevrolet