GM Service Manual Online
For 1990-2009 cars only
Makes
🢒
Pontiac
🢒
1997
🢒
Grand Am
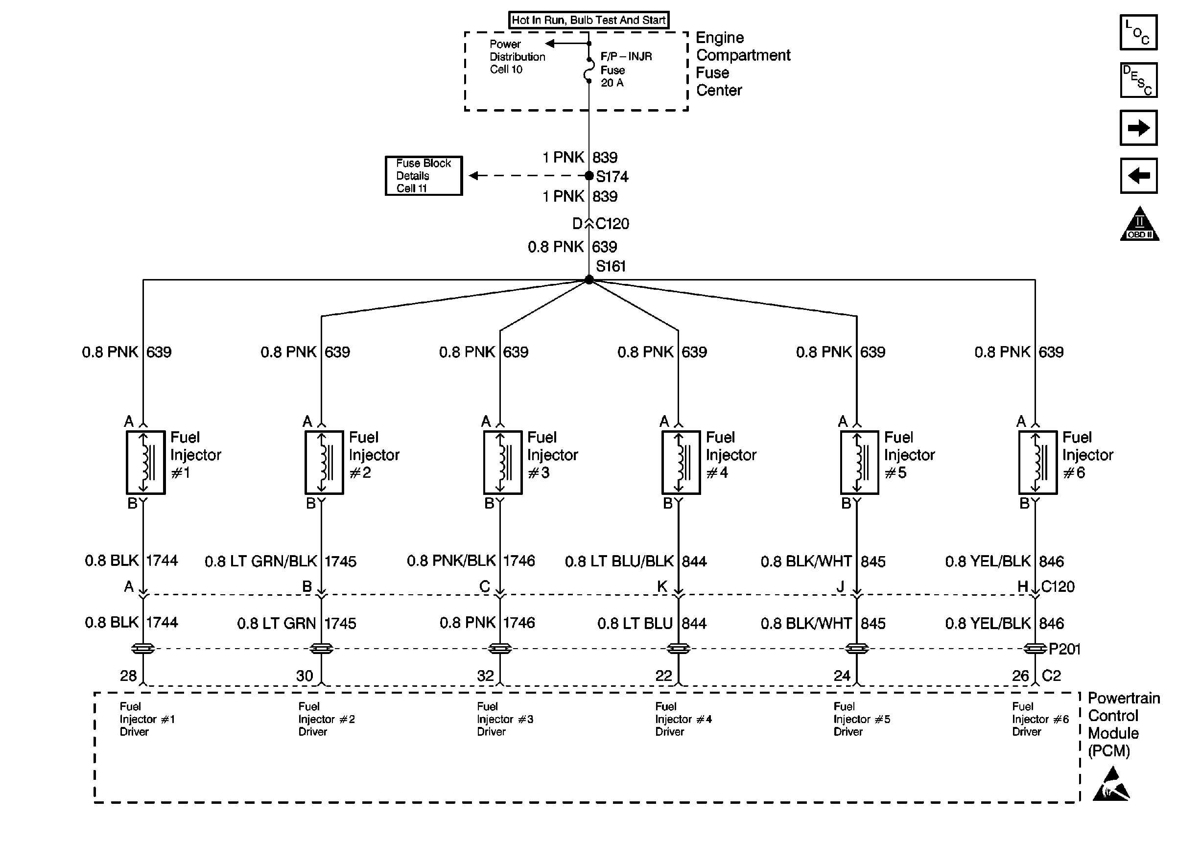
🢒 Fuel Injectors
Fuel Injectors
Fuel Injectors
Engine Controls Components
Information Sensors
Engine Data Sensors
Fuel Controls
OBD II Symbol Description Notice
Handling ESD Sensitive Parts Notice