GM Service Manual Online
For 1990-2009 cars only
Makes
🢒
Pontiac
🢒
2001
🢒
Grand Am
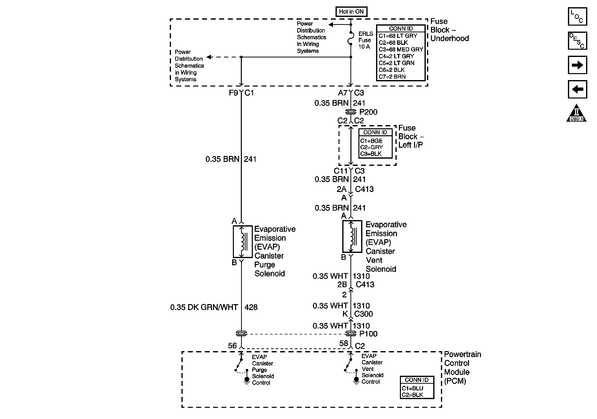
🢒 Power, Ground, EVAP and EGR
Power, Ground, EVAP and EGR
Power, Ground, EVAP and EGR
Master Electrical Component List
Powertrain Control Module Description
Power, Ground, HO2S2, O2S1
Engine Data Sensors
OBD II Symbol Description Notice
IGN SW-BATT 1, HTR A/C IGN, ERLS, PCM, ACC, IPC/BFC Fuses
IGN SW-BATT 1, HTR A/C IGN, ERLS, PCM, ACC, IPC/BFC Fuses