GM Service Manual Online
For 1990-2009 cars only
Makes
🢒
Pontiac
🢒
2001
🢒
Grand Am
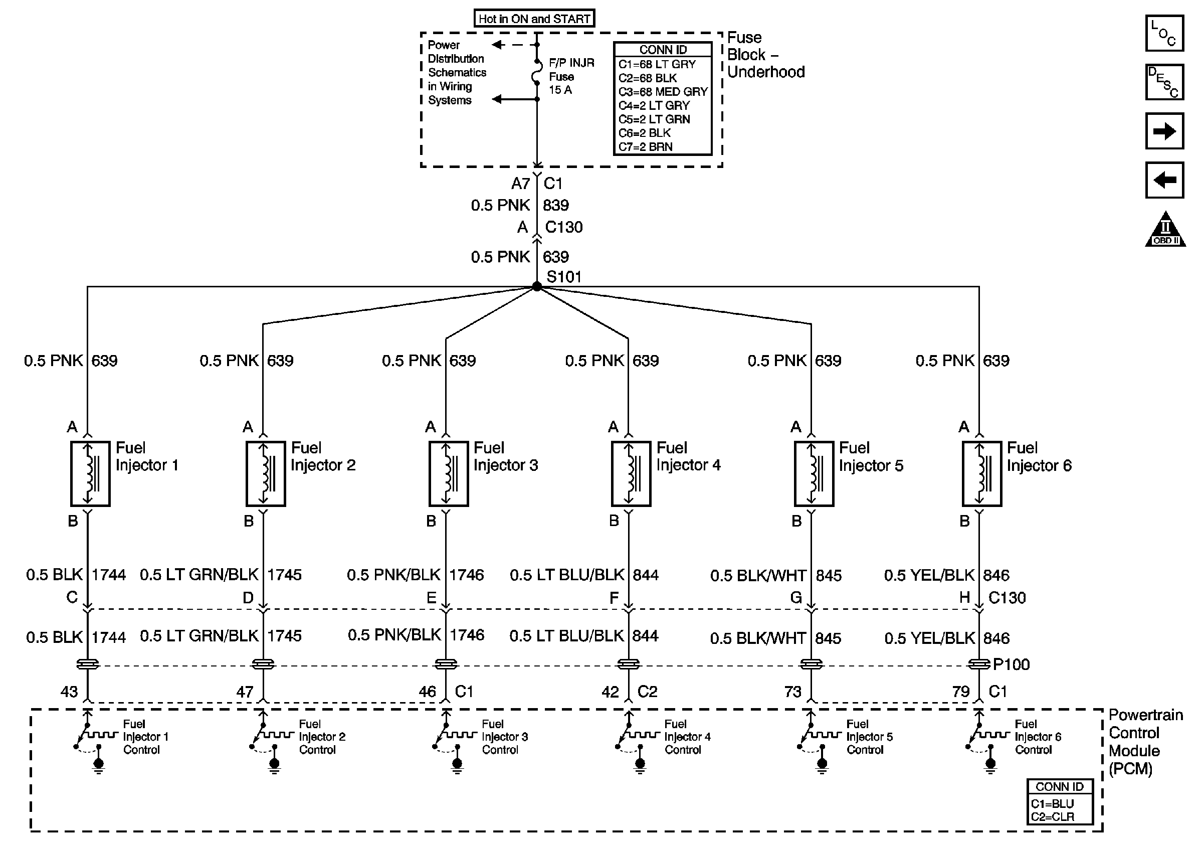
🢒 Power, Ground and Fuel Injectors
Power, Ground and Fuel Injectors
Power, Ground and Fuel Injectors
Master Electrical Component List
Powertrain Control Module Description
Engine Data Sensors
Fuel System
OBD II Symbol Description Notice
IGN SW-BATT2, WIPER, AIR BAG, TURN LPS, IGN MOD, BU LMP, PCM IGN, F/PINJR, A/C BFC, AUTO TRANS, ABS, IGN Fuses