GM Service Manual Online
For 1990-2009 cars only
Makes
🢒
Pontiac
🢒
2001
🢒
Grand Am
🢒 Power and Ground
Power and Ground
Power and Ground
Master Electrical Component List
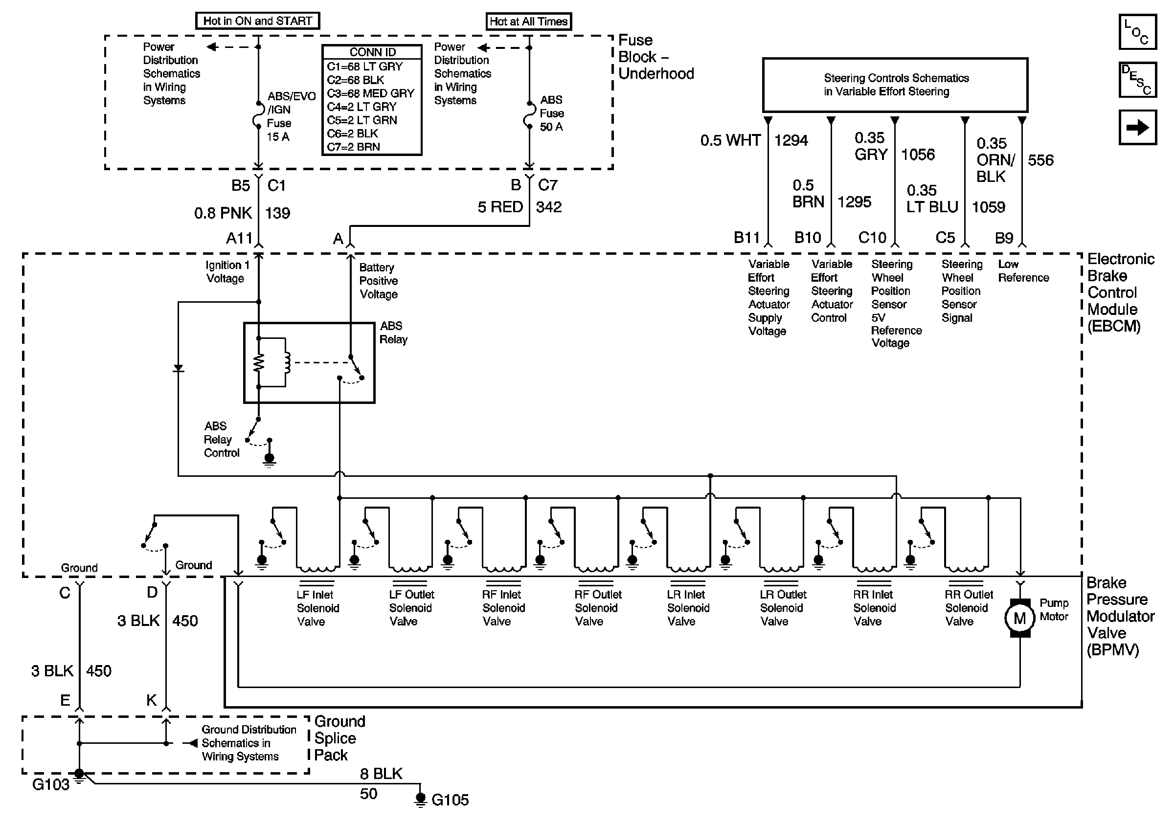
ABS Description and Operation
Speed Sensors and Brake Fluid Level Switch
Steering Wheel Controls Schematics
RH BEC BATT, ABS, COOL FAN (V6) GROUND, INT LPS, RADIO BATT, FOG LPS Fuses
IGN SW-BATT2, WIPER, AIR BAG, TURN LPS, IGN MOD, BU LMP, PCM IGN, F/PINJR, A/C BFC, AUTO TRANS, ABS, IGN Fuses
G103 and G105