GM Service Manual Online
For 1990-2009 cars only
Makes
🢒
Pontiac
🢒
2001
🢒
Grand Am
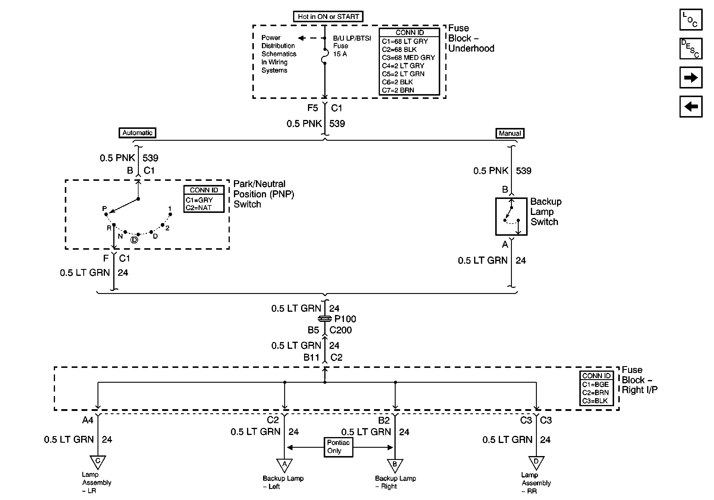
🢒 PNP Switch and Backup Lamp Switch
PNP Switch and Backup Lamp Switch
PNP Switch and Backup Lamp Switch
Master Electrical Component List
Exterior Lighting Systems Description and Operation
Rear Backup Lamps
License Lamps
Rear Backup Lamps
Rear Backup Lamps
Rear Backup Lamps
Rear Backup Lamps
IGN SW-BATT2, WIPER, AIR BAG, TURN LPS, IGN MOD, BU LMP, PCM IGN, F/PINJR, A/C BFC, AUTO TRANS, ABS, IGN Fuses