GM Service Manual Online
For 1990-2009 cars only
Makes
🢒
Pontiac
🢒
2003
🢒
Grand Am
🢒 controlled/Monitored Lighting References
controlled/Monitored Lighting References
Controlled/Monitored Lighting References
Master Electrical Component List
Body Control System Description and Operation
Controlled/Monitored Lock, Theft Deterrent, Brakes References
Power, Ground, and Controlled/Monitored References
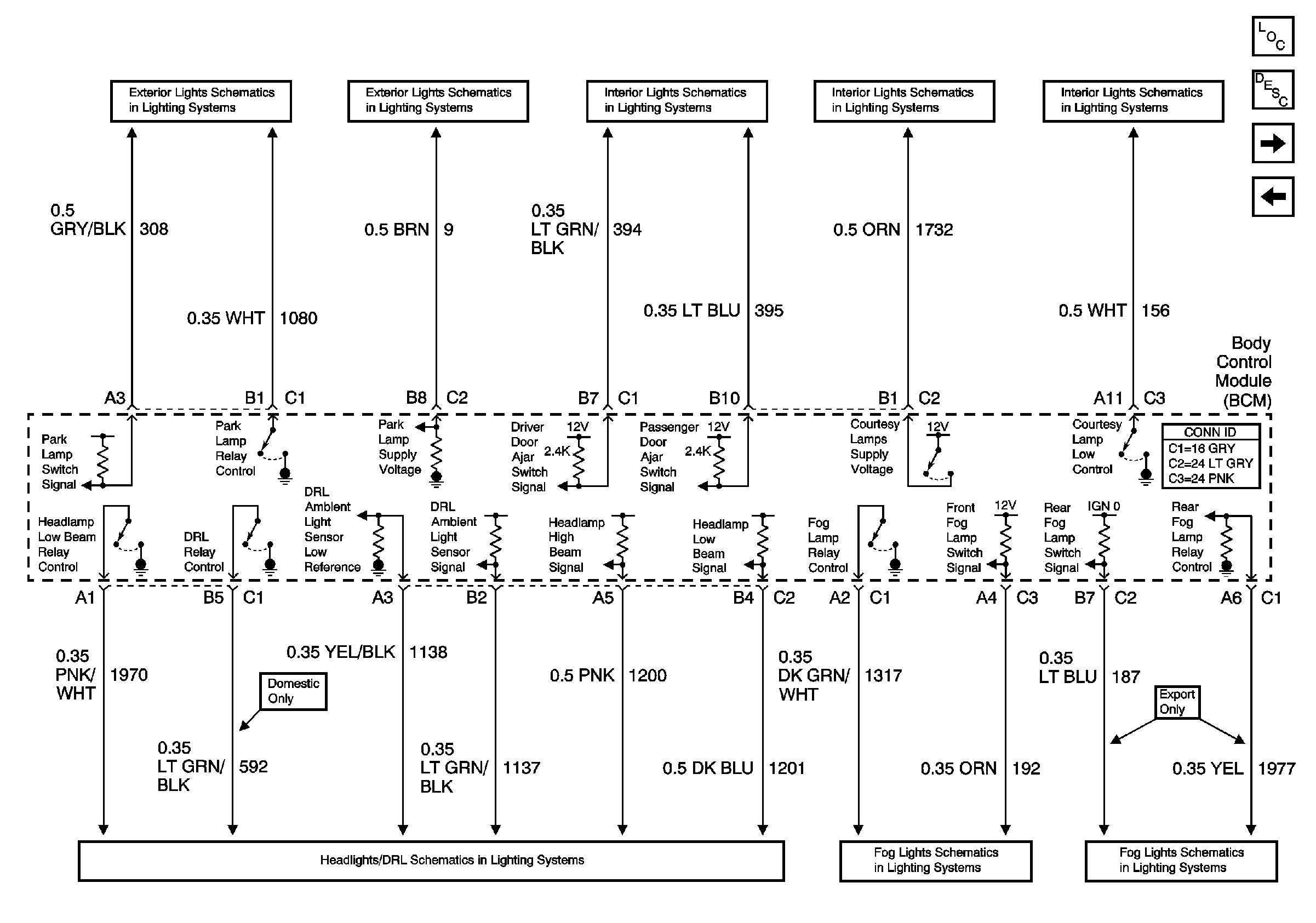
Park Lamps - Front
Park Lamps - Front
Door Jamb Switches
Dome Lamps - Y71/Y72
Dome Lamps - Y71/Y72
Indicator and BCM Signals
Front Fog Lamps
Rear Fog Lamps - Export Only