GM Service Manual Online
For 1990-2009 cars only
Makes
🢒
Pontiac
🢒
1997
🢒
Grand Prix
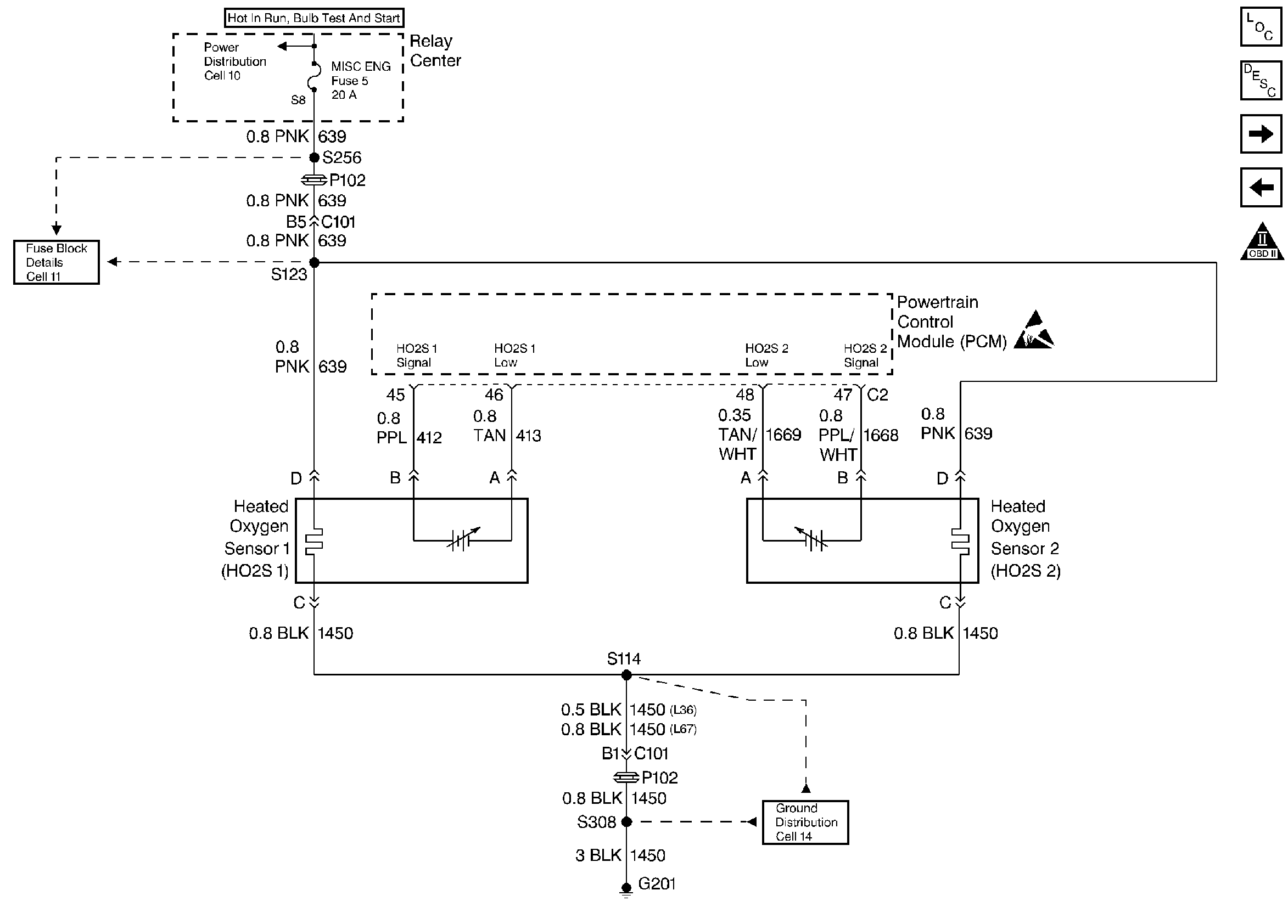
🢒 HO2S Sensors
HO2S Sensors
HO2S Sensors
VSS, Cruise Control Module
Engine Controls Components
Information Sensors
OBD II Symbol Description Notice
MAF, IAC, Knock Sensors
Handling ESD Sensitive Parts Notice