GM Service Manual Online
For 1990-2009 cars only
Makes
🢒
Pontiac
🢒
1997
🢒
Grand Prix
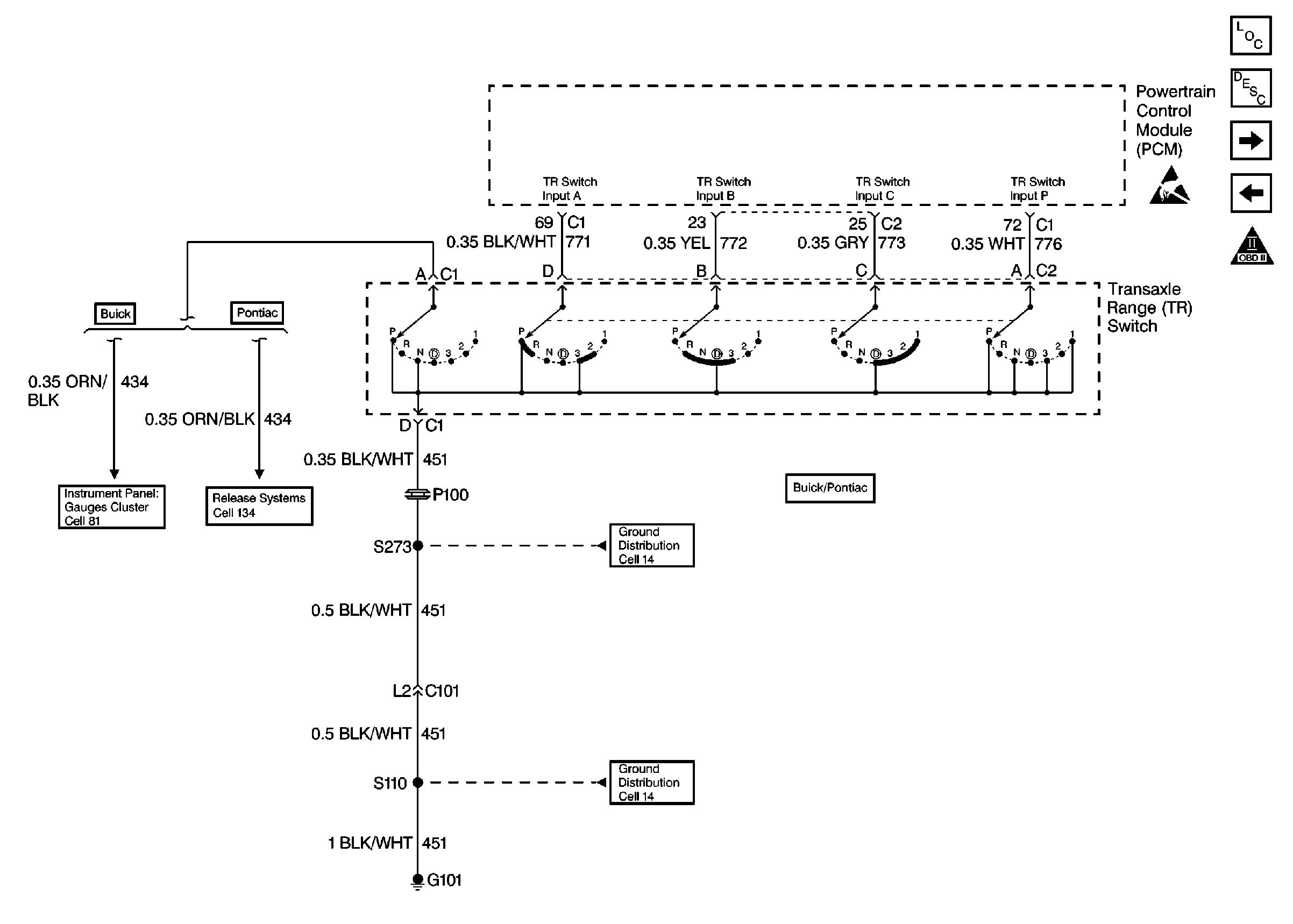
🢒 Trans Range
Trans Range
Trans Range
TCC Brake Switch, TCC Solenoid
Engine Controls Components
Information Sensors
OBD II Symbol Description Notice
VSS, Cruise Control Module
Handling ESD Sensitive Parts Notice