GM Service Manual Online
For 1990-2009 cars only
Makes
🢒
Pontiac
🢒
1998
🢒
Grand Prix
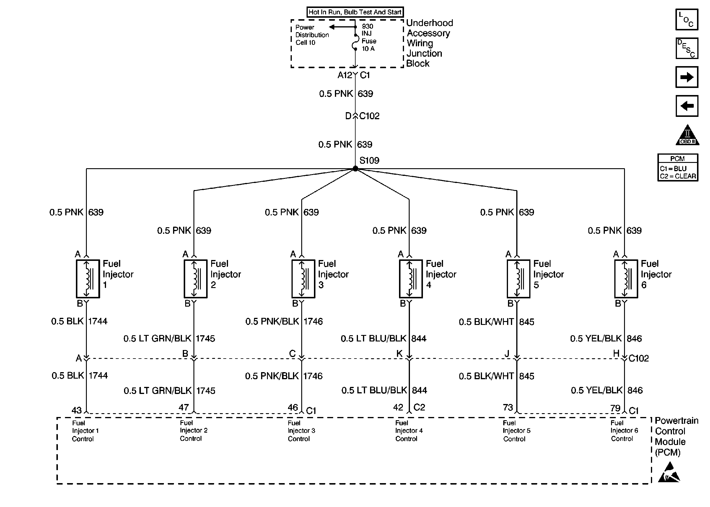
🢒 Injector Control
Injector Control
Injector Control
Engine Controls Components
Powertrain Control Module Description
HO2S Inputs
Transaxle Shifting Controls
OBD II Symbol Description Notice
Power Distribution Schematics
Handling ESD Sensitive Parts Notice