GM Service Manual Online
For 1990-2009 cars only
Makes
🢒
Pontiac
🢒
1998
🢒
Grand Prix
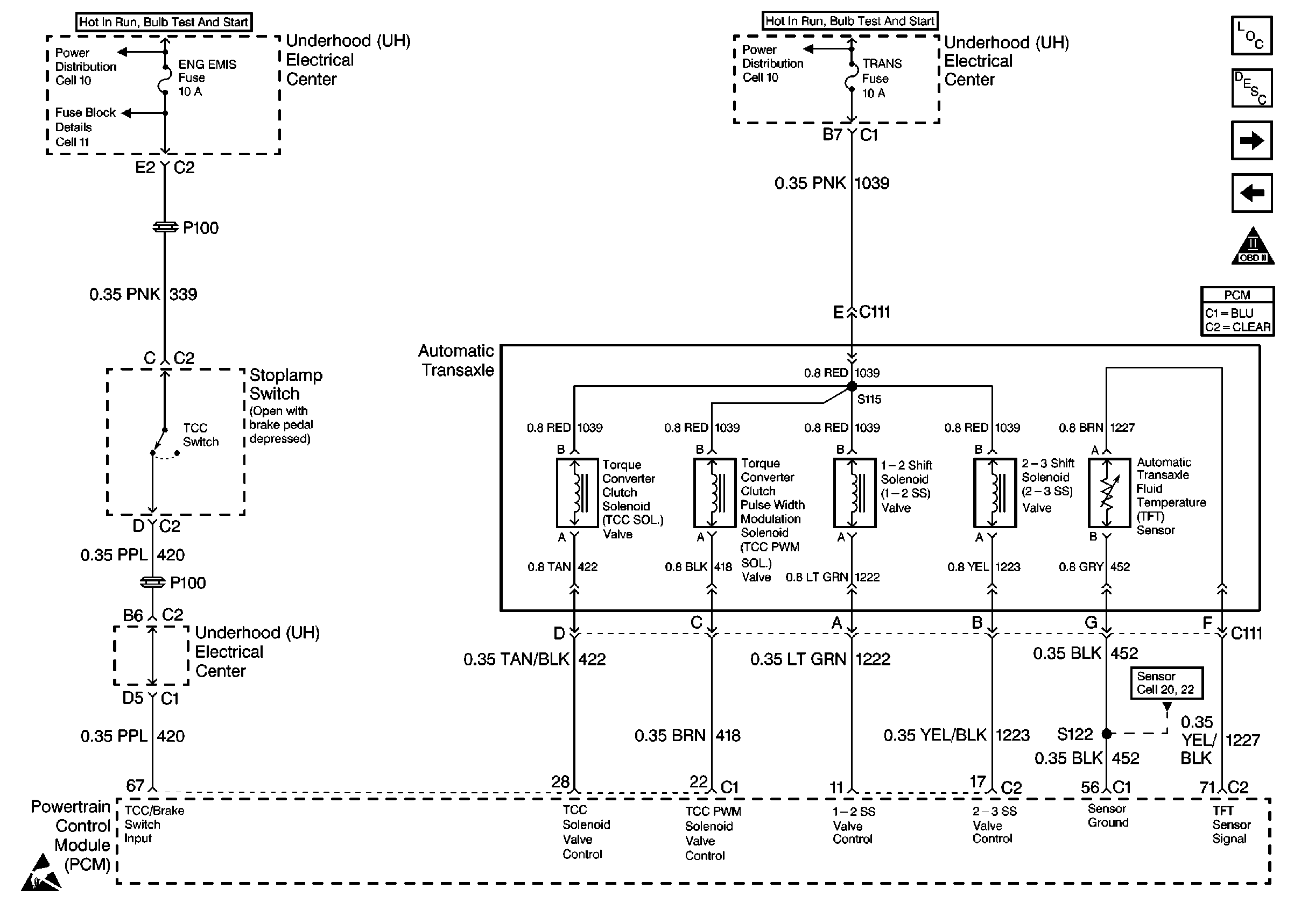
🢒 Automatic Transaxle (VIN K), TCC Switch
Automatic Transaxle (VIN K), TCC Switch
Automatic Transaxle (VIN K), TCC Switch
Engine Controls Components Component Locations
Information Sensors
Automatic Transaxle (VIN 1) part 1, TCC Switch
Transaxle Range Switch
OBD II Symbol Description Notice
Handling ESD Sensitive Parts Notice