GM Service Manual Online
For 1990-2009 cars only
Makes
🢒
Pontiac
🢒
2000
🢒
Grand Prix
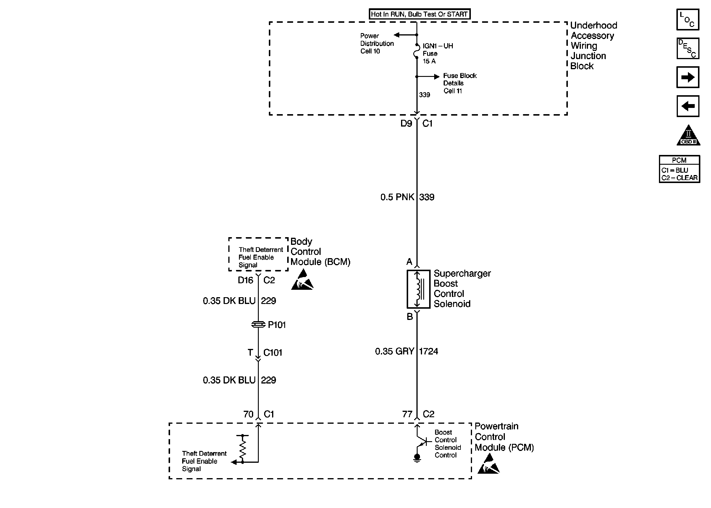
🢒 Cell 21: Supercharger Boost Control Solenoid
Cell 21: Supercharger Boost Control Solenoid
Cell 21: Supercharger Boost Control Solenoid
Cell 10: Underhood Accessory Wiring Junction Block
Cell 11: IGN1-UH Fuse
Handling Electrostatic Discharge Sensitive Parts Notice
Handling Electrostatic Discharge Sensitive Parts Notice
Cell 21: Fuel Injectors
Cell 21: Fuel Controls-VIN 1
OBDII Symbol Description Notice