GM Service Manual Online
For 1990-2009 cars only
Makes
🢒
Pontiac
🢒
2000
🢒
Grand Prix
🢒 Rear Lamps - 2 Door
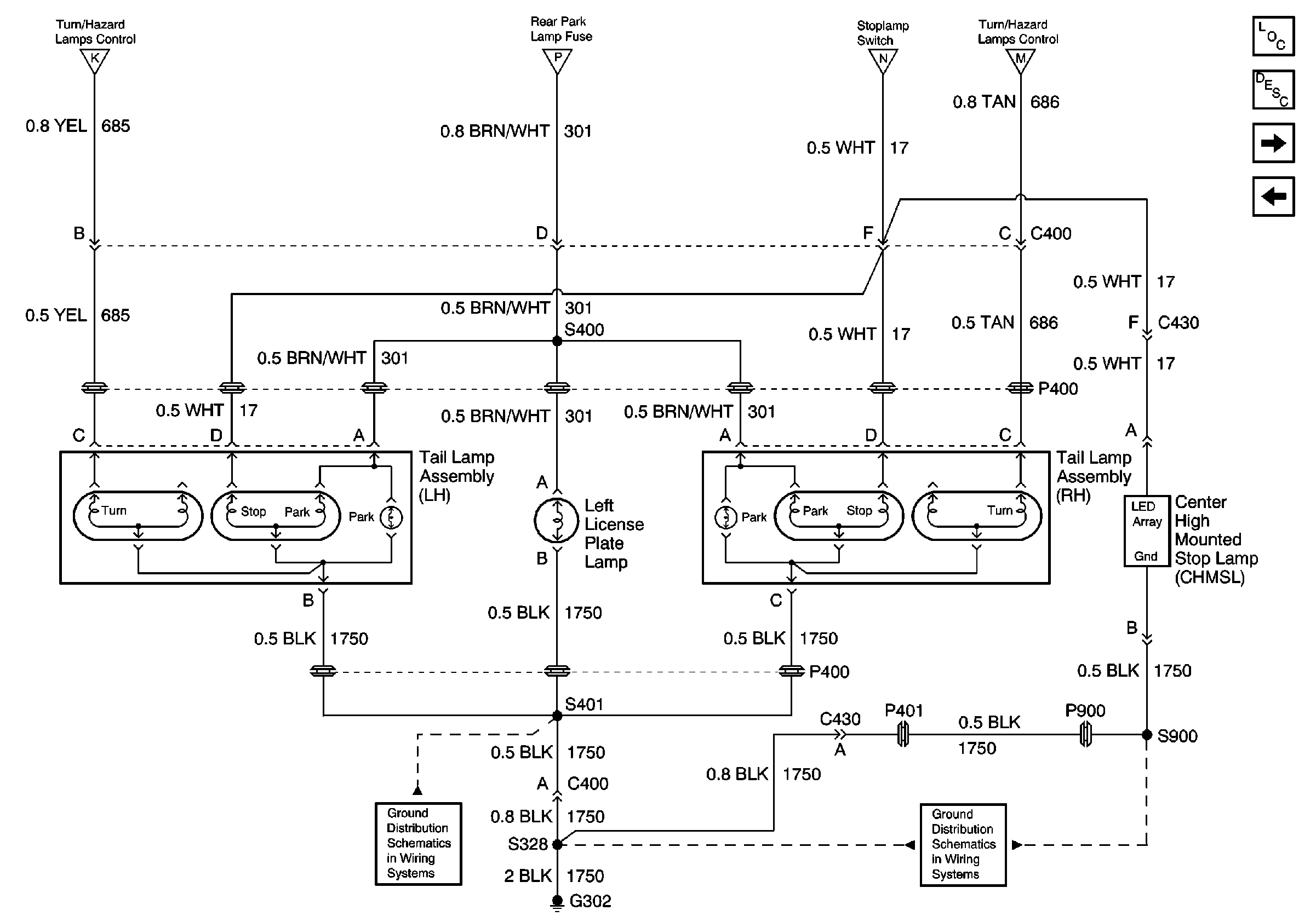
Rear Lamps - 2 Door
Rear Lamps -- 2 Door
Stationary Windows Components
Exterior Lights Circuit Description
Spot Lamps - 9C1/9C6
Front Park, Turn/Hazard Lamps - 2 Door
G302
G302
Turn/Hazard Lamps Control - 2 Door
Park Lamps Control
Turn/Hazard Lamps Control - 2 Door
Turn/Hazard Lamps Control - 2 Door