GM Service Manual Online
For 1990-2009 cars only
Makes
🢒
Pontiac
🢒
2000
🢒
Grand Prix
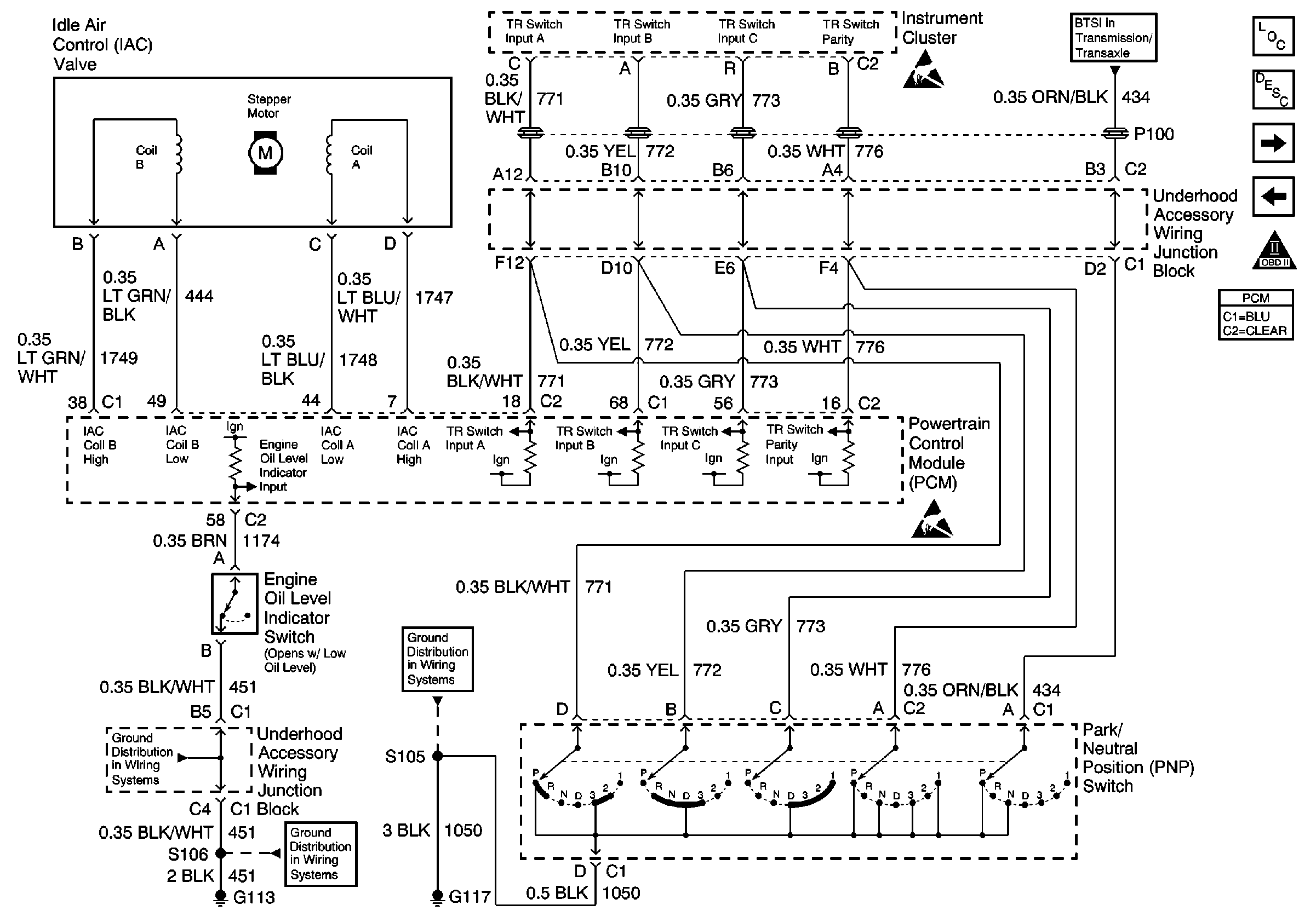
🢒 IAC, I/P, Engine Oil Level Indicator Switch and PNP
IAC, I/P, Engine Oil Level Indicator Switch and PNP
IAC, I/P, Engine Oil Level Indicator Switch and PNP
G100, G111 and G113
G100, G111 and G113
G117
Handling ESD Sensitive Parts Notice
Handling ESD Sensitive Parts Notice
Actuator and Ground Feed
Engine Controls Components
Powertrain Control Module Description
Automatic Transaxle and Stop Lamp Switch
I/P, Generator and Driver Information Display
OBD II Symbol Description Notice