GM Service Manual Online
For 1990-2009 cars only
Makes
🢒
Pontiac
🢒
2000
🢒
Grand Prix
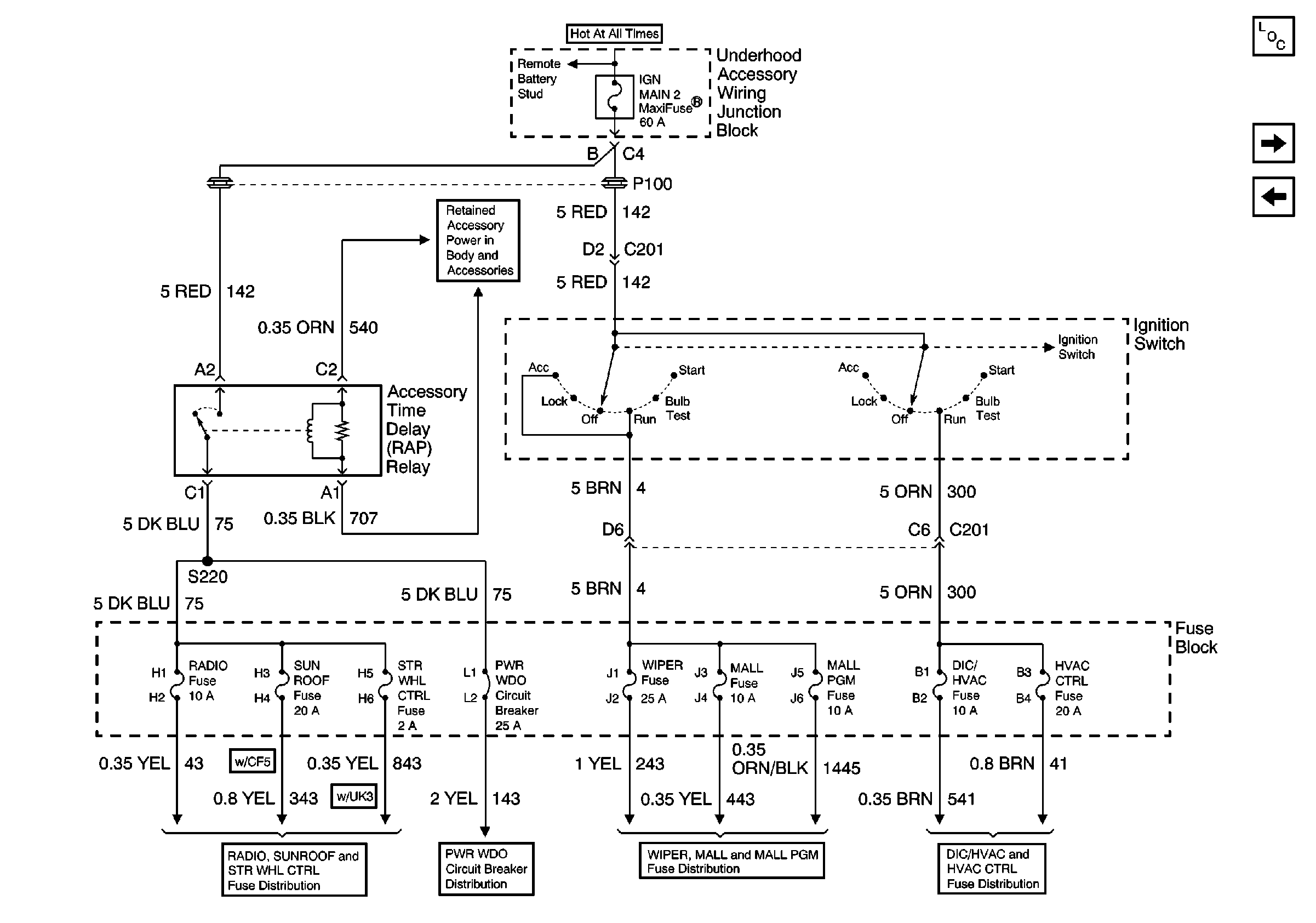
🢒 Ignition Switch, RAP Relay, Underhood Accessory Wiring Junction Block and Fuse Block
Ignition Switch, RAP Relay, Underhood Accessory Wiring Junction Block and Fuse Block
Ignition Switch, RAP Relay, Underhood Accessory Wiring Junction Block and Fuse Block
RAP Schematic
BTSI, RADIO, SUNROOF, STR WHL CTRL, STR WHL ILLUM, WIPER, MALL and MALL PGM Fuse
SEAT, HEADLAMP and PWR WDO Circuit Breaker
BTSI, RADIO, SUNROOF, STR WHL CTRL, STR WHL ILLUM, WIPER, MALL and MALL PGM Fuse
DIC/HVAC and HVAC CTRL Fuse
Power and Grounding Components
Ignition Switch, Park/Neutral Position Switch, Underhood AccessoryWiring Junction Block and Fuse Block
Battery, Starter, Generator, EBCM, Underhood Accessory Wiring JuncTion Block and Fuse Block