GM Service Manual Online
For 1990-2009 cars only
Makes
🢒
Pontiac
🢒
2000
🢒
Grand Prix
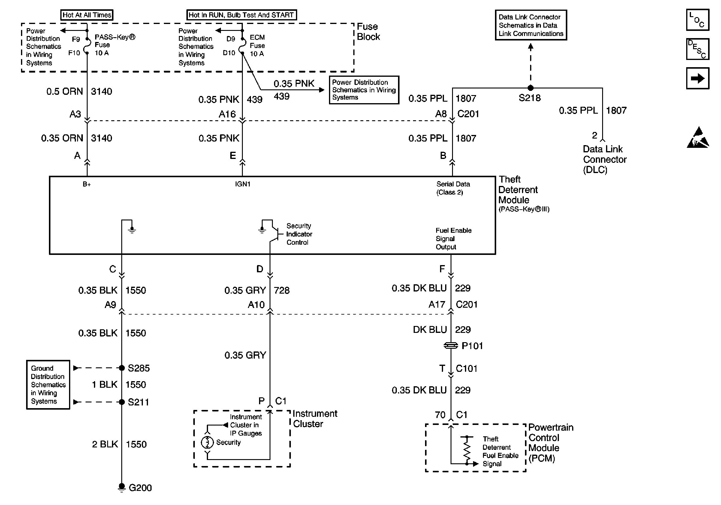
🢒 Theft Deterrent Module
Theft Deterrent Module
Theft Deterrent Module
Battery, Starter, Generator, EBCM, Underhood Accessory Wiring JuncTion Block and Fuse Block
Ignition Switch, Park/Neutral Position Switch, Underhood AccessoryWiring Junction Block and Fuse Block
Underhood Accessory Wiring Junction Block
G200 (3 of 4)
Power/Grounds, and E&C
Theft Deterrent System Components
Vehicle Theft Deterrent (VTD)Circuit Description
Body Control Module
Handling ESD Sensitive Parts Notice