GM Service Manual Online
For 1990-2009 cars only

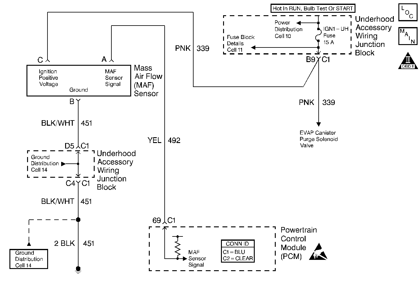
Object Number: 404072  Size: MF
Engine Controls Components
OBD II Symbol Description Notice
MAF, EVAP Purge, EVAP Canister, EGR Valve
Handling ESD Sensitive Parts Notice

Circuit Description

The mass air flow (MAF) sensor measures the amount of air which passes through to the engine during a given time. The powertrain control module (PCM) uses the MAF information in order to monitor the engine operating conditions for fuel delivery calculations. A large quantity of air entering the engine indicates an acceleration, or high load situation, while a small quantity of air indicates deceleration, or idle. The MAF sensor produces a frequency signal which you can monitor with a scan tool. The frequency will vary within a range from approximately 2000 Hertz at idle to approximately 10,000 Hertz at maximum engine load. If the signal frequency from the MAF sensor is higher than the possible range of a normally-operating MAF sensor, DTC P0103 will set.

Conditions for Running the DTC

    • The engine is running.
    • The throttle position (TP) angle is less than 50 percent.
    • The system voltage is more than 8 volts.

Conditions for Setting the DTC

    • The MAF signal frequency is more than 11,500 Hertz.
    • The above conditions are present for more than 0.5 seconds plus 100 3X reference periods, or 33 crankshaft revolutions.

Action Taken When the DTC Sets

    • The PCM will illuminate the malfunction indicator lamp (MIL) during the second consecutive trip in which the diagnostic test has been run and failed.
    • The PCM will store conditions which were present when the DTC set as Freeze Frame/Failure Records data.

Conditions for Clearing the MIL/DTC

    • The PCM will turn OFF the malfunction indicator lamp (MIL) during the third consecutive trip in which the diagnostic has run and passed.
    • The history DTC will clear after 40 consecutive warm-up cycles have occurred without a malfunction.
    • The DTC can be cleared by using a scan tool.

Diagnostic Aids

Inspect for the following conditions:

    • A faulty connection at the PCM-Inspect the harness connectors for the following conditions:
       - Backed-out terminals
       - Improper mating
       - Broken locks
       - Improperly-formed or damaged terminals
       - Faulty terminal-to-wire connections
    • A mis-routed harness-Ensure that the MAF sensor harness is not routed too close to high voltage wires such as spark plug leads.
    • A damaged harness-Inspect the wiring harness for damage.
    • If the harness appears OK, observe a scan tool while you move the connectors and the wiring harnesses that are related to the MAF sensor. A change in the display will indicate the location of the malfunction.

Many situations may lead to an intermittent condition. Perform each inspection or test as directed.

Important: :  Remove any debris from the connector surfaces before servicing a component. Inspect the connector gaskets when diagnosing or replacing a component. Ensure that the gaskets are installed correctly. The gaskets prevent contaminate intrusion.

    • Loose terminal connection
       -  Use a corresponding mating terminal to test for proper tension. Refer to Testing for Intermittent Conditions and Poor Connections , and to Connector Repairs in Wiring Systems for diagnosis and repair.
       -  Inspect the harness connectors for backed out terminals, improper mating, broken locks, improperly formed or damaged terminals, and faulty terminal to wire connection. Refer to Testing for Intermittent Conditions and Poor Connections , and to Connector Repairs in Wiring Systems for diagnosis and repair.
    • Damaged harness--Inspect the wiring harness for damage. If the harness inspection does not reveal a problem, observe the display on the scan tool while moving connectors and wiring harnesses related to the sensor. A change in the scan tool display may indicate the location of the fault. Refer to Wiring Repairs in Wiring Systems for diagnosis and repair.
    •  Inspect the powertrain control module (PCM) and the engine grounds for clean and secure connections. Refer to Wiring Repairs in Wiring Systems for diagnosis and repair.

If the condition is determined to be intermittent, reviewing the Snapshot or Freeze Frame/Failure Records may be useful in determining when the DTC or condition was identified.

Test Description

The numbers below refer to the step numbers on the diagnostic table.

  1. This step verifies that the problem is present at idle.

  2. A frequency reading with the MAF sensor connector disconnected indicates an electromagnetic interference (EMI) related malfunction or a faulty connection.

  3. When the PCM is replaced, you must program the new PCM.

DTC P0103 - MAF Sensor Circuit High Frequency

Step

Action

Values

Yes

No

1

Did you perform the Powertrain On Board Diagnostic (OBD) System Check?

--

Go to Step 2

Go to Powertrain On Board Diagnostic (OBD) System Check

2

  1. Start the engine.
  2. With a scan tool, observe the MAF frequency.

Does the frequency measure more than the specified value?

Vin 1- 11,500 Hz

Vin K - 10,500 Hz

Go to Step 4

Go to Step 3

3

  1. Turn ON the ignition, with the engine OFF.
  2. With a scan tool, observe and record the Failure Records data.
  3. Operate the vehicle within Failure Records conditions.

Does the DTC reset?

--

Go to Step 4

Go to Diagnostic Aids

4

  1. Turn OFF the ignition.
  2. Disconnect the MAF sensor.
  3. Start the engine.
  4. With a scan tool, observe the MAF frequency.

Does the frequency measure at the specified value?

0 Hz

Go to Step 5

Go to Step 7

5

Inspect for a faulty connection at the MAF sensor. Refer to Testing for Intermittent Conditions and Poor Connections and Connector Repairs in Wiring Systems.

Did you find and correct the condition?

--

Go to Step 10

Go to Step 6

6

Replace the MAF sensor. Refer to Mass Airflow Sensor Replacement .

Did you complete the replacement?

--

Go to Step 10

--

7

Inspect the MAF sensor harness for incorrect routing:

  1. Inspect near the secondary ignition wires or coils.
  2. Inspect near the other high voltage components, such as the solenoids, the relays, and the motors. Repair the condition as necessary

Did you find and correct the condition?

--

Go to Step 10

Go to Step 8

8

Inspect for faulty connections at the PCM. Refer to Testing for Intermittent Conditions and Poor Connections and Connector Repairs in Wiring Systems.

Did you find and correct the condition?

--

Go to Step 10

Go to Step 9

9

Important: You must program the replacement PCM.

Replace the PCM. Refer to Powertrain Control Module Replacement/Programming .

Did you complete the replacement?

--

Go to Step 10

--

10

  1. Use a scan tool in order to clear the DTCs.
  2. Operate the vehicle within the Conditions for Running the DTC, as specified in the supporting text.

Does the DTC reset?

--

Go to Step 2

System OK