GM Service Manual Online
For 1990-2009 cars only

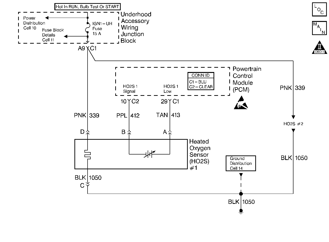
Object Number: 404088  Size: MF
Engine Controls Components
OBD II Symbol Description Notice
HO2S #1 and HO2S #2
Handling ESD Sensitive Parts Notice

Circuit Description

Heated oxygen sensors are used in order to minimize the time required for closed loop fuel control operation, and in order to allow accurate catalyst monitoring. The oxygen sensor heater greatly decreases the time required for HO2S 1 to become active. The oxygen sensor heater is required by catalyst monitor sensor HO2S 2 to maintain a sufficiently high temperature. This allows accurate exhaust oxygen content readings further from the engine.

The PCM will run the heater test only after a cold start, determined by the engine coolant and the intake air temperature at the time of the startup, and only once during an ignition cycle. When you start the engine, the PCM will monitor the HO2S voltage. When the HO2S voltage indicates a sufficiently active sensor, the PCM looks at how much time has elapsed since startup. The time that is necessary for HO2S to reach the operating temperature is based on the engine coolant temperature at startup and the average mass air flow since the startup. A higher average airflow or a higher startup engine coolant temperature equals a shorter time to HO2S activity. If the PCM determines that too much time was required for the HO2S 1 to become active, DTC P0135 will set.

Conditions for Running the DTC

    • No TP sensor, EVAP system, misfire, IAT sensor, MAP sensor, fuel trim, fuel injector circuit, EGR Pintle Position, ECT sensor, CKP sensor, or MAF sensor DTCs are present.
    • The engine run time is more than 3 seconds.
    • The system voltage is between 9 volts and 16 volts.
    • The intake air temperature (IAT) is less than 35°C (95°F) at startup.
    • Engine coolant temperature (ECT) is less than 35°C (95°F) at startup.
    • The IAT and the ECT are within 6°C (11°F) of each other at startup.
    • VIN K --Average mass airflow for the sample period is less than 18 g/s.
    • VIN 1-- Average mass airflow for the sample period is less than 21 g/s.

Conditions for Setting the DTC

HO2S 1 voltage remains within 150 mV of the bias voltage, at approximately 450 mV, for too long. The amount of time ranges between 50 seconds and 85 seconds, and depends on the ECT at startup and the average mass air flow (MAF) since startup.

Action Taken When the DTC Sets

    • The PCM will illuminate the malfunction indicator lamp (MIL) during the second consecutive trip in which the diagnostic test has been run and failed.
    • The PCM will store conditions which were present when the DTC set as Freeze Frame/Failure Records data.

Conditions for Clearing the MIL/DTC

    • The PCM will turn OFF the malfunction indicator lamp (MIL) during the third consecutive trip in which the diagnostic has run and passed.
    • The history DTC will clear after 40 consecutive warm-up cycles have occurred without a malfunction.
    • The DTC can be cleared by using a scan tool.

Diagnostic Aids

Inspect for the following conditions:

Many situations may lead to an intermittent condition. Perform each inspection or test as directed.

Important: :  Remove any debris from the connector surfaces before servicing a component. Inspect the connector gaskets when diagnosing or replacing a component. Ensure that the gaskets are installed correctly. The gaskets prevent contaminate intrusion.

    • Loose terminal connection
       -  Use a corresponding mating terminal to test for proper tension. Refer to Testing for Intermittent Conditions and Poor Connections , and to Connector Repairs in Wiring Systems for diagnosis and repair.
       -  Inspect the harness connectors for backed out terminals, improper mating, broken locks, improperly formed or damaged terminals, and faulty terminal to wire connection. Refer to Testing for Intermittent Conditions and Poor Connections , and to Connector Repairs in Wiring Systems for diagnosis and repair.
    • Damaged harness--Inspect the wiring harness for damage. If the harness inspection does not reveal a problem, observe the display on the scan tool while moving connectors and wiring harnesses related to the sensor. A change in the scan tool display may indicate the location of the fault. Refer to Wiring Repairs in Wiring Systems for diagnosis and repair.
    •  Inspect the powertrain control module (PCM) and the engine grounds for clean and secure connections. Refer to Wiring Repairs in Wiring Systems for diagnosis and repair.

If the condition is determined to be intermittent, reviewing the Snapshot or Freeze Frame/Failure Records may be useful in determining when the DTC or condition was identified.

Test Description

The numbers below refer to the step numbers on the diagnostic table:

  1. Before you perform this test, allow the HO2S to cool. If the HO2S heater is functioning, the signal voltage will gradually increase or decrease as the sensor element warms. If the heater is not functioning, the HO2S signal will remain near the 450-mv bias voltage.

  2. This step ensures that the ignition feed circuit to the HO2S is not open or shorted. Connect the test lamp to a good chassis ground, in the event that the either HO2S low or the HO2S heater ground circuit is malfunctioning.

  3. This step tests the HO2S heater ground circuit.

  4. This step tests for an open or shorted HO2S heater element.

    Important: The heater element resistance will vary according to the HO2S temperature. A hot HO2S heater element will measure a much higher resistance than a HO2S heater element at room temperature. Allow the HO2S to cool before you measure the HO2S heater element resistance.

  5. An open HO2S signal or a low circuit can cause the DTC to set with the HO2S heater operating normally. Test the HO2S signal and the HO2S low circuits before you replace the sensor.

DTC P0135 - HO2S Heater Circuit Sensor 1

Step

Action

Values

Yes

No

1

Did you perform the Powertrain On Board Diagnostic (OBD) System Check?

--

Go to Step 2

Go to Powertrain On Board Diagnostic (OBD) System Check

2

Important: If the engine has just been operating, allow engine to cool for one-half hour before proceeding.

  1. Turn ON the ignition, with the engine OFF.
  2. Monitor HO2S 1 voltage with a scan tool.

Does HO2S voltage go from bias voltage to more than the first specified value, or to less than the second specified value within 2 minutes?

600 mV

300 mV

Go to Diagnostic Aids

Go to Step 3

3

Inspect the fuse for the HO2S 1 ignition feed circuit.

Is the fuse open?

--

Go to Step 15

Go to Step 4

4

  1. Disconnect the HO2S 1 electrical connector.
  2. Probe the ignition feed circuit at the HO2S 1 electrical connector on the PCM harness side with a test lamp connected to ground.
  3. Important: Use a known good ground. Do not use the HO2S 1 heater ground circuit or the HO2S 1 low circuit.

Does the test lamp illuminate?

--

Go to Step 5

Go to Step 7

5

Connect the test lamp between the HO2S 1 ignition feed circuit and the HO2S 1 heater ground circuit.

Does test lamp illuminate?

--

Go to Step 6

Go to Step 8

6

  1. Allow the HO2S to cool for at least 10 minutes.
  2. Use a DMM in order to measure the resistance between the HO2S 1 ignition feed and the HO2S 1 heater ground at the HO2S 1 pigtail.

Is the resistance within the specified values?

4-6 ohms

Go to Step 9

Go to Step 14

7

Repair open in the HO2S 1 ignition feed circuit to HO2S 1. Refer to Wiring Repairs in Wiring Systems.

Did you complete the repair?

--

Go to Step 16

--

8

Repair the open in the HO2S 1 heater ground circuit. Refer to Wiring Repairs in Wiring Systems.

Did you complete the repair?

--

Go to Step 16

--

9

  1. Inspect for a poor connection at the HO2S 1 harness terminals.
  2. If you find a problem repair the condition as necessary. Refer to Wiring Repairs in Wiring Systems.

Did you find and correct the condition?

--

Go to Step 16

Go to Step 10

10

  1. Turn OFF the ignition.
  2. Disconnect the PCM and test the HO2S 1 signal circuit and the HO2S 1 low circuit for continuity .
  3. If the HO2S 1 signal circuit or HO2S low circuit measures more than 5 ohms, repair the circuit as necessary. Refer to Wiring Repairs in Wiring Systems.

Did you find and correct the condition?

--

Go to Step 16

Go to Step 11

11

  1. Inspect the HO2S 1 signal circuit or low circuit for a poor connection at the HO2S 1 harness connector.
  2. If you find a problem, repair the circuit as necessary. Refer to Wiring Repairs in Wiring Systems.

Did you find and correct the condition?

--

Go to Step 16

Go to Step 12

12

  1. Inspect the HO2S 1 low circuit for a poor connection at the PCM.
  2. If you find a problem, repair the circuit as necessary. Refer to Wiring Repairs in Wiring Systems.

Did you find and correct the condition?

--

Go to Step 16

Go to Step 13

13

  1. Inspect the HO2S 1 signal circuit for a poor connection at the PCM.
  2. If you find a problem, repair the circuit as necessary. Refer to Wiring Repairs in Wiring Systems.

Did you find and correct the condition?

--

Go to Step 16

Go to Step 14

14

Replace the HO2S 1. Refer to Heated Oxygen Sensor Replacement .

Did you complete the replacement?

--

Go to Step 16

--

15

Locate and repair the short to ground in the HO2S 1 or HO2S 2 ignition feed circuits, and replace the fuse. Refer to Wiring Repairs in Wiring Systems.

Did you find and correct the condition?

--

Go to Step 16

--

16

Important: If engine has recently been operating, allow engine to cool for one-half hour before proceeding.

  1. Use a scan tool in order to clear the DTCs.
  2. Turn ON the ignition, with the engine OFF.
  3. Use a scan tool in order to monitor HO2S 1 voltage.

Does HO2S voltage go from bias voltage to more than the first specified value, or to less than the second specified value within 2 minutes?

600 mV

300 mV

System OK

Go to Step 2