GM Service Manual Online
For 1990-2009 cars only

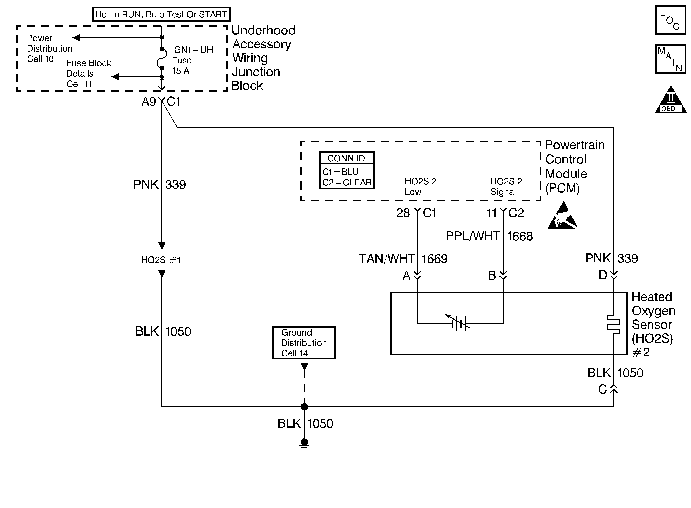
Object Number: 404091  Size: MF
Engine Controls Components
OBD II Symbol Description Notice
HO2S #1 and HO2S #2
Handling ESD Sensitive Parts Notice

Circuit Description

The PCM supplies a bias voltage of about 450 mV between the HO2S signal and low circuits. When measured with a 10 megohm DMM this may display as low as 320 mV. The oxygen sensor varies the voltage within a range of about 1000 mV when the exhaust is rich, down through about 10 mV when exhaust is lean. The PCM constantly monitors the HO2S signal during closed loop operation and compensates for a rich or lean condition by decreasing or increasing injector pulse width as necessary. If the HO2S 2 voltage remains excessively high for an extended period of time, DTC P0138 will set.

Conditions for Running the DTC

    • No active TP sensor, EVAP system, misfire, IAT sensor, MAP sensor, fuel trim, fuel injector circuit, EGR Pintle Position, ECT sensor, CKP sensor, or MAF sensor DTCs present.
    • Closed loop commanded air-to-fuel ratio is between 14:5 and 14:8.
    • Throttle angle is between 3 percent and 40 percent.

Conditions for Setting the DTC

    • HO2S 2 signal voltage remains above 999 mV during normal closed loop operation.
        OR
        HO2S 2 signal voltage remains above 200 mV during deceleration fuel mode operation.
    • VIN K - The condition is present for up to 4 minutes.
    • VIN 1 - The condition is present for up to 6 minutes.

Action Taken When the DTC Sets

    • The PCM will illuminate the malfunction indicator lamp (MIL) during the second consecutive trip in which the diagnostic test has been run and failed.
    • The PCM will store conditions which were present when the DTC set as Freeze Frame/Failure Records data.

Conditions for Clearing the MIL/DTC

    • The PCM will turn OFF the malfunction indicator lamp (MIL) during the third consecutive trip in which the diagnostic has run and passed.
    • The history DTC will clear after 40 consecutive warm-up cycles have occurred without a malfunction.
    • The DTC can be cleared by using a scan tool.

Diagnostic Aids

Inspect for the following conditions:

    • The fuel pressure-Inspect for an excessively rich fuel mixture.
        Refer to Fuel System Pressure Test (VIN K) or Fuel System Pressure Test (VIN 1) .
    • The fuel injectors--Refer to Fuel Injector Solenoid Coil Test - Engine Coolant Temperature Between 10-35 Degrees C (50-95 Degrees F) or Fuel Injector Solenoid Coil Test - Engine Coolant Temperature Outside 10-35 Degrees C (50-95 Degrees F) .
    • The evaporative emissions (EVAP) canister purge--Inspect for fuel saturation. If the canister is full of fuel, inspect the canister control and the hoses. Refer to Evaporative Emission Control System Diagnosis .
    • The mass air flow sensor--Disconnect the MAF sensor and see if the rich condition is corrected. If so, replace MAF sensor. Refer to Mass Airflow Sensor Replacement .
    • The fuel pressure regulator--Check for a leaking fuel pressure regulator diaphragm by checking the vacuum line to regulator for the presence of fuel. If fuel is present, replace the fuel pressure regulator. Refer to Fuel Pressure Regulator Replacement .
    • The TP sensor--An intermittent TP sensor output will cause the system to go rich due to a false indication of the engine accelerating. The throttle angle displayed on a scan tool should increase steadily from 0 percent to 100 percent when you open the throttle. If not, check the TP sensor for loose mounting screws. If the TP mounting screws are OK, replace the TP sensor. Refer to Throttle Position Sensor Replacement .
    • A shorted heated oxygen sensor (HO2S)--If the HO2S is internally shorted, the HO2S voltage displayed on the scan tool will be more than 1 volt. Try disconnecting the affected HO2S and jumper the HO2S low circuit to ground with the key ON, and the engine not running. If the displayed HO2S voltage changes from more than 1000 mV to approximately 450 mV, replace the HO2S. Silicon contamination of the HO2S can also cause a high HO2S voltage to be indicated. This condition is indicated by a powdery white deposit on the portion of the HO2S that is exposed to the exhaust stream. If contamination is evident, replace the affected HO2S. Refer to Heated Oxygen Sensor Replacement .
    • An open HO2S signal, a low circuit, or a malfunctioning HO2S--A poor connection or an open in the HO2S signal or low circuit can cause the DTC to set during deceleration fuel mode. An HO2S which is malfunctioning and not allowing a full voltage swing between the rich and lean thresholds can also cause this condition. Operate the vehicle while monitoring the HO2S voltage with a scan tool. If the HO2S voltage is limited within a range between 300 mV and 600 mV, check the HO2S signal and low circuit wiring and associated terminal connections. If the wiring and connections are OK, replace the affected HO2S. Refer to Heated Oxygen Sensor Replacement .

Many situations may lead to an intermittent condition. Perform each inspection or test as directed.

Important: :  Remove any debris from the connector surfaces before servicing a component. Inspect the connector gaskets when diagnosing or replacing a component. Ensure that the gaskets are installed correctly. The gaskets prevent contaminate intrusion.

    • Loose terminal connection
       -  Use a corresponding mating terminal to test for proper tension. Refer to Testing for Intermittent Conditions and Poor Connections , and to Connector Repairs in Wiring Systems for diagnosis and repair.
       -  Inspect the harness connectors for backed out terminals, improper mating, broken locks, improperly formed or damaged terminals, and faulty terminal to wire connection. Refer to Testing for Intermittent Conditions and Poor Connections , and to Connector Repairs in Wiring Systems for diagnosis and repair.
    • Damaged harness--Inspect the wiring harness for damage. If the harness inspection does not reveal a problem, observe the display on the scan tool while moving connectors and wiring harnesses related to the sensor. A change in the scan tool display may indicate the location of the fault. Refer to Wiring Repairs in Wiring Systems for diagnosis and repair.
    •  Inspect the powertrain control module (PCM) and the engine grounds for clean and secure connections. Refer to Wiring Repairs in Wiring Systems for diagnosis and repair.

If the condition is determined to be intermittent, reviewing the Snapshot or Freeze Frame/Failure Records may be useful in determining when the DTC or condition was identified.

Test Description

The numbers below refer to the step numbers on the diagnostic table:

  1. DTC P0138 failing during deceleration fuel mode operation, when the vehicle speed is more than 40 km/h (25 mph) and the TP angle is less than 3 percent, may indicate a condition described in Diagnostic Aids.

  2. When the PCM is replaced, you must program the new PCM.

DTC P0138 - HO2S Circuit High Voltage Sensor 2

Step

Action

Values

Yes

No

1

Did you perform the Powertrain On Board Diagnostic (OBD) System Check?

--

Go to Step 2

Go to Powertrain On Board Diagnostic (OBD) System Check

2

Important: During this step, observe all H02S voltage parameters. If all parameters remain below the specified value refer to Diagnostic Aids.

  1. Engine at operating temperature.
  2. Operate vehicle within Conditions for Setting the DTC as specified in the supporting text.
  3. Monitor the HO2S 2 voltage with a scan tool.

Does the voltage measure more than the specified value?

999 mV

Go to Step 4

Go to Step 3

3

  1. Turn ON the ignition, with the engine OFF, review and record scan tool Fail Records data.
  2. Operate the vehicle within the Fail Records conditions.
  3. Using a scan tool, monitor Specific DTC info for DTC P0138 until the DTC P0138 test runs.

Does the DTC reset?

--

Go to Step 4

Go to Diagnostic Aids

4

Disconnect HO2S 2 and jumper the HO2S low circuit to ground.

Does the voltage measure near the specified value?

450 mV

Go to Diagnostic Aids

Go to Step 5

5

  1. Turn OFF the ignition.
  2. Disconnect PCM connector.
  3. Turn ON the ignition, with the engine OFF.
  4. Using a DMM, measure voltage between the HO2S 2 sensor signal circuit at PCM harness connector and ground.

Does the voltage measure more than the specified value?

999 mV

Go to Step 6

Go to Step 7

6

Repair short to voltage in the HO2S 2 signal circuit. Refer to Wiring Repairs in Wiring Systems.

Did you complete the repair?

--

Go to Step 8

--

7

Important: You must program the replacement PCM.

Replace the PCM. Refer to Powertrain Control Module Replacement/Programming .

Did you complete the replacement?

--

Go to Step 8

--

8

  1. Use a scan tool to clear the DTCs.
  2. Operate the vehicle within the Conditions for Running the DTC as specified in the supporting text.

Does the DTC reset?

--

Go to Step 2

System OK