GM Service Manual Online
For 1990-2009 cars only

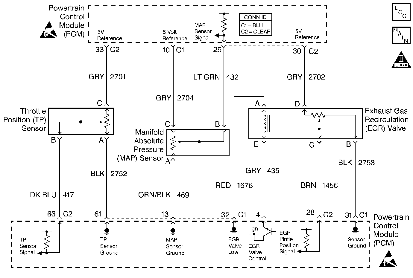
Object Number: 404141  Size: MF
Engine Controls Components
OBD II Symbol Description Notice
A/C Refrigerant Pressure Sensor, TP, MAP, ECT and IAT Sensor
Handling ESD Sensitive Parts Notice
Handling ESD Sensitive Parts Notice

Circuit Description

The PCM uses the 5-volt Reference A circuit as a sensor feed to the following sensors:

    • The TP sensor
    • The MAP sensor
    • The EGR valve pintle position sensor.

The PCM monitors the voltage on the 5-volt Reference A circuit. If the voltage is out of tolerance, DTC P1635 will set.

Conditions for Setting the DTC

    • The PCM detects an out-of-tolerance voltage on the 5-volt Reference A circuit.
    • The above condition is present for more than 10 seconds.

Action Taken When the DTC Sets

    • The PCM will illuminate the malfunction indicator lamp (MIL) during the second consecutive trip in which the diagnostic test has been run and failed.
    • The PCM will store conditions which were present when the DTC set as Freeze Frame/Failure Records data.

Conditions for Clearing the MIL/DTC

    • The PCM will turn OFF the malfunction indicator lamp (MIL) during the third consecutive trip in which the diagnostic has run and passed.
    • The history DTC will clear after 40 consecutive warm-up cycles have occurred without a malfunction.
    • The DTC can be cleared by using a scan tool.

Diagnostic Aids

Important:: Be sure to inspect PCM and engine grounds for being secure and clean.

Inspect for the following conditions:

Many situations may lead to an intermittent condition. Perform each inspection or test as directed.

Important: :  Remove any debris from the connector surfaces before servicing a component. Inspect the connector gaskets when diagnosing or replacing a component. Ensure that the gaskets are installed correctly. The gaskets prevent contaminate intrusion.

    • Loose terminal connection
       -  Use a corresponding mating terminal to test for proper tension. Refer to Testing for Intermittent Conditions and Poor Connections , and to Connector Repairs in Wiring Systems for diagnosis and repair.
       -  Inspect the harness connectors for backed out terminals, improper mating, broken locks, improperly formed or damaged terminals, and faulty terminal to wire connection. Refer to Testing for Intermittent Conditions and Poor Connections , and to Connector Repairs in Wiring Systems for diagnosis and repair.
    • Damaged harness--Inspect the wiring harness for damage. If the harness inspection does not reveal a problem, observe the display on the scan tool while moving connectors and wiring harnesses related to the sensor. A change in the scan tool display may indicate the location of the fault. Refer to Wiring Repairs in Wiring Systems for diagnosis and repair.
    •  Inspect the powertrain control module (PCM) and the engine grounds for clean and secure connections. Refer to Wiring Repairs in Wiring Systems for diagnosis and repair.

If the condition is determined to be intermittent, reviewing the Snapshot or Freeze Frame/Failure Records may be useful in determining when the DTC or condition was identified.

Test Description

The numbers below refer to the step numbers on the diagnostic table.

  1. This vehicle is equipped with a PCM which utilizes an electrically erasable programmable read-only memory (EEPROM). When you replace the PCM, you must program the new PCM. Refer to PCM Replacement/Programming .

DTC P1635 - 5 Volt Reference A Circuit

Step

Action

Values

Yes

No

1

Did you perform the Powertrain On-Board Diagnostic (OBD) System Check?

--

Go to Step 2

Go to Powertrain On Board Diagnostic (OBD) System Check - Automatic Transmission

2

  1. Check the PCM and the engine grounds. Ensure that the grounds are clean and secure.
  2. If you find a problem, repair the condition as necessary. Refer to Wiring Repairs in Wiring Systems.

Did you find and correct the condition?

--

Go to Step 11

Go to Step 3

3

  1. Turn OFF the ignition.
  2. Disconnect the EGR.
  3. Turn ON the ignition.
  4. Use a DMM in order to measure the voltage between the 5-volt Reference A circuit and an engine ground.

Is the voltage near the specified value?

5 V

Go to Step 5

Go to Step 4

4

Is the voltage near the specified value?

0 V

Go to Step 6

Go to Step 8

5

  1. Reconnect the EGR valve.
  2. Disconnect the throttle position sensor.
  3. Use a DMM in order to measure the voltage between the 5-volt Reference A circuit and an engine ground.

Is voltage near the specified value?

5 V

Go to Step 10

Go to Step 9

6

  1. Monitor the DMM while disconnecting all other devices that are connected to the 5-volt Reference A one at a time.
  2. If the voltage changes when one of the above components is disconnected, replace the component. Refer to the appropriate replacement procedure.

Did you replace a component?

--

Go to Step 11

Go to Step 7

7

  1. Turn OFF the ignition.
  2. Disconnect the PCM.
  3. Check the 5-volt Reference A circuit for a short to ground.
  4. If you find a problem, repair the condition as necessary. Refer to Wiring Repairs in Wiring Systems.

Did you find and correct the condition?

--

Go to Step 11

Go to Step 10

8

  1. Turn OFF the ignition.
  2. Disconnect the PCM.
  3. Turn ON the ignition.
  4. Check the 5-volt Reference A circuit for a short to voltage.
  5. If you find a problem, repair the condition as necessary. Refer to Wiring Repairs in Wiring Systems.

Did you find and correct the condition?

--

Go to Step 11

Go to Step 10

9

Replace the EGR valve. Refer to Exhaust Gas Recirculation Valve Replacement .

Is the action complete?

--

Go to Step 11

--

10

Important:: The replacement PCM must be programmed.

Replace PCM. Refer to Powertrain Control Module Replacement/Programming .

Is the action complete?

--

Go to Step 11

--

11

  1. Review and record the scan tool Failure Records data.
  2. Clear the DTCs.
  3. Operate the vehicle within the Failure Records conditions.
  4. Use a scan tool in order to monitor the Specific DTC info for DTC P1635 until the DTC P1635 test runs.

Does the scan tool indicate that DTC P1635 failed this ignition?

--

Go to Step 2

System OK