GM Service Manual Online
For 1990-2009 cars only
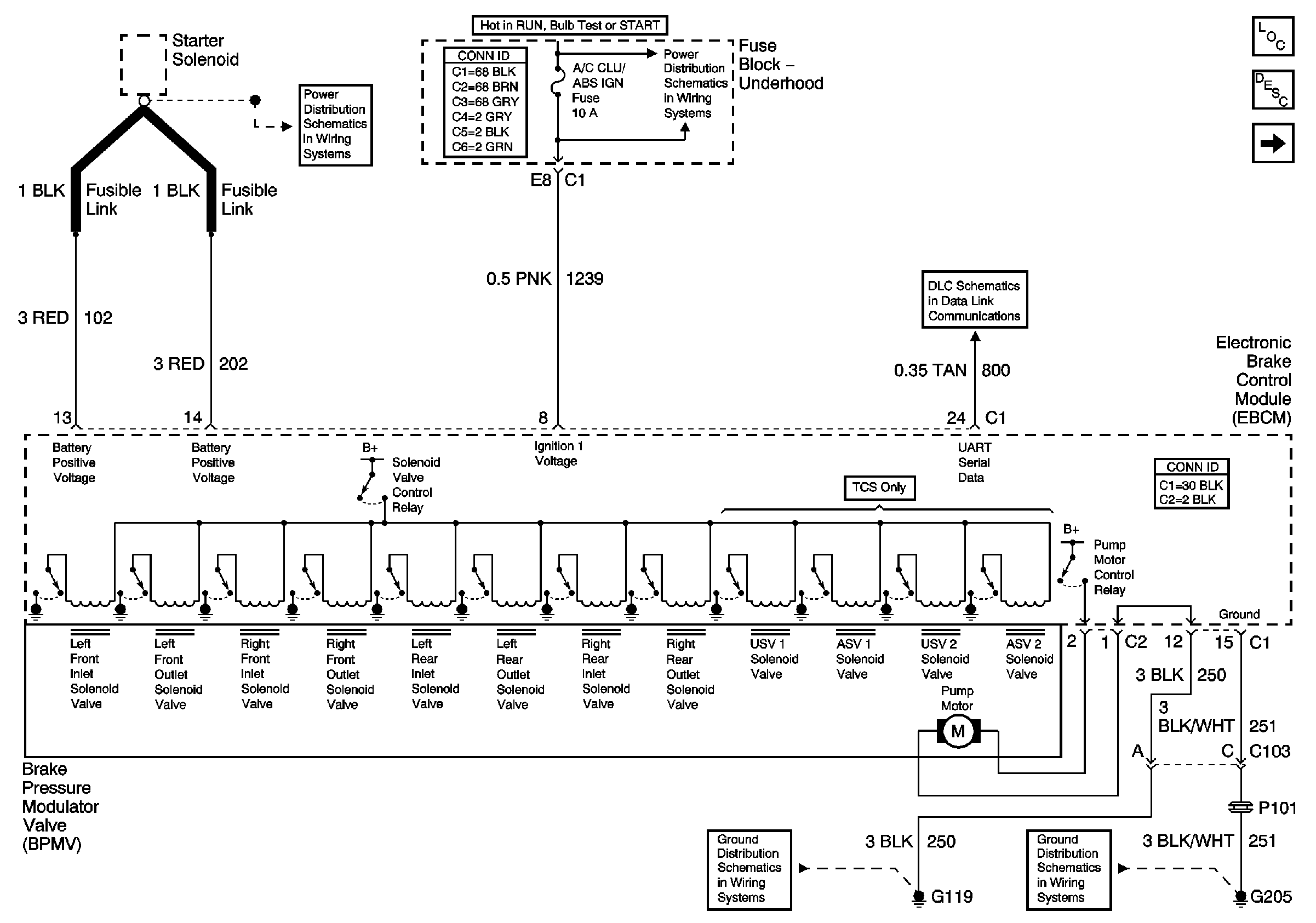
Figure 1:

Power, Ground, Brake Pressure Modulator Valves


Object Number: 676097  Size: FS
BATT-MAIN 1-2, IGN-MAIN 1-2, HEADLAMPS, PARK LP, RADIO, AIR, ECM SENSE, ALT SENSE, B/U LAMP, COOL FAN 1-2, FUEL PUMP, FOG LP, HORN, INJ, IGN 1-UH, ELEK IGN, TCC,
TCC, ELEK IGN, and A/C CLU/ABS IGN Fuses
Data Link Connector (DLC) Schematics
G119
G205
Master Electrical Component List
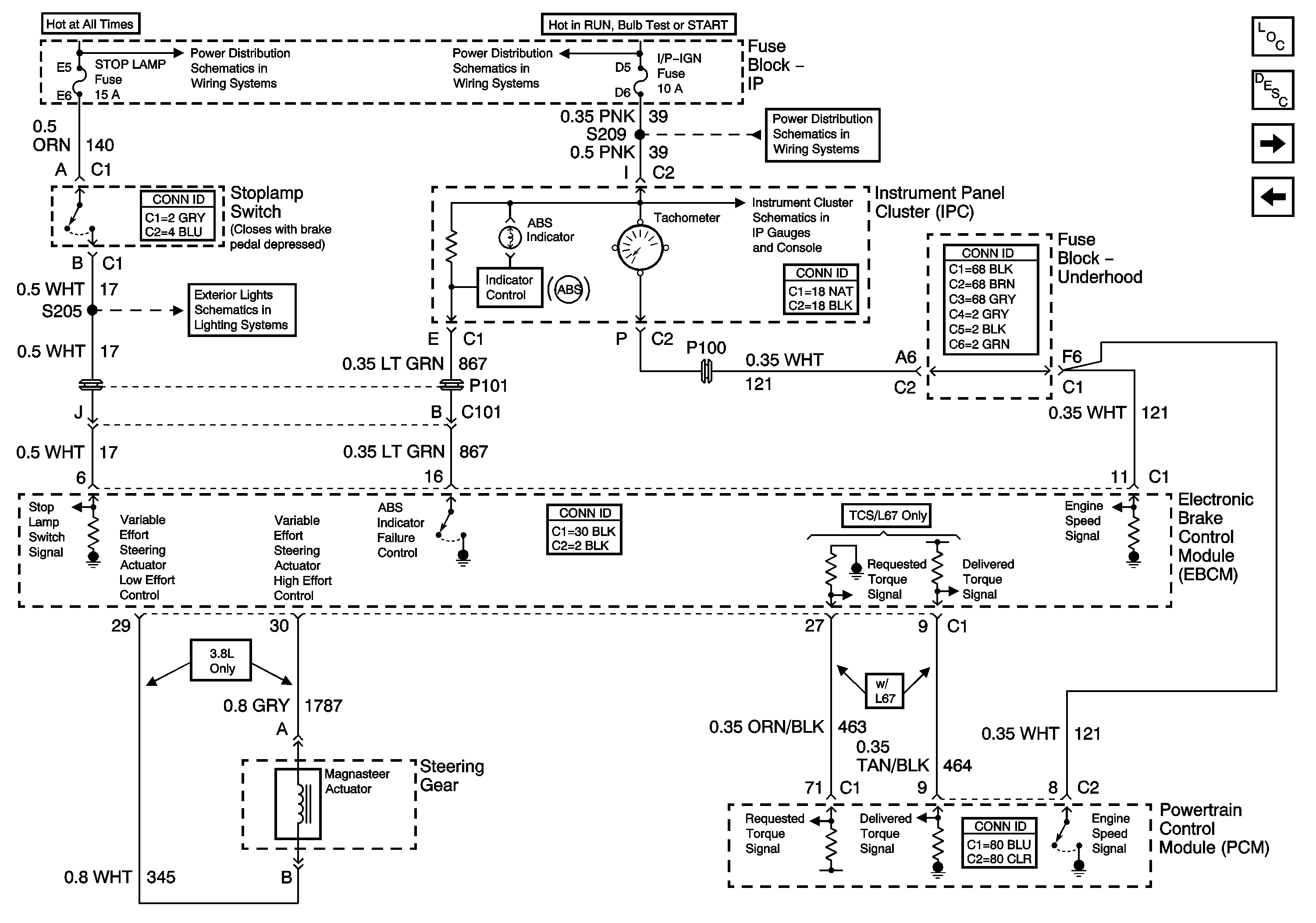
ABS Indicator, Torque Signals, and Steering
Figure 2:

ABS Indicator, Torque Signals, and Steering


Object Number: 676100  Size: FS
BATT-MAIN 1-2, IGN-MAIN 1-2, HEADLAMPS, PARK LP, RADIO, AIR, ECM SENSE, ALT SENSE, B/U LAMP, COOL FAN 1-2, FUEL PUMP, FOG LP, HORN, INJ, IGN 1-UH, ELEK IGN, TCC,
IP-IGN, CRUISE, ECM Fuses
IP-IGN, CRUISE, ECM Fuses
Gauges
Master Electrical Component List
Traction Control
Power, Ground, Brake Pressure Modulator Valves
Figure 3:

Traction Control


Object Number: 676107  Size: FS
Driver Information Center (DIC) (W/O U40)
Driver Information Center (DIC) (W/U40)
G200, S211, S285
Master Electrical Component List
Wheel Speed Sensors
ABS Indicator, Torque Signals, and Steering
Figure 4:

Wheel Speed Sensors


Object Number: 676109  Size: FS
Antilock Brake System Schematic Icons
Antilock Brake System Schematic Icons
Antilock Brake System Schematic Icons
Antilock Brake System Schematic Icons
Antilock Brake System Schematic Icons
Master Electrical Component List
Traction Control