GM Service Manual Online
For 1990-2009 cars only

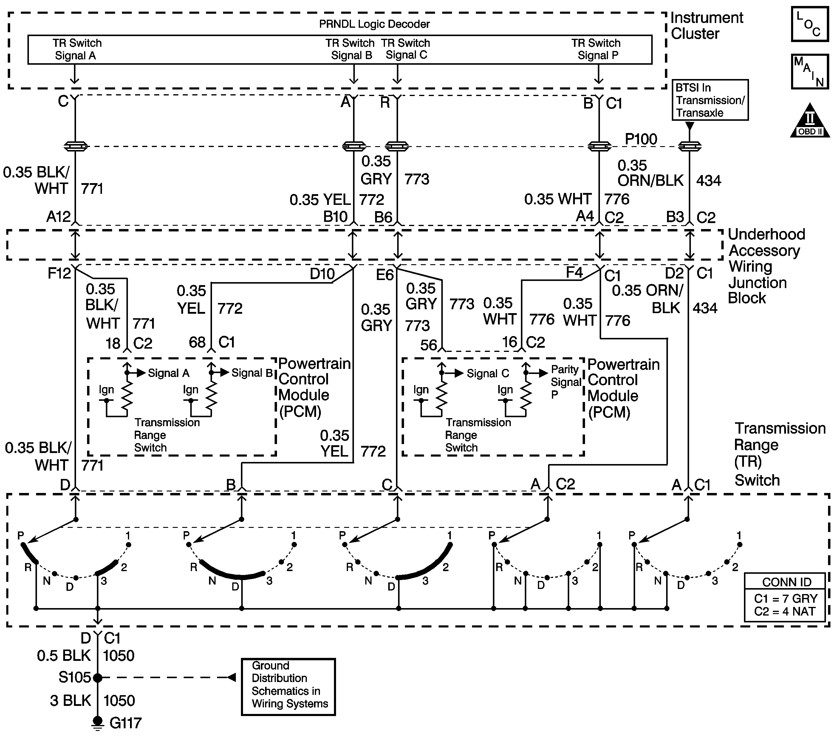
Object Number: 652026  Size: LF
Master Electrical Component List
Automatic Transmission Controls Schematics
OBD II Symbol Description Notice

Circuit Description

The transmission range (TR) switch is part of the park/neutral position and back-up lamp switch assembly and is externally mounted on the transmission manual shaft. The TR switch is a multi-signal switch. The PCM supplies ignition voltage to the TR switch on four signal circuits (A, B, C, and P). Each gear selector lever position grounds one or more of the switch circuits. In order to determine the gear range selected by the driver, the PCM compares the voltage combinations on the signal circuits to a look up table stored in the PCM memory.

The PCM detects the selected gear range by the state change of the switch input. Refer to Transmission Range Switch Logic .

The switch input to the PCM is represented on the Scan Tool as HI and LOW. HI indicates an ignition voltage signal. LOW indicates a zero voltage signal. The four parameters represent transmission range switch signal A, B, C and Parity.

Test Description

The numbers below refer to the step numbers on the diagnostic table.

  1. If the Scan Tool display indicates the proper range positions in this step, a condition exists between the underhood accessory wiring junction block and the instrument cluster.

  2. By disconnecting the transmission range switch, the ground path of all TR switch circuits would be removed and the PCM would recognize all circuits as open. The Scan Tool will display HI for all range signals.

  3. This step tests the TR switch wiring for an open or the lack of the signal voltage from the PCM.

  4. This step tests the TR switch wiring and the PCM by providing a ground path through a fused jumper wire. When grounded, the Scan Tool range signal A should change to LOW.

  5. This step tests the TR switch wiring and the PCM by providing a ground path through a fused jumper wire. When grounded, the Scan Tool range signal B should change to LOW. If other circuits also indicate LOW, they are shorted together.

Range Selector Display Inoperative or Displays Incorrect Range

Step

Action

Value(s)

Yes

No

1

  1. Turn ON the ignition with the engine OFF.
  2. Observe the range selector display on the instrument panel while selecting each transmission range: P, R, N, D4, D3, D2 and D1.
  3. Place the transmission in PARK.

Does the range selector display match each range position?

--

Go to Intermittent Conditions (3.1 L) or Intermittent Conditions (3.8 L) in Engine Controls

Go to Step 2

2

  1. Install a Scan Tool .
  2. Turn ON the ignition with the engine OFF.
  3. Select TR Sw. on the Scan Tool .
  4. With the Scan Tool , observe the TR Sw. display while selecting each transmission range: P, R, N, D4, D3, D2 and D1.

Does the Scan Tool TR Sw. display match each range position?

--

Go to Step 15

Go to Step 3

3

  1. Disconnect the 68 pin C1 connector (BLK) at the underhood accessory wiring junction block.
  2. With the Scan Tool , observe the TR Sw. display while selecting each transmission range: P, R, N, D4, D3, D2 and D1.

Does the Scan Tool TR Sw. display match each range position?

--

Go to Step 16

Go to Step 4

4

  1. Inspect the range switch for the following:
  2. • Damage
    • Loose or missing mounting hardware
    • Proper adjustment
  3. Inspect the shift cable for the following:
  4. • Damaged or stretched cable
    • Proper adjustment

Refer to the following procedures:

Did you find and correct a condition?

--

Go to Step 20

Go to Step 5

5

With the Scan Tool , observe the TR Sw. A/B/C/P display.

Does the Scan Tool TR Sw. A/B/C/P parameter indicate HI for all range signals in all range positions?

--

Go to Step 14

Go to Step 6

6

  1. Turn OFF the ignition.
  2. Disconnect the TR switch 4-way connector.
  3. Turn ON the ignition with the engine OFF.

Does the Scan Tool TR Sw. A/B/C/P parameter indicate HI for all range signals in all range positions?

--

Go to Step 7

Go to Step 11

7

  1. Using the J 39200 digital multimeter (DMM) and the J 35616 connector test adapter kit, measure the voltage from terminal A of the TR switch 4-way connector to ground.
  2. Measure the voltage from terminal B of the TR switch 4-way connector to ground.
  3. Measure the voltage from terminal C of the TR switch 4-way connector to ground.
  4. Measure the voltage from terminal D of the TR switch 4-way connector to ground.

Does the voltage measure within the specified value at all four terminals?

10-12 V

Go to Step 8

Go to Step 12

8

Connect a fused jumper wire from terminal D of the TR switch 4-way connector (signal A circuit) to ground while monitoring the Scan Tool TR Sw. A/B/C/P parameter.

When the signal A circuit (CKT 771) is grounded, do any other signal circuits indicate LOW?

--

Go to Step 13

Go to Step 9

9

Connect a fused jumper wire from terminal B of the TR switch 4-way connector (signal B circuit) to ground while monitoring the Scan Tool TR Sw. A/B/C/P parameter.

When the signal B circuit (CKT 772) is grounded, do any other signal circuits indicate LOW?

--

Go to Step 13

Go to Step 10

10

Connect a fused jumper wire from terminal C of the TR switch 4-way connector (signal C circuit) to ground while monitoring the Scan Tool TR Sw. A/B/C/P parameter.

When the signal C circuit (CKT 773) is grounded, do any other signal circuits indicate LOW?

--

Go to Step 13

Go to Step 18

11

Test the signal circuits (CKTs 771, 772, 773 and 776) of the TR switch that did not indicate HI for a short to ground.

Refer to Circuit Testing and Wiring Repairs in Wiring Systems.

Did you find and correct the condition?

--

Go to Step 20

Go to Step 19

12

Test the signal circuits (CKTs 771, 772, 773 and 776) of the TR switch that did not indicate proper voltage for an open between the PCM and the TR switch.

Refer to Circuit Testing and Wiring Repairs in Wiring Systems.

Did you find and correct the condition?

--

Go to Step 20

Go to Step 19

13

Test the affected signal circuits of the TR switch for a shorted together condition between the PCM and the TR switch.

Refer to Circuit Testing and Wiring Repairs in Wiring Systems.

Did you find and correct the condition?

--

Go to Step 20

Go to Step 19

14

Test the ground circuit (CKT 1050) of the TR switch for an open.

Refer to Circuit Testing and Wiring Repairs in Wiring Systems.

Did you find and correct the condition?

--

Go to Step 20

Go to Step 18

15

Test the signal circuits (CKTs 771, 772, 773 and 776) of the TR switch for an open between the underhood accessory wiring junction block and the instrument cluster.

Refer to Circuit Testing and Wiring Repairs in Wiring Systems.

Did you find and correct the condition?

--

Go to Step 20

Go to Step 17

16

  1. Test the signal circuits (CKTs 771, 772, 773 and 776) of the TR switch for a short to ground between the underhood accessory wiring junction block and the instrument cluster.
  2. Test the signal circuits (CKTs 771, 772, 773 and 776) of the TR switch for a short together between the underhood accessory wiring junction block and the instrument cluster as follows:
  3. • Test from signal A to signal B, C and P.
    • Test from signal B to signal C and P.
    • Test from signal C to signal P.

Refer to Circuit Testing and Wiring Repairs in Wiring Systems.

Did you find and correct the condition?

--

Go to Step 20

Go to Step 17

17

Refer to Diagnostic System Check - Instrument Cluster in Instrument Panel, Gauges, and Console.

--

Go to Step 20

--

18

Replace the TR switch (this switch is part of the park/neutral position (PNP) switch).

Refer to Park/Neutral Position Switch Replacement .

Did you complete the replacement?

--

Go to Step 20

--

19

Replace the PCM.

Refer to Powertrain Control Module Replacement (3.1 L) or Powertrain Control Module Replacement (3.8 L) in Engine Controls.

Did you complete the replacement?

--

Go to Step 20

--

20

Perform the following procedure in order to verify the repair:

  1. Turn ON the ignition with the engine OFF.
  2. Observe the range selector display on the instrument cluster while selecting each transmission range: P, R, N, D4, D3, D2 and D1.
  3. Place the transmission in PARK.

Does the range selector display match each range position?

--

System OK

Go to Step 1