GM Service Manual Online
For 1990-2009 cars only
Makes
🢒
Pontiac
🢒
2002
🢒
Grand Prix
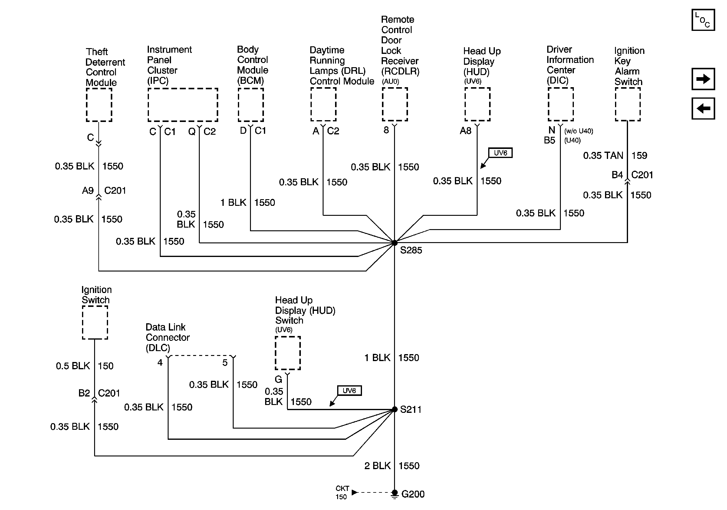
🢒 G200, S211, S285
G200, S211, S285
G200, S211, S285
Master Electrical Component List
G201
G200, S230
G200, S213, S375