GM Service Manual Online
For 1990-2009 cars only
Makes
🢒
Pontiac
🢒
2002
🢒
Grand Prix
🢒 Controlled/Monitored Subsystem References
Controlled/Monitored Subsystem References
Controlled/Monitored Subsystem References
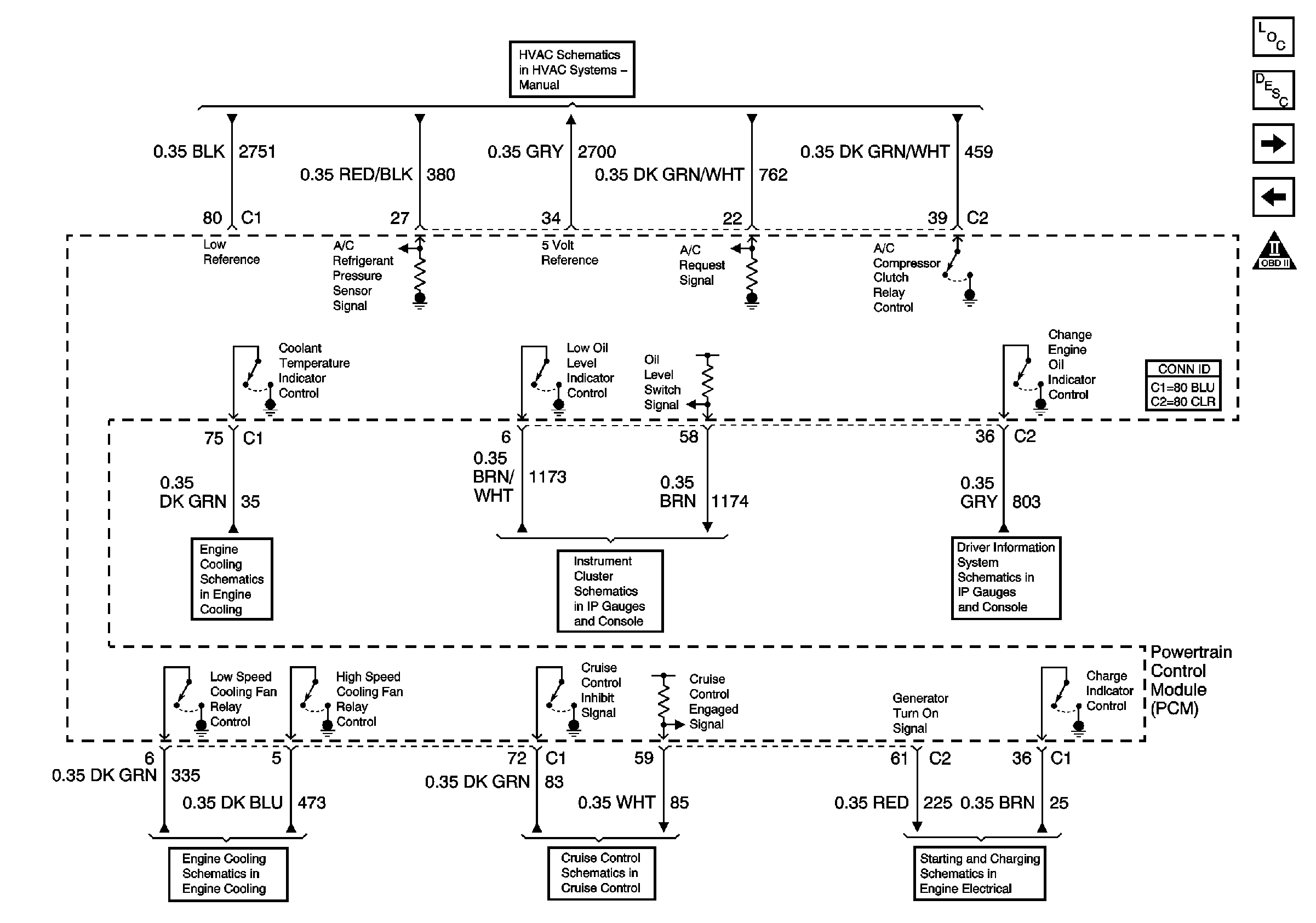
Master Electrical Component List
Powertrain Control Module Description
Transmission Controls References
Secondary Air Injection, Idle Air Control Valve
OBD II Symbol Description Notice
A/C Compressor Controls
Indicators
Indicators
Driver Information Center (DIC) (W/O U40)
Fans
Cruise Control
Generator