GM Service Manual Online
For 1990-2009 cars only
Makes
🢒
Pontiac
🢒
2002
🢒
Grand Prix
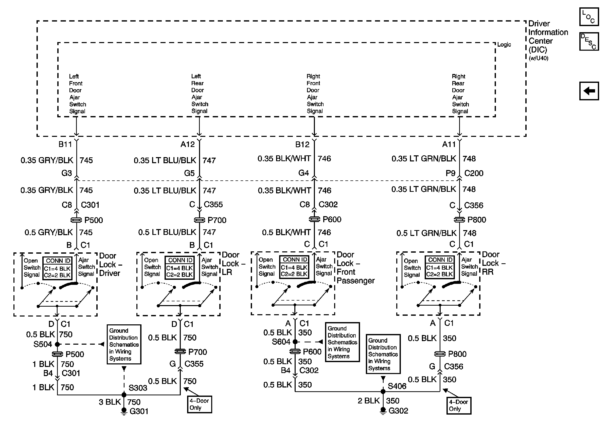
🢒 Driver Information Center Door Ajar Indicators W/RPO U40
Driver Information Center Door Ajar Indicators W/RPO U40
Driver Information Center Door Ajar Indicators W/RPO U40
Master Electrical Component List
Door Ajar Indicator Description and Operation
Driver Information Center Door Ajar Indicators W/O RPO U40
G301
G302, S390, S604
G302, S402, S406, S416