GM Service Manual Online
For 1990-2009 cars only
Makes
🢒
Pontiac
🢒
2002
🢒
Grand Prix
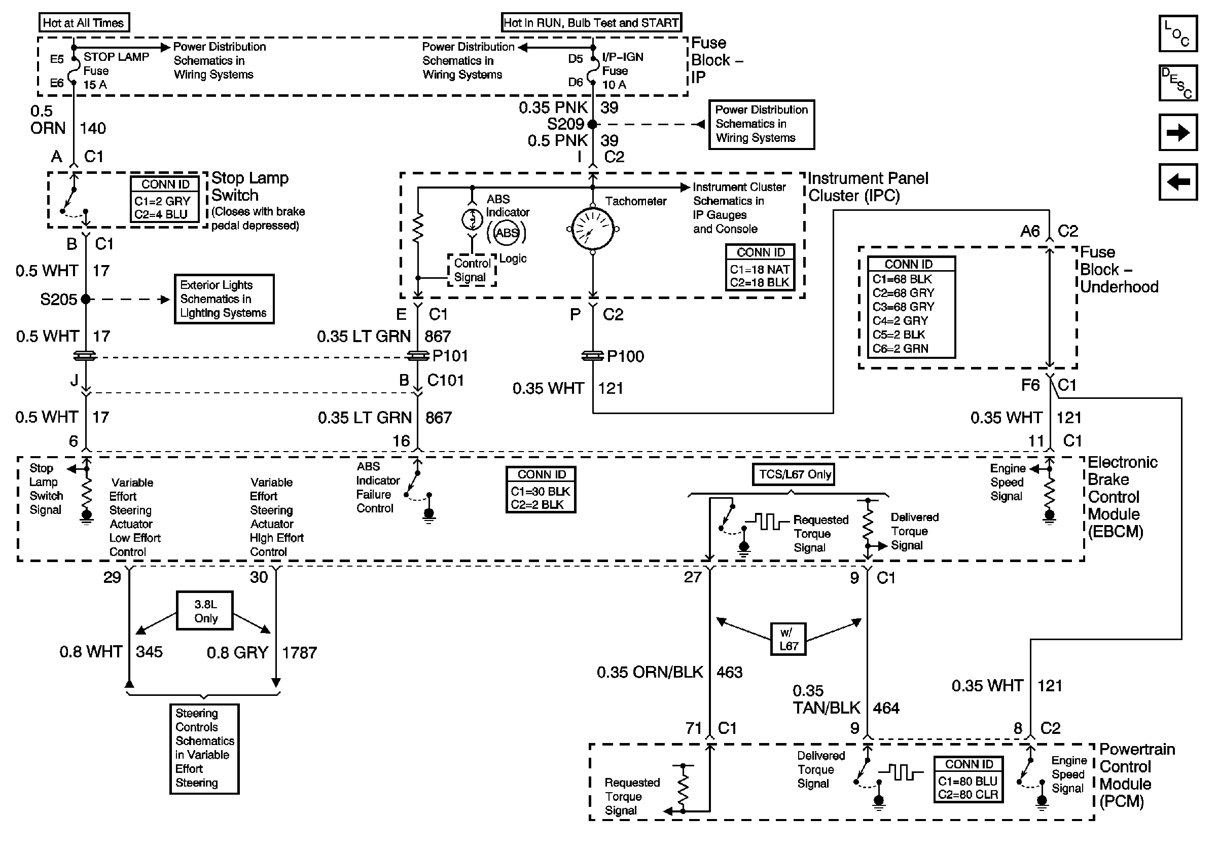
🢒 ABS Indicator, Torque Signals, and Steering
ABS Indicator, Torque Signals, and Steering
ABS Indicator, Torque Signals, and Steering
Master Electrical Component List
ABS Description and Operation
Traction Control
Power, Ground, Brake Pressure Modulator Valves
BATT-MAIN 1, ONSTAR, STOP LAMP, INT LAMP, CIG LTR Fuses
IP-IGN, CRUISE, ECM Fuses
IP-IGN, CRUISE, ECM Fuses
Gauges
Rear Turn Signals and Stop Lamps
Steering Controls